LEMON Manuals: Even more car manuals for everyone: 1960-2025
Home >> Toyota >> 2012 >> Matrix Base, Standard Trans >> Repair and Diagnosis >> External Pages >> Different variant/trim >> Section 12 (Automatic Transmission (U341E) (Service Information)) >> Automatic Transaxle Unit >> Reassembly >> Reassembly
April 5, 2026: LEMON Manuals is launched! Read the announcement.

Automatic Transaxle Unit: Reassembly: Reassembly

WARNING: This page is about a different variant/trim than selected.
  1. BEARING POSITION 
    1. Check each bearing position and installation direction.
      Fig 1: Exploded View Of Bearing
      GTY221310Courtesy of © TOYOTA, LICENSE AGREEMENT TMS1002
      Mark Front Race Diameter
      Inside/Outside (mm (in.))
      Thrust Bearing Diameter
      Inside/Outside (mm (in.))
      Rear Race Diameter
      Inside/Outside (mm (in.))
      A - 26 (1.023) / 43.4 (1.709) -
      B - 21 (0.827) / 34.85 (1.372) -
      C - 45.1 (1.76) / 65.1 (2.56) -
      D - 31.9 (1.26) / 48 (1.89) -
      E 36.75 (1.45) / 49.95 (1.97) 33.9 (1.33) / 52.0 (2.047) 33.9 (1.33) / 51.7 (2.035)
      F - 43.45 (1.71) / 58.5 (2.303) -
      G - 29.4 (1.16) / 44.4 (1.75) -
      H 23.5 (0.925) / 37.3 (1.47) 22.5 (0.886) / 37.3 (1.47) 20.3 (0.799) / 33.8 (1.33)
      I - 43.45 (1.71) / 61.2 or 61.74 (2.41 or 2.43) -
  2. INSPECT DIFFERENTIAL CASE TAPERED ROLLER BEARING PRELOAD  See step  15
  3. INSTALL NO. 1 TRANSAXLE CASE OIL SEAL 
    1. Coat the lip of a new No. 1 transaxle case oil seal with MP grease.
      Fig 2: Driving In No. 1 Transaxle Case Oil Seal
      GTY190007Courtesy of © TOYOTA, LICENSE AGREEMENT TMS1002
    2. Using SST and a hammer, drive in the No. 1 transaxle case oil seal.
      • SST: 09554-14010 
      • SST: 09950-70010 
        • 09951-07100

      Oil seal driven in depth

      -0.5 to 0.5 mm (-0.0197 to 0.0197 in.)

  4. INSTALL NO. 2 TRANSAXLE CASE OIL SEAL 
    1. Coat the lip of a new No. 2 transaxle case oil seal with MP grease.
      Fig 3: Driving In No. 2 Transaxle Case Oil Seal
      GTY187304Courtesy of © TOYOTA, LICENSE AGREEMENT TMS1002
    2. Using SST and a hammer, drive in the No. 2 transaxle case oil seal.
      • SST: 09726-27012 
        • 09726-02041
      • SST: 09950-70010 
        • 09951-07150

      Oil seal driven in depth

      2.2 to 3.2 mm (0.0866 to 0.126 in.)

  5. INSTALL FRONT DRIVE PINION REAR TAPERED ROLLER BEARING 
    1. Install the No. 1 transaxle case plate onto the transaxle case.
      Fig 4: Identifying Transaxle Case Plate No. 1
      GTY166826Courtesy of © TOYOTA, LICENSE AGREEMENT TMS1002
    2. Using SST and a hammer, install the front drive pinion rear tapered roller bearing to the transaxle case.
      Fig 5: Installing Front Drive Pinion Rear Tapered Roller Bearing
      GTY167110Courtesy of © TOYOTA, LICENSE AGREEMENT TMS1002
      • SST: 09950-60010 
        • 09951-00610
      • SST: 09950-70010 
        • 09951-07150
  6. INSTALL FRONT DRIVE PINION FRONT TAPERED ROLLER BEARING 
    1. Install the thrust bearing to the transaxle housing.
    2. Using SST and a press, install a new front drive pinion front tapered roller bearing to the transaxle housing.
      Fig 6: Installing Front Drive Pinion Front Tapered Roller Bearing
      GTY159380Courtesy of © TOYOTA, LICENSE AGREEMENT TMS1002
      • SST: 09950-60010 
        • 09951-00650
      • SST: 09950-70010 
        • 09951-07150
  7. INSTALL DIFFERENTIAL GEAR LUBE APPLY TUBE 
    1. Install the differential gear lube apply tube to the transaxle housing.
      Fig 7: Locating Differential Gear Lube Apply Tube
      GTY159376Courtesy of © TOYOTA, LICENSE AGREEMENT TMS1002
  8. INSTALL BEARING LOCK PLATE 
    1. Install the bearing lock plate to the transaxle housing with the bolt.
      Fig 8: Locating Bearing Lock Plate Bolt
      GTY165722Courtesy of © TOYOTA, LICENSE AGREEMENT TMS1002

      Torque: 11 N*m (112 kgf*cm, 8 ft.*lbf) 

  9. INSTALL COUNTER DRIVE GEAR HOLE SNAP RING 
    1. Using a screwdriver, install the counter drive gear hole snap ring to the transaxle case.
      Fig 9: Identifying Counter Drive Gear Hole Snap Ring
      GTY159445Courtesy of © TOYOTA, LICENSE AGREEMENT TMS1002
  10. INSTALL COUNTER DRIVE GEAR BEARING LH 
    1. Using SST and a hammer, install the counter drive gear bearing outer race LH to the transaxle case.
      Fig 10: Identifying Counter Drive Gear Bearing LH Outer Race Onto Transaxle Case
      GTY159371Courtesy of © TOYOTA, LICENSE AGREEMENT TMS1002
      • SST: 09950-60020 
        • 09951-00890
      • SST: 09950-70010 
        • 09951-07150
    2. Install the counter drive gear bearing inner race LH and angular ball to the transaxle case.
  11. INSTALL COUNTER DRIVE GEAR BEARING RH 
    1. Using SST and a hammer, install the counter drive gear bearing outer race RH to the transaxle case.
      Fig 11: Identifying Counter Drive Gear Bearing Onto Transaxle Case
      GTY159370Courtesy of © TOYOTA, LICENSE AGREEMENT TMS1002
      • SST: 09950-60020 
        • 09951-00890
      • SST: 09950-70010 
        • 09951-07150
    2. Install the counter drive gear bearing RH to the transaxle case.
  12. INSTALL MANUAL VALVE LEVER SHAFT OIL SEAL 
    1. Coat the lip of a new manual valve lever shaft oil seal with MP grease.
    2. Using SST and a hammer, install the new manual valve lever shaft oil seal.
      Fig 12: Installing Manual Valve Lever Shaft Oil Seal
      GTY204941Courtesy of © TOYOTA, LICENSE AGREEMENT TMS1002
      • SST: 09950-60010 
        • 09951-00220
      • SST: 09950-70010 
        • 09951-07100

      Oil seal driven in depth

      -0.5 to 0.5 mm (-0.0197 to 0.0197 in.)

  13. INSTALL DIFFERENTIAL DRIVE PINION 
    1. Using SST and a press, install the differential drive pinion to the counter driven gear.
      Fig 13: Installing Differential Drive Pinion
      GTY164963Courtesy of © TOYOTA, LICENSE AGREEMENT TMS1002
      • SST: 09950-60010 
        • 09951-00350
      • SST: 09950-70010 
        • 09951-07150
      NOTE:

      When replacing the counter driven gear, replace the counter drive gear in the transaxle case as well.

      Press in the differential drive pinion until it comes into contact with the counter driven gear.

  14. INSTALL DIFFERENTIAL DRIVE PINION PLUG 
    1. Using SST and a plastic hammer, install a new differential drive pinion plug to the differential drive pinion.
      Fig 14: Installing Differential Drive Pinion Plug
      GTY179035Courtesy of © TOYOTA, LICENSE AGREEMENT TMS1002
      • SST: 09221-25026 
        • 09221-00071

      Standard clearance

      2.5 to 3.5 mm (0.0984 to 0.137 in.)

  15. INSTALL COUNTER DRIVEN GEAR 
    1. Install the counter driven gear and drive pinion thrust bearing to the transaxle case.
      Fig 15: Identifying Counter Driven Gear And Drive Pinion Thrust Bearing
      GTY165022Courtesy of © TOYOTA, LICENSE AGREEMENT TMS1002
  16. INSTALL PARKING LOCK PAWL 
    1. Coat the parking lock pawl shaft with ATF.
    2. Install the parking lock pawl, parking lock pawl shaft torsion spring and parking lock pawl shaft to the transaxle case.
      Fig 16: Locating Parking Lock Pawl Torsion Spring
      GTY159443Courtesy of © TOYOTA, LICENSE AGREEMENT TMS1002
      NOTE:

      Check that the parking lock pawl moves smoothly.

  17. INSTALL MANUAL VALVE LEVER SHAFT 
    1. Install the manual valve lever shaft to the transaxle case.
      Fig 17: Identifying Manual Valve Lever Shaft
      GTY165593Courtesy of © TOYOTA, LICENSE AGREEMENT TMS1002
      NOTE:

      Do not damage the oil seal lip.

  18. INSTALL PARKING LOCK ROD SUB-ASSEMBLY 
    1. Install the parking lock rod sub-assembly to the manual valve lever.
      Fig 18: Identifying Parking Lock Rod
      GTY165851Courtesy of © TOYOTA, LICENSE AGREEMENT TMS1002
  19. INSTALL MANUAL VALVE LEVER SUB-ASSEMBLY 
    1. Coat the manual valve lever sub-assembly with ATF.
    2. Install the manual valve lever and a new manual valve lever spacer to the manual valve lever shaft.
    3. Using a pin punch and hammer, drive in the pin.
      Fig 19: Driving Out Manual Valve Lever Shaft Spring Pin Using Pin Punch
      GTY159444Courtesy of © TOYOTA, LICENSE AGREEMENT TMS1002
    4. Turn the spacer and the lever shaft to align the smaller hole of the spacer with the staking position mark on the lever shaft.
      Fig 20: Turning Spacer And Lever Shaft
      GTY212935Courtesy of © TOYOTA, LICENSE AGREEMENT TMS1002
    5. Using a pin punch, stake the spacer through the small hole.
    6. Check that the spacer does not turn.
  20. INSTALL MANUAL VALVE LEVER SHAFT RETAINER SPRING 
    1. Install the manual valve lever shaft retainer spring to the manual valve lever shaft.
      Fig 21: Identifying Manual Valve Lever Shaft Retainer Spring
      GTY159446Courtesy of © TOYOTA, LICENSE AGREEMENT TMS1002
  21. INSTALL PARKING LOCK PAWL BRACKET 
    1. Install the parking lock pawl bracket, parking lock rod and cam guide to the transaxle case with the 3 bolts.
      Fig 22: Identifying Parking Lock Pawl Bracket Bolts
      GTY164215Courtesy of © TOYOTA, LICENSE AGREEMENT TMS1002

      Torque: 20 N*m (204 kgf*cm, 15 ft.*lbf) 

  22. INSTALL NO. 2 1ST AND REVERSE BRAKE PISTON O-RING 
    1. Coat 2 new No. 2 1st and reverse brake piston O-rings with ATF, and install them to the No. 2 1st and reverse brake piston.
      Fig 23: Identifying O-Rings
      GTY159448Courtesy of © TOYOTA, LICENSE AGREEMENT TMS1002
  23. INSTALL NO. 2 1ST AND REVERSE BRAKE PISTON 
    1. Coat the No. 2 1st and reverse brake piston with ATF, and install it to the transaxle case.
      Fig 24: Identifying No. 2 1st And Reverse Brake Piston
      GTY159381Courtesy of © TOYOTA, LICENSE AGREEMENT TMS1002
      NOTE:

      Do not damage the O-ring.

  24. INSTALL 1ST AND REVERSE BRAKE RETURN SPRING SUB-ASSEMBLY 
    1. Install the 1st and reverse brake return spring sub-assembly to the transaxle case.
      Fig 25: Identifying SST, Press, Screwdriver & Snap Ring
      GTY162539Courtesy of © TOYOTA, LICENSE AGREEMENT TMS1002
    2. Using SST, a press and a screwdriver, install the snap ring.
      • SST: 09387-00070 
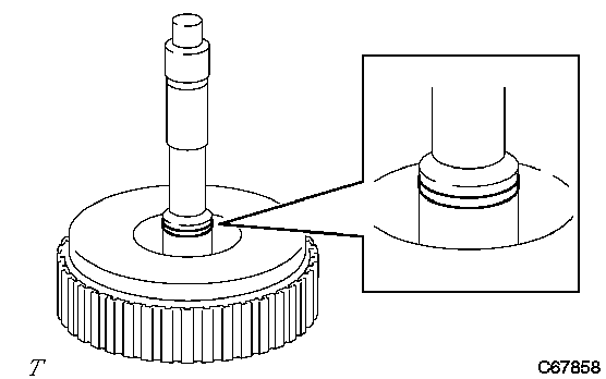
  25. INSTALL COUNTER DRIVE GEAR 
    1. Using SST and a press, install the counter drive gear to the transaxle case.
      Fig 26: Installing Counter Drive Gear Onto Transaxle Case
      GTY157790Courtesy of © TOYOTA, LICENSE AGREEMENT TMS1002
      • SST: 09223-15030 
      • SST: 09527-17011 
      • SST: 09950-60010 
        • 09951-00650
      • SST: 09950-70010 
        • 09951-07150
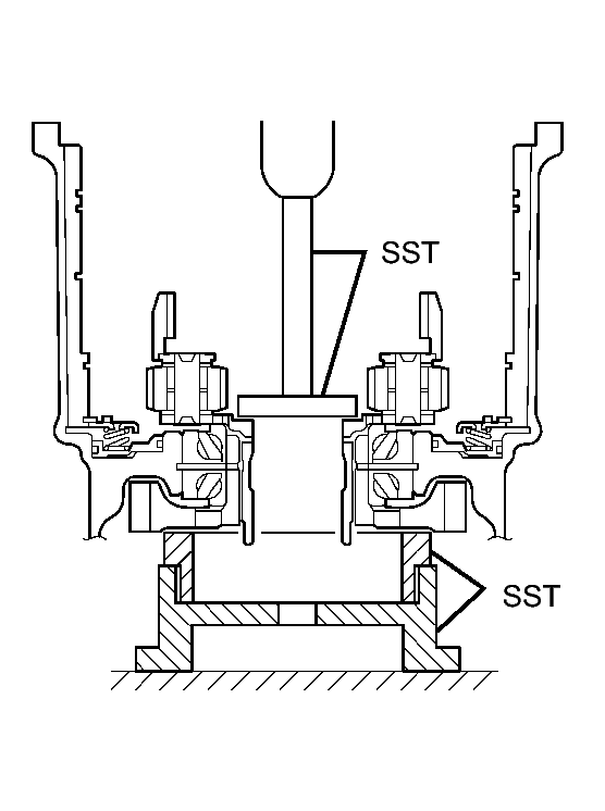
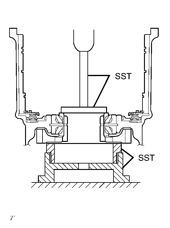
  26. INSTALL PLANETARY GEAR ASSEMBLY 
    1. Using SST and a press, install the planetary gear assembly to the transaxle case.
      Fig 27: Installing Planetary Gear Assembly
      GTY166767Courtesy of © TOYOTA, LICENSE AGREEMENT TMS1002
      • SST: 09950-60010 
        • 09951-00480
      • SST: 09223-15030 
      • SST: 09527-17011 
      • SST: 09950-70010 
        • 09951-07150
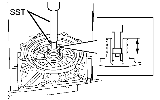
  27. INSTALL COUNTER DRIVE GEAR NUT 
    1. Secure the counter driven gear with the parking lock pawl.
      Fig 28: Identifying Counter Driven Gear With Parking Lock Pawl
      GTY159447Courtesy of © TOYOTA, LICENSE AGREEMENT TMS1002
    2. Using SST, install a new lock nut washer and nut.
      Fig 29: Installing Lock Washer And Nut
      GTY159374Courtesy of © TOYOTA, LICENSE AGREEMENT TMS1002
      • SST: 09387-00121 

      Torque: 280 N*m (2855 kgf*cm, 207 ft.*lbf) 

    3. Using SST and a small torque wrench, measure the rotating torque while turning the counter drive gear at 60 turns per minute.
      Fig 30: Measuring Rotating Torque
      GTY159375Courtesy of © TOYOTA, LICENSE AGREEMENT TMS1002
      • SST: 09387-00121 

      Rotating torque

      0.20 to 0.49 N*m (2.0 to 5.0 kgf*cm, 1.8 to 4.3 in.*lbf)

    4. Using SST and a hammer, stake the lock nut washer.
      Fig 31: Staking Lock Nut Washer
      GTY165216Courtesy of © TOYOTA, LICENSE AGREEMENT TMS1002
      • SST: 09930-00010 
  28. INSTALL 1ST AND REVERSE BRAKE DISC 
    1. Install the 4 plates, 4 discs and flange to the transaxle case.
      Fig 32: Identifying Plates, Discs And Flange
      GTY157791Courtesy of © TOYOTA, LICENSE AGREEMENT TMS1002
    2. Using a screwdriver, install the snap ring.
  29. INSPECT PACK CLEARANCE OF 1ST AND REVERSE BRAKE  See step  16
  30. INSTALL FRONT PLANETARY SUN GEAR 
    1. Install the planetary sun gear and needle roller bearing to the planetary gear assembly.
      Fig 33: Identifying Planetary Sun Gear And Needle Roller Bearing
      GTY164926Courtesy of © TOYOTA, LICENSE AGREEMENT TMS1002
  31. INSTALL 2ND BRAKE CYLINDER O-RING 
    1. Coat 2 new 2nd brake cylinder O-rings with ATF, and install them into the 2nd brake cylinder.
      Fig 34: Identifying 2nd Brake Cylinder O-Ring
      GTY159425Courtesy of © TOYOTA, LICENSE AGREEMENT TMS1002
      NOTE:

      Do not damage the O-rings.

  32. INSTALL 2ND BRAKE PISTON 
    1. Coat the 2nd brake piston with ATF, and install it into the 2nd brake cylinder.
      Fig 35: Installing 2nd Brake Piston
      GTY164866Courtesy of © TOYOTA, LICENSE AGREEMENT TMS1002
      WARNING:

      Do not damage the O-rings when pressing the 2nd brake piston into the 2nd brake cylinder by hand.

  33. INSTALL 2ND BRAKE PISTON RETURN SPRING SUB-ASSEMBLY 
    1. Install the piston return spring.
      Fig 36: Identifying 2nd Brake Piston Return Spring Sub-Assembly
      GTY163430Courtesy of © TOYOTA, LICENSE AGREEMENT TMS1002
    2. Place SST on the piston return spring, and compress the piston return spring with a press.
      Fig 37: Removing/Installing Snap Ring
      GTY165904Courtesy of © TOYOTA, LICENSE AGREEMENT TMS1002
      • SST: 09387-00060 
    3. Using a screwdriver, install the snap ring.
      NOTE:

      Make sure that the end gap of the snap ring is not aligned with the piston return spring claw.

  34. INSTALL OUTER RACE RETAINER 
    1. Install the outer race retainer to the No. 2 one-way clutch.
      Fig 38: Locating Outer Race Retainer
      GTY159348Courtesy of © TOYOTA, LICENSE AGREEMENT TMS1002
  35. INSTALL NO. 2 ONE-WAY CLUTCH 
    1. Install the No. 2 one-way clutch and 2nd brake piston assembly to the rear planetary gear assembly.
      Fig 39: Identifying 2nd Brake Cylinder And 1-Way Clutch No. 2
      GTY159349Courtesy of © TOYOTA, LICENSE AGREEMENT TMS1002
  36. INSTALL REAR PLANETARY GEAR THRUST NEEDLE ROLLER BEARING 
    1. Install the No. 2 thrust bearing race, the planetary gear thrust needle roller bearing and thrust bearing race to the rear planetary gear assembly.
      Fig 40: Identifying No. 2 Thrust Bearing Race, Planetary Gear Thrust Needle Roller Bearing And Thrust Bearing Race
      GTY159365Courtesy of © TOYOTA, LICENSE AGREEMENT TMS1002
  37. INSTALL REAR PLANETARY GEAR ASSEMBLY 
    1. Install the rear planetary gear assembly to the transaxle case.
      Fig 41: Identifying Rear Planetary Gear Assembly
      GTY157792Courtesy of © TOYOTA, LICENSE AGREEMENT TMS1002
    2. Using a screwdriver, install the snap ring.
  38. INSPECT NO. 2 ONE-WAY CLUTCH  See step  17
  39. INSTALL 2ND BRAKE PISTON SLEEVE 
    1. Install the 2nd brake piston sleeve to the transaxle case.
      Fig 42: Identifying 2nd Brake Piston Sleeve
      GTY159351Courtesy of © TOYOTA, LICENSE AGREEMENT TMS1002
  40. INSTALL 2ND BRAKE DISC 
    1. Install the 4 discs, 3 No. 1 2nd brake plates and 2 2nd brake flanges to the transaxle case.
      Fig 43: Identifying Discs And No. 1 2nd Brake Plates
      GTY244387Courtesy of © TOYOTA, LICENSE AGREEMENT TMS1002
    2. Using a screwdriver, install the 2 snap rings to the transaxle case.
      Fig 44: Locating Snap Rings
      GTY181836Courtesy of © TOYOTA, LICENSE AGREEMENT TMS1002
  41. INSPECT PACK CLEARANCE OF 2ND BRAKE  See step  18
  42. INSTALL ONE-WAY CLUTCH ASSEMBLY 
    1. Install the No. 2 thrust washer to the rear planetary gear assembly.
      Fig 45: Identifying 1-Way Clutch Assembly And Planetary Carrier Thrust Washer No. 2
      GTY159367Courtesy of © TOYOTA, LICENSE AGREEMENT TMS1002
    2. Install the one-way clutch assembly to the rear planetary sun gear assembly.
  43. INSPECT ONE-WAY CLUTCH ASSEMBLY  See step  19
  44. INSTALL REAR PLANETARY SUN GEAR THRUST NEEDLE ROLLER BEARING 
    1. Install the thrust needle roller bearing and the washer to the rear planetary sun gear.
      Fig 46: Identifying Rear Planetary Sun Gear Thrust Needle Roller Bearing
      GTY159366Courtesy of © TOYOTA, LICENSE AGREEMENT TMS1002
  45. INSTALL REAR PLANETARY SUN GEAR ASSEMBLY 
    1. Install the rear planetary sun gear assembly.
      Fig 47: Identifying Rear Planetary Sun Gear
      GTY159353Courtesy of © TOYOTA, LICENSE AGREEMENT TMS1002
  46. INSTALL REAR NO. 2 PLANETARY SUN GEAR THRUST NEEDLE ROLLER BEARING 
    1. Install the rear No. 2 planetary sun gear thrust needle roller bearing to the rear planetary sun gear.
      Fig 48: Identifying Rear No. 2 Planetary Sun Gear Thrust Needle Roller Bearing
      GTY159396Courtesy of © TOYOTA, LICENSE AGREEMENT TMS1002
  47. INSTALL DIRECT CLUTCH HUB 
    1. Install the direct clutch hub.
      Fig 49: Identifying Direct Clutch Hub
      GTY165946Courtesy of © TOYOTA, LICENSE AGREEMENT TMS1002
  48. INSTALL THRUST NEEDLE ROLLER BEARING 
    1. Install the No. 3 thrust bearing race, the thrust needle roller bearing and the C-2 hub thrust bearing race to the direct clutch hub.
      Fig 50: Identifying No. 3 Thrust Bearing Race, Thrust Needle Roller Bearing And C-2 Hub Thrust Bearing Race
      GTY159395Courtesy of © TOYOTA, LICENSE AGREEMENT TMS1002
  49. INSTALL 2ND COAST AND OVERDRIVE BRAKE DISC 
    1. Measure the flange thickness. (Dimension A)
      Fig 51: Identifying Flange Thickness
      GTY203829Courtesy of © TOYOTA, LICENSE AGREEMENT TMS1002
    2. Install the 2 discs, 2 plates and flange to the transaxle case.
      Fig 52: Identifying Discs, Plates And Flange
      GTY245642Courtesy of © TOYOTA, LICENSE AGREEMENT TMS1002
  50. INSTALL DIRECT CLUTCH DRUM O-RING 
    1. Coat a new O-ring with ATF and install it to the direct clutch drum.
      Fig 53: Locating Direct Clutch Drum O-Ring
      GTY166822Courtesy of © TOYOTA, LICENSE AGREEMENT TMS1002
      NOTE:

      Do not damage the O-ring.

  51. INSTALL DIRECT CLUTCH PISTON O-RING 
    1. Coat 2 new O-rings with ATF and install them to the direct clutch piston.
      Fig 54: Locating Direct Clutch Piston O-Rings
      GTY159432Courtesy of © TOYOTA, LICENSE AGREEMENT TMS1002
      NOTE:

      Do not damage the O-rings.

  52. INSTALL DIRECT CLUTCH DRUM SUB-ASSEMBLY 
    1. Coat the direct clutch drum with ATF.
    2. Align a cutout on the intermediate shaft assembly with the matchmark on the direct clutch drum and install the direct clutch drum to the intermediate shaft assembly.
      Fig 55: Aligning Cutout In Intermediate Shaft Assembly
      GTY157696Courtesy of © TOYOTA, LICENSE AGREEMENT TMS1002
      NOTE:

      Do not damage the O-ring or the lip of the clutch drum.

  53. INSTALL DIRECT CLUTCH PISTON SUB-ASSEMBLY 
    1. Coat the direct clutch piston with ATF and install it to the intermediate shaft.
      Fig 56: Identifying Direct Clutch Piston
      GTY165337Courtesy of © TOYOTA, LICENSE AGREEMENT TMS1002
      NOTE:

      Do not damage the O-ring or the direct clutch piston.

  54. INSTALL DIRECT CLUTCH RETURN SPRING SUB-ASSEMBLY 
    1. Install the direct clutch return spring onto the direct clutch piston.
      Fig 57: Identifying Snap Ring
      GTY159430Courtesy of © TOYOTA, LICENSE AGREEMENT TMS1002
    2. Place SST on the piston return spring and compress the springs with a press.
      • SST: 09387-00020 
    3. Using snap ring pliers, install the snap ring to the direct clutch drum.
      NOTE:
      • Stop the press when the spring seat is lowered 1 to 2 mm (0.0393 to 0.0787 in.) from the snap ring groove. This prevents the spring seat from being deformed.
      • Do not expand the snap ring excessively.
  55. INSTALL DIRECT CLUTCH DISC 
    1. Coat the 3 direct clutch plates, 3 discs and direct clutch flange with ATF and install them to the intermediate shaft.
      Fig 58: Identifying Direct Clutch Disc
      GTY215281Courtesy of © TOYOTA, LICENSE AGREEMENT TMS1002
    2. Install the snap ring to the intermediate shaft.
  56. INSTALL REVERSE CLUTCH DISC 
    1. Coat the 3 plates, 3 discs and flange with ATF, and install them to the intermediate shaft.
      Fig 59: Identifying Plates, Discs And Flange
      GTY166032Courtesy of © TOYOTA, LICENSE AGREEMENT TMS1002
    2. Install the snap ring to the intermediate shaft.
  57. INSPECT PACK CLEARANCE OF REVERSE CLUTCH  See step  20
  58. INSPECT PACK CLEARANCE OF DIRECT CLUTCH  See step  21
  59. INSTALL INTERMEDIATE SHAFT ASSEMBLY 
    1. Install the intermediate shaft assembly to the transaxle case.
      Fig 60: Identifying Intermediate Shaft Assembly
      GTY165400Courtesy of © TOYOTA, LICENSE AGREEMENT TMS1002
  60. INSPECT 2ND COAST AND OVERDRIVE BRAKE CLEARANCE  See step  22
  61. INSTALL REAR CLUTCH DRUM THRUST NEEDLE ROLLER BEARING 
    1. Install the bearing to the intermediate shaft.
      Fig 61: Identifying Rear Clutch Drum Thrust Needle Roller Bearing
      GTY167080Courtesy of © TOYOTA, LICENSE AGREEMENT TMS1002
  62. INSPECT INTERMEDIATE SHAFT ASSEMBLY  See step  23
  63. INSTALL TRANSAXLE CASE GASKET 
    1. Install 4 new gaskets to the transaxle case.
      Fig 62: Identifying Transaxle Case Gaskets
      GTY163251Courtesy of © TOYOTA, LICENSE AGREEMENT TMS1002
  64. INSTALL REAR TRANSAXLE COVER NEEDLE ROLLER BEARING 
    1. Coat a new needle roller bearing with ATF.
      Fig 63: Installing Rear Transaxle Cover Needle Roller Bearing
      GTY159437Courtesy of © TOYOTA, LICENSE AGREEMENT TMS1002
    2. Using SST and a press, install the needle roller bearing into the rear transaxle cover.
      • SST: 09950-60010 
        • 09951-00190
        • 09952-06010
      • SST: 09950-70010 
        • 09951-07100

      Standard clearance

      25.1 mm (0.988 in.)

  65. INSTALL CLUTCH DRUM OIL SEAL RING 
    1. Compress the 3 oil seal rings from both sides to reduce dimension A.
      Fig 64: Identifying Oil Seal Ring
      GTY157698Courtesy of © TOYOTA, LICENSE AGREEMENT TMS1002

      Dimension A

      5.0 mm (0.197 in.)

    2. Coat 3 oil seal rings with ATF and install them to the rear transaxle cover.
  66. INSTALL 2ND COAST AND OVERDRIVE O-RING 
    1. Coat 2 new O-rings with ATF and install them to the 2nd coast and overdrive brake piston.
      Fig 65: Locating O-Rings
      GTY159435Courtesy of © TOYOTA, LICENSE AGREEMENT TMS1002
      NOTE:

      Do not damage the O-rings.

  67. INSTALL 2ND COAST AND OVERDRIVE BRAKE PISTON 
    1. Coat the piston with ATF and install it to the rear transaxle cover.
      Fig 66: Identifying 2nd Coast And Overdrive Brake Piston
      GTY159438Courtesy of © TOYOTA, LICENSE AGREEMENT TMS1002
      NOTE:

      Do not damage the O-rings.

  68. INSTALL OVERDRIVE BRAKE RETURN SPRING SUB-ASSEMBLY 
    1. Using SST and a press, install the overdrive brake return spring sub-assembly and snap ring to the rear transaxle cover.
      Fig 67: Identifying Snap Ring
      GTY157762Courtesy of © TOYOTA, LICENSE AGREEMENT TMS1002
      • SST: 09387-00070 
      NOTE:
      • Stop the press when the spring seat is lowered 1 to 2 mm (0.0393 to 0.0787 in.) from the snap ring groove. This prevents the spring seat from being deformed.
      • Do not expand the snap ring excessively.
  69. INSTALL REAR TRANSAXLE COVER PLUG 
    1. Coat 4 new O-rings with ATF, and install them to the 4 rear transaxle cover plugs.
      Fig 68: Locating Rear Transaxle Cover Plugs
      GTY159434Courtesy of © TOYOTA, LICENSE AGREEMENT TMS1002
    2. Install the 4 rear transaxle cover plugs to the rear transaxle cover.

      Torque: 7.4 N*m (76 kgf*cm, 66 in.*lbf) 

      NOTE:

      Do not damage the O-rings.

  70. INSTALL REAR TRANSAXLE COVER ASSEMBLY 
    1. Apply seal packing to the transaxle case.
      Fig 69: Applying FIPG To Transaxle Case
      GTY159378Courtesy of © TOYOTA, LICENSE AGREEMENT TMS1002

      Seal packing

      Toyota Genuine Seal Packing 1281, Three Bond 1281 or equivalent

    2. Install the rear transaxle cover assembly with the 11 bolts.
      Fig 70: Identifying Bolts
      GTY178607Courtesy of © TOYOTA, LICENSE AGREEMENT TMS1002

      Torque: 25 N*m (255 kgf*cm, 18 ft.*lbf) 

  71. INSTALL FORWARD CLUTCH HUB SUB-ASSEMBLY 
    1. Install the forward clutch hub sub-assembly onto the transaxle case.
      Fig 71: Identifying Forward Clutch Hub
      GTY163642Courtesy of © TOYOTA, LICENSE AGREEMENT TMS1002
  72. INSTALL FORWARD CLUTCH HUB THRUST NEEDLE ROLLER BEARING 
    1. Install the bearing to the forward clutch hub.
      Fig 72: Identifying Forward Clutch Hub Thrust Needle Roller Bearing
      GTY159394Courtesy of © TOYOTA, LICENSE AGREEMENT TMS1002
  73. INSTALL INPUT SHAFT OIL SEAL RING 
    1. Coat a new input shaft oil seal ring with ATF, and install it to the input shaft.
      Fig 73: Identifying Input Shaft Oil Seal Ring
      GTY165707Courtesy of © TOYOTA, LICENSE AGREEMENT TMS1002
  74. INSTALL FORWARD CLUTCH PISTON O-RING 
    1. Coat a new clutch piston O-ring with ATF, and install it to the forward clutch piston.
      Fig 74: Locating Forward Clutch Piston O-Ring
      GTY163936Courtesy of © TOYOTA, LICENSE AGREEMENT TMS1002
  75. INSTALL FORWARD CLUTCH PISTON 
    1. Install the forward clutch piston to the input shaft.
      Fig 75: Identifying Forward Clutch Piston
      GTY162376Courtesy of © TOYOTA, LICENSE AGREEMENT TMS1002
      NOTE:

      Do not damage the O-ring.

  76. INSTALL FORWARD CLUTCH RETURN SPRING SUB-ASSEMBLY 
    1. Install the return spring and clutch balancer to the input shaft.
      Fig 76: Identifying Return Spring And Clutch Balancer
      GTY159421Courtesy of © TOYOTA, LICENSE AGREEMENT TMS1002
    2. Using SST, a press and snap ring pliers, install the snap ring to the input shaft.
      Fig 77: Removing/Installing Snap Ring
      GTY165732Courtesy of © TOYOTA, LICENSE AGREEMENT TMS1002
      • SST: 09320-89010 
  77. INSTALL FRONT CLUTCH DISC 
    1. Install the 4 plates, 4 discs and flange.
      Fig 78: Identifying Plates, Discs And Flange
      GTY162041Courtesy of © TOYOTA, LICENSE AGREEMENT TMS1002
    2. Using a screwdriver, install the snap ring to the input shaft.
  78. INSPECT PACK CLEARANCE OF FORWARD CLUTCH  See step  24
  79. INSTALL STATOR SHAFT THRUST NEEDLE ROLLER BEARING 
    1. Install the bearing to the input shaft assembly.
      Fig 79: Identifying Stator Shaft Thrust Needle Roller Bearing
      GTY162689Courtesy of © TOYOTA, LICENSE AGREEMENT TMS1002
  80. INSTALL INPUT SHAFT ASSEMBLY 
    1. Install the input shaft assembly to the transaxle case.
      Fig 80: Identifying Input Shaft Assembly
      GTY166511Courtesy of © TOYOTA, LICENSE AGREEMENT TMS1002
  81. INSTALL OVERDRIVE BRAKE GASKET 
    1. Install 2 new gaskets to the transaxle case.
      Fig 81: Locating Overdrive Brake Gaskets
      GTY162284Courtesy of © TOYOTA, LICENSE AGREEMENT TMS1002
  82. INSTALL DIFFERENTIAL GEAR ASSEMBLY 
    1. Install the differential gear assembly to the transaxle case.
      Fig 82: Identifying Differential Gear Assembly
      GTY158152Courtesy of © TOYOTA, LICENSE AGREEMENT TMS1002
  83. INSTALL OIL PUMP ASSEMBLY 
    1. Install the oil pump assembly with the 7 bolts.
      Fig 83: Identifying Oil Pump Assembly Bolts
      GTY159398Courtesy of © TOYOTA, LICENSE AGREEMENT TMS1002

      Torque: 22 N*m (224 kgf*cm, 16 ft.*lbf) 

  84. INSPECT INPUT SHAFT ASSEMBLY  See step  25
  85. INSPECT INPUT SHAFT END PLAY  See step  26
  86. INSTALL TRANSAXLE HOUSING 
    1. Apply seal packing to the transaxle case.
      Fig 84: Applying FIPG To Transaxle Case
      GTY164441Courtesy of © TOYOTA, LICENSE AGREEMENT TMS1002

      Seal packing

      Toyota Genuine Seal Packing 1281, Three Bond 1281 or equivalent

    2. Install the transaxle housing with the 14 bolts.
      Fig 85: Identifying Transaxle Housing Bolts
      GTY244289Courtesy of © TOYOTA, LICENSE AGREEMENT TMS1002

      Bolt A 

      Torque: 29 N*m (296 kgf*cm, 21 ft.*lbf) 

      Bolt B 

      Torque: 22 N*m (224 kgf*cm, 16 ft.*lbf) 

  87. INSTALL C-2 ACCUMULATOR PISTON 
    1. Coat 2 new O-rings with ATF and install them to the C-2 accumulator piston.
      Fig 86: Identifying O-Rings
      GTY166042Courtesy of © TOYOTA, LICENSE AGREEMENT TMS1002
      NOTE:

      Do not damage the O-rings.

    2. Install the spring and C-2 accumulator piston.
      Fig 87: Identifying Spring And C-2 Accumulator Piston
      GTY159301Courtesy of © TOYOTA, LICENSE AGREEMENT TMS1002

      Accumulator Spring

      Spring Free Length/
      Outer Diameter mm (in.)
      Color
      C-2 66.90 (2.633)
      17.20 (0.677)
      -
  88. INSTALL C-3 ACCUMULATOR PISTON 
    1. Coat 2 new O-rings with ATF and install them to the C-3 accumulator piston.
      Fig 88: Identifying O-Rings
      GTY166835Courtesy of © TOYOTA, LICENSE AGREEMENT TMS1002
      NOTE:

      Do not damage the O-rings.

    2. Install the spring and C-3 accumulator piston.
      Fig 89: Identifying Spring And C-3 Accumulator Piston
      GTY159302Courtesy of © TOYOTA, LICENSE AGREEMENT TMS1002

      Accumulator Spring

      Spring Free Length/
      Outer Diameter mm (in.)
      Color
      C-3 87.30 (3.437)
      18.70 (0.736)
      Orange
  89. INSTALL B-2 ACCUMULATOR PISTON 
    1. Coat 2 new O-rings with ATF and install them to the B-2 accumulator piston.
      Fig 90: Identifying O-Rings
      GTY166652Courtesy of © TOYOTA, LICENSE AGREEMENT TMS1002
      NOTE:

      Do not damage the O-rings.

    2. Install the spring and B-2 accumulator piston.
      Fig 91: Identifying Spring And B-2 Accumulator Piston
      GTY159303Courtesy of © TOYOTA, LICENSE AGREEMENT TMS1002

      Accumulator Spring

      Spring Free Length/
      Outer Diameter mm (in.)
      Color
      B-2 66.90 (2.633)
      15.50 (0.610)
      White
  90. INSTALL CHECK BALL BODY 
    1. Install the spring and check ball body.
      Fig 92: Identifying Spring And Check Ball Body
      GTY165482Courtesy of © TOYOTA, LICENSE AGREEMENT TMS1002
  91. INSTALL BRAKE DRUM GASKET 
    1. Install a new brake drum gasket.
      Fig 93: Identifying Brake Drum Gasket
      GTY166338Courtesy of © TOYOTA, LICENSE AGREEMENT TMS1002
  92. INSTALL TRANSAXLE CASE GASKET 
    1. Coat a new transaxle case gasket with ATF, and install it to the transaxle case.
      Fig 94: Locating Transaxle Case Gasket
      GTY159494Courtesy of © TOYOTA, LICENSE AGREEMENT TMS1002
  93. INSTALL TRANSAXLE CASE 2ND BRAKE GASKET 
    1. Coat a new transaxle case 2nd brake gasket with ATF, and install it to the transaxle case.
      Fig 95: Locating Transaxle Case 2nd Brake Gasket
      GTY159493Courtesy of © TOYOTA, LICENSE AGREEMENT TMS1002
  94. INSTALL TRANSMISSION WIRE 
    1. Coat a new O-ring with ATF, and install it into the transmission wire.
      Fig 96: Locating O-Ring
      GTY165291Courtesy of © TOYOTA, LICENSE AGREEMENT TMS1002
    2. Insert the transmission wire to the transaxle.
      Fig 97: Identifying Transmission Wire
      GTY157793Courtesy of © TOYOTA, LICENSE AGREEMENT TMS1002
    3. Install the transmission wire with the bolt.
      Fig 98: Locating Transaxle Case Bolt
      GTY203652Courtesy of © TOYOTA, LICENSE AGREEMENT TMS1002

      Torque: 5.4 N*m (55 kgf*cm, 48 in.*lbf) 

  95. INSTALL TRANSMISSION VALVE BODY ASSEMBLY 
    1. Align the groove of the manual valve with the pin of the manual valve lever.
    2. Temporarily install the valve body with the 13 bolts.
      Fig 99: Identifying Valve Body Bolts
      GTY174564Courtesy of © TOYOTA, LICENSE AGREEMENT TMS1002

      Bolt length

      Bolt A: 32 mm (1.26 in.)

      Bolt B: 22 mm (0.866 in.)

      Bolt C: 55 mm (2.17 in.)

      Bolt D: 45 mm (1.77 in.)

    3. Temporarily install the detent spring and detent spring cover with the 2 bolts.
      Fig 100: Identifying Detent Spring And Detent Spring Cover
      GTY184120Courtesy of © TOYOTA, LICENSE AGREEMENT TMS1002

      Bolt length

      Bolt A: 14 mm (0.551 in.)

      Bolt B: 45 mm (1.77 in.)

    4. Check that the manual valve lever is in contact with the center of the roller at the tip of the detent spring.
    5. Tighten the 15 bolts.

      Torque: 11 N*m (112 kgf*cm, 8 ft.*lbf) 

    6. Connect the 5 solenoid connectors.
      Fig 101: Locating Solenoid Connectors
      GTY181081Courtesy of © TOYOTA, LICENSE AGREEMENT TMS1002
    7. Install the ATF temperature sensor with the lock plate and bolt.

      Torque: 11 N*m (112 kgf*cm, 8 ft.*lbf) 

      Bolt length

      55 mm (2.17 in.)

  96. INSTALL VALVE BODY OIL STRAINER ASSEMBLY 
    1. Coat a new gasket with ATF, and install it to the oil strainer.
      Fig 102: Identifying Oil Strainer Gasket
      GTY163023Courtesy of © TOYOTA, LICENSE AGREEMENT TMS1002
    2. Install the valve body oil strainer assembly to the automatic transaxle with the 3 bolts.
      Fig 103: Locating Oil Strainer Bolts
      GTY163082Courtesy of © TOYOTA, LICENSE AGREEMENT TMS1002

      Torque: 11 N*m (112 kgf*cm, 8 ft.*lbf) 

  97. INSTALL AUTOMATIC TRANSAXLE OIL PAN SUB-ASSEMBLY 
    1. Install the 2 magnets to the oil pan.
      Fig 104: Identifying Magnets To Oil Pan
      GTY230321Courtesy of © TOYOTA, LICENSE AGREEMENT TMS1002
    2. Install a new oil pan gasket to the oil pan.
    3. Install the oil pan with the 19 bolts.
      Fig 105: Identifying Oil Pan Bolts
      GTY166566Courtesy of © TOYOTA, LICENSE AGREEMENT TMS1002

      Torque: 7.8 N*m (80 kgf*cm, 69 in.*lbf) 

  98. INSTALL BREATHER PLUG 
    1. Install the breather plug to the transaxle case.
  99. INSTALL BREATHER PLUG HOSE 
    1. Install the breather plug hose to the breather plug.
      Fig 106: Identifying Breather Plug
      GTY168995Courtesy of © TOYOTA, LICENSE AGREEMENT TMS1002
  100. INSTALL NO. 1 TRANSAXLE CASE PLUG 
    1. Coat 5 new O-rings with ATF, and install them to the 5 No. 1 transaxle case plugs.
    2. Install the 4 No. 1 transaxle case plugs to the transaxle housing and transaxle case.
      Fig 107: Locating No. 1 Transaxle Case Plugs
      GTY164121Courtesy of © TOYOTA, LICENSE AGREEMENT TMS1002

      Torque: 7.4 N*m (76 kgf*cm, 66 in.*lbf) 

    3. Install the No. 1 transaxle case plug to the transaxle case.
      Fig 108: Locating No. 1 Transaxle Case Plug
      GTY163661Courtesy of © TOYOTA, LICENSE AGREEMENT TMS1002

      Torque: 7.4 N*m (76 kgf*cm, 66 in.*lbf) 

  101. INSTALL OIL COOLER TUBE UNION 
    1. Coat 2 new O-rings with ATF, and install them into the 2 oil cooler tube unions.
    2. Install the 2 oil cooler tube unions to the transaxle case.
      Fig 109: Identifying Oil Cooler Tube Unions From Transaxle Case
      GTY203708Courtesy of © TOYOTA, LICENSE AGREEMENT TMS1002

      Torque: 27 N*m (275 kgf*cm, 20 ft.*lbf) 

  102. INSTALL SPEED SENSOR 
    1. Coat a new O-ring with ATF, and install it to the speed sensor.
    2. Install the speed sensor to the transaxle case with the bolt.
      Fig 110: Identifying Bolt And Transmission Revolution Sensor
      GTY159491Courtesy of © TOYOTA, LICENSE AGREEMENT TMS1002

      Torque: 5.4 N*m (55 kgf*cm, 48 in.*lbf) 

  103. INSTALL PARK/NEUTRAL POSITION SWITCH ASSEMBLY 
    1. Install the park/neutral position switch assembly to the automatic transaxle.
    2. Temporarily install the 2 bolts.
      Fig 111: Identifying Bolt And Park/Neutral Position Switch
      GTY201289Courtesy of © TOYOTA, LICENSE AGREEMENT TMS1002
    3. Replace the lock plate with a new one and tighten the manual valve shaft nut.

      Torque: 6.9 N*m (70 kgf*cm, 61 in.*lbf) 

    4. Temporarily install the control shaft lever.
    5. Turn the lever counterclockwise until it stops, then turn it clockwise 2 notches.
      Fig 112: Turning Lever Counterclockwise
      GTY201288Courtesy of © TOYOTA, LICENSE AGREEMENT TMS1002
    6. Remove the control shaft lever.
    7. Align the groove with the neutral basic line.
      Fig 113: Aligning Groove With Neutral Basic Line
      GTY201290Courtesy of © TOYOTA, LICENSE AGREEMENT TMS1002
    8. Hold the switch in this position and tighten the 2 bolts.

      Torque: 5.4 N*m (55 kgf*cm, 48 in.*lbf) 

    9. Using a screwdriver, stake the nut with the lock plate.
      Fig 114: Staking Nut With Lock Plate
      GTY172193Courtesy of © TOYOTA, LICENSE AGREEMENT TMS1002
    10. Install the control shaft lever with the nut and washer.
      Fig 115: Locating Control Shaft Lever, Washer And Nut
      GTY169160Courtesy of © TOYOTA, LICENSE AGREEMENT TMS1002

      Torque: 13 N*m (133 kgf*cm, 10 ft.*lbf) 

  104. INSTALL SPEEDOMETER DRIVEN HOLE COVER SUB-ASSEMBLY 
    1. Coat a new O-ring with ATF and install it to the speedometer driven hole cover sub-assembly.
    2. Install the speedometer driven hole cover sub-assembly to the transaxle housing.
      Fig 116: Locating Speedometer Driven Hole Cover Sub-Assembly Bolt
      GTY158151Courtesy of © TOYOTA, LICENSE AGREEMENT TMS1002

      Torque: 5.5 N*m (56 kgf*cm, 49 in.*lbf)