LEMON Manuals: Even more car manuals for everyone: 1960-2025
Home >> Toyota >> 2012 >> Matrix S, AWD >> Repair and Diagnosis >> External Pages >> Different car >> Section 261 (Vehicle Stability Control System (Diagnostics - Introduction)) >> Vehicle Stability Control System >> System Diagram >> System Diagram
April 5, 2026: LEMON Manuals is launched! Read the announcement.

System Diagram

WARNING: This page is about a different car, the 2012 Toyota Corolla. However, it is still accessible from the selected car via links, so may be relevant.
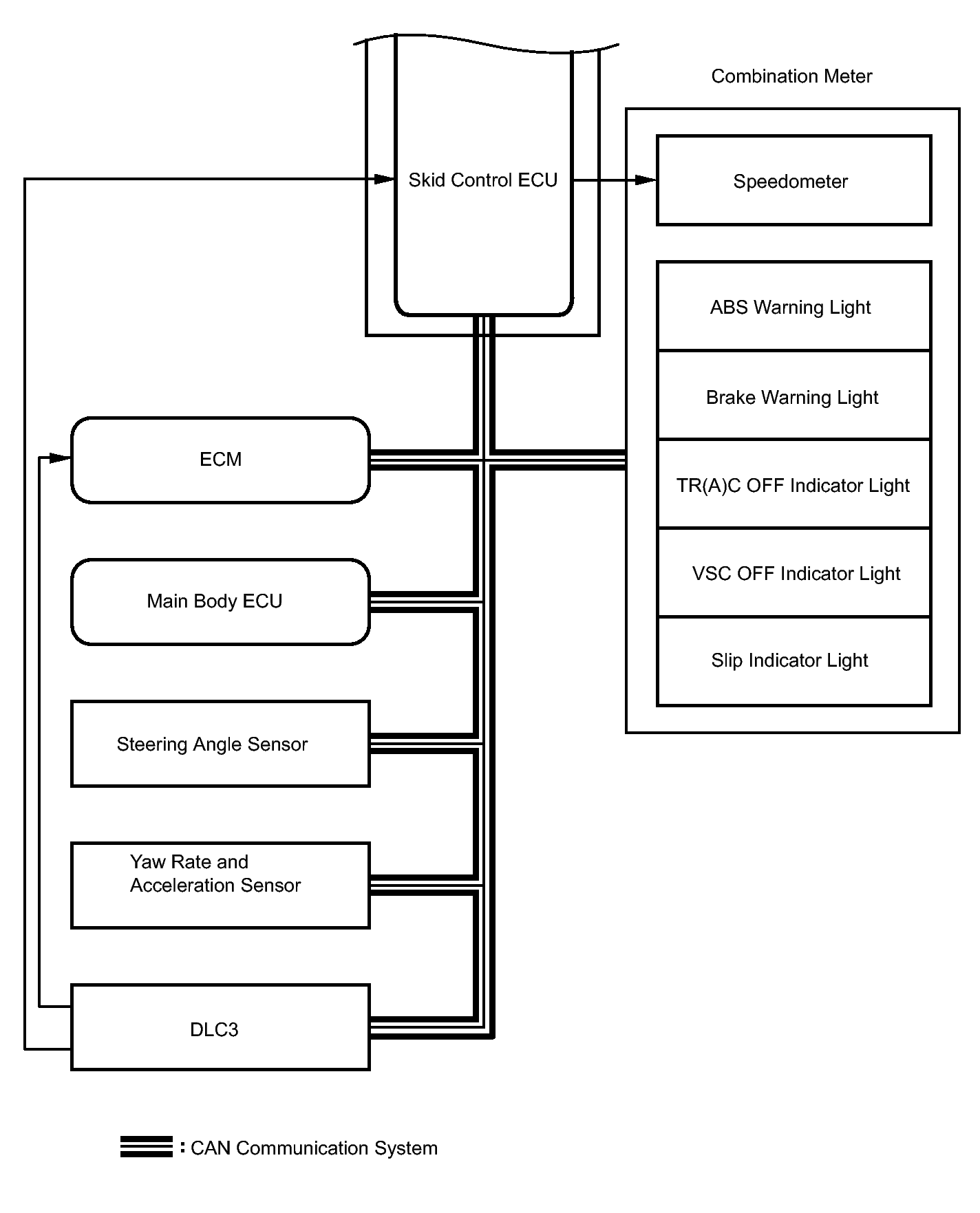
Fig 1: Vehicle Stability Control - System Diagram (1 Of 2)
GTY186402Courtesy of © TOYOTA, LICENSE AGREEMENT TMS1002
Fig 2: Vehicle Stability Control - System Diagram (2 Of 2)
GTY315237Courtesy of © TOYOTA, LICENSE AGREEMENT TMS1002
Transmitting ECU (Transmitter) Receiving ECU Signal Communication Method
Skid control ECU Steering angle sensor Steering angle sensor request signal CAN communication system
Skid control ECU Yaw rate and acceleration sensor Yaw rate and acceleration request signal CAN communication system
Skid control ECU ECM
  • Wheel speed signal
  • VSC data signal
CAN communication system
ECM Skid control ECU
  • Shift position signal
  • Throttle position signal
  • Engine speed signal
  • Intake air temperature signal
  • Engine torque request signal
  • Accelerator pedal position signal
CAN communication system
Main body ECU Skid control ECU Parking brake switch signal CAN communication system
Skid control ECU Combination meter
  • ABS warning light signal
  • Brake warning light signal
  • TR(A)C OFF indicator light signal
  • VSC OFF indicator light signal
  • Slip indicator light signal
  • Wheel speed signal
CAN communication system