LEMON Manuals: Even more car manuals for everyone: 1960-2025
Home >> Toyota >> 2012 >> Matrix S, FWD, Standard Trans >> Repair and Diagnosis >> External Pages >> Different variant/trim >> Section 5 (Vehicle Stability Control System (2ZR-FE) (Diagnostics - Introduction)) >> VEHICLE STABILITY CONTROL SYSTEM (for 2ZR-FE) >> System Description >> System Description
April 5, 2026: LEMON Manuals is launched! Read the announcement.

System Description

WARNING: This page is about a different variant/trim than selected.
  1. FUNCTION DESCRIPTION 

    HINT: 

    • The skid control ECU is located within the brake actuator assembly.
    • The yaw rate sensor and acceleration sensor are combined in a single unit. This unit communicates with the skid control ECU through CAN communication.
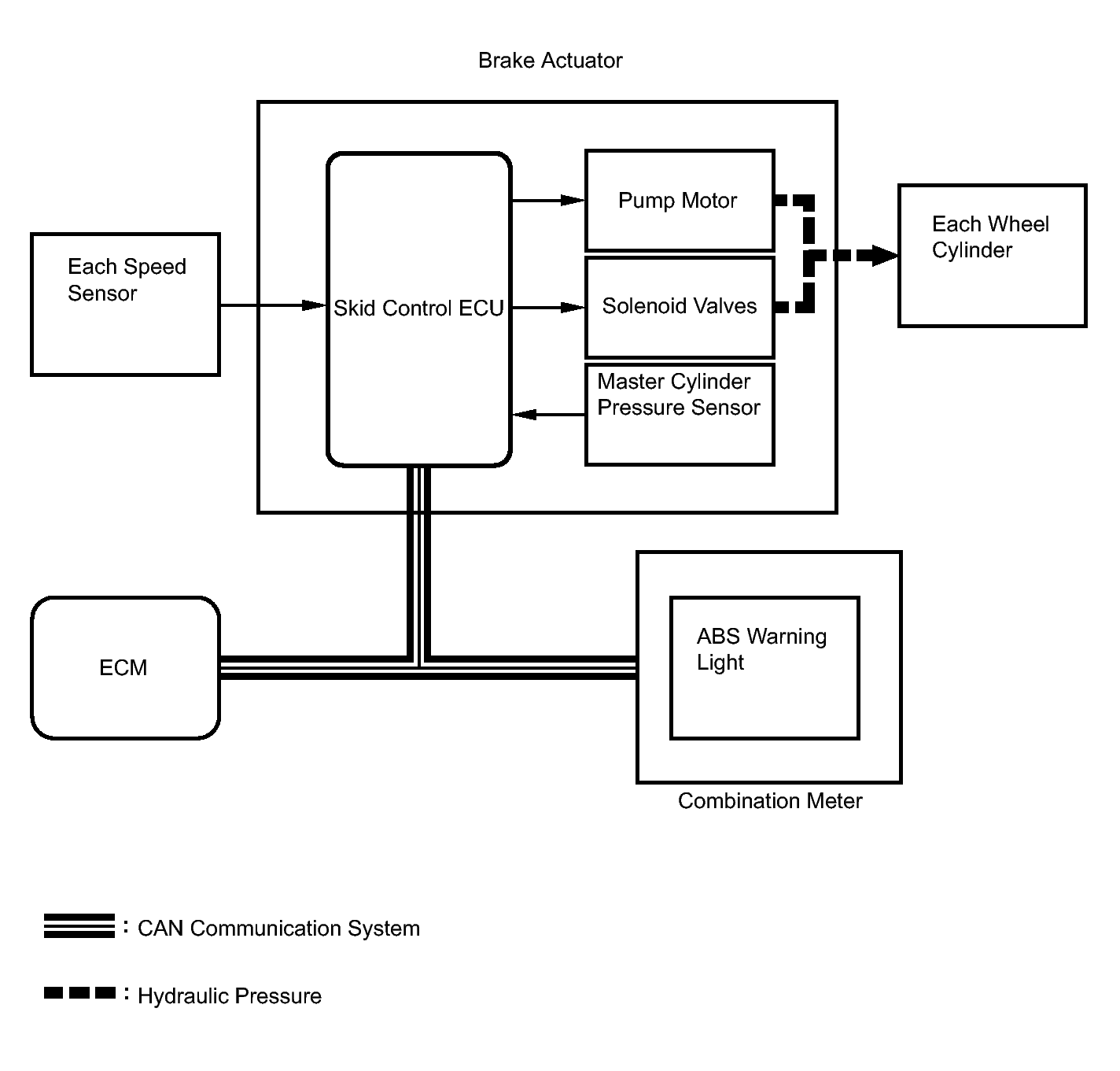
    1. ABS (Anti-lock Brake System)

      The ABS helps prevent the wheels from locking when the brakes are applied firmly or when braking on a slippery surface.

      Fig 1: Identifying ABS (Anti-Lock Brake System) Communication Diagram
      GTY243658Courtesy of © TOYOTA, LICENSE AGREEMENT TMS1002
      1. Operation description

        The skid control ECU detects wheel lock based on speed signals received from the wheel speed sensors. Based on this information, the skid control ECU controls the pump motor and solenoid valves. The pump motor and solenoid valves are used to prevent wheel lock by controlling the hydraulic pressure applied to the brakes at each wheel. The ABS warning light will come on when the system is malfunctioning.

    2. EBD (Electronic Brake force Distribution)

      The EBD control utilizes the ABS to properly distribute brake force between the front and rear wheels in accordance with driving conditions.

      When braking while cornering, it also controls the brake force distribution between the right and left wheels, helping to maintain vehicle behavior.

      Fig 2: Identifying EBD (Electronic Brake) Force Distribution Function Diagram
      GTY214811Courtesy of © TOYOTA, LICENSE AGREEMENT TMS1002
      1. Operation description

        The skid control ECU receives a speed signal from each wheel speed sensor, and uses these signals to detect locking of the wheels. The ECU uses this information in order to determine appropriate control of the solenoid valves.

        The solenoid valves control the hydraulic pressure applied to the brake cylinder at each wheel. In this way, the solenoid valves are used to control the brake power split between the front and rear, and left and right wheels. The ABS warning and brake warning lights will come on if there is a malfunction in the EBD system.

    3. BA (Brake Assist)

      The primary purpose of the brake assist system is to provide auxiliary brake force to assist a driver who cannot generate a large enough brake force during emergency braking, thus helping to maximize the brake performance of the vehicle.

      Fig 3: Identifying BA (Brake Assist) System Communication Diagram
      GTY224630Courtesy of © TOYOTA, LICENSE AGREEMENT TMS1002
      1. Operation description

        The skid control ECU receives a speed signal from each speed sensor and a fluid pressure signal from the master cylinder pressure sensor to determine whether brake assist is necessary. If brake assist is necessary, the skid control ECU sends control signals to the pump motor and solenoid valves. The pump motor and the solenoid valves then control the pressure applied to each wheel cylinder.

        The ABS warning light will come on to indicate a malfunction in the BA system.

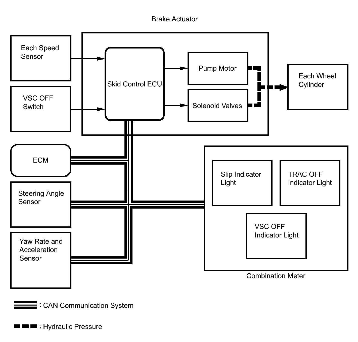
    4. TRAC (Traction Control)

      The TRAC system helps prevent the drive wheels from slipping when the driver depresses the accelerator pedal excessively when starting off or accelerating on a slippery surface.

      Fig 4: Identifying TRAC (Traction Control) System Communication Diagram
      GTY292502Courtesy of © TOYOTA, LICENSE AGREEMENT TMS1002
      1. Operation description

        The skid control ECU detects wheel spin by receiving signals from each speed sensor and the ECM via CAN communication. The skid control ECU sends signals via CAN communication to the ECM in order to control engine torque. The skid control ECU controls brake hydraulic pressure using the pump and solenoid valves.

        The slip indicator light blinks when the system is operating. When there is a malfunction in the TRAC system, the slip indicator light comes on.

        The VSC OFF switch is used to disable TRAC operation.

    5. VSC (Vehicle Stability Control)

      The VSC system helps prevent the vehicle from slipping sideways as a result of strong front or rear wheel skid during cornering.

      Fig 5: Identifying TRAC (Traction Control) System Communication Diagram
      GTY317065Courtesy of © TOYOTA, LICENSE AGREEMENT TMS1002
      1. Operation description

        The skid control ECU determines the vehicle operating conditions based on signals received from the wheel speed sensors, yaw rate and acceleration sensor, and steering angle sensor. The skid control ECU sends signals via CAN communication to the ECM in order to control engine torque. The skid control ECU controls brake hydraulic pressure using the pump and solenoid valves.

        The slip indicator light blinks when the system is operating. If a malfunction occurs in the VSC system, the slip indicator light comes on.

        The VSC OFF switch is used to disable TRAC/VSC control operation.

  2. ABS with EBD, BA, TRAC and VSC OPERATION 
    1. The skid control ECU calculates vehicle stability based on signals from the speed sensor, yaw rate and acceleration sensor, and steering angle sensor. In addition, it evaluates the results to determine whether any control actions (control of the engine output torque using electronic throttle control or wheel brake pressure using the brake actuator assembly) should be implemented.
    2. The slip indicator light blinks to inform the driver that the VSC system is operating. The slip indicator light also blinks when traction control is operating, and the operation being performed is displayed.
  3. FAIL SAFE 
    1. When a malfunction occurs in the ABS with BA, TRAC and VSC systems, the ABS warning and slip indicator lights come on, and ABS with BA, TRAC and VSC operations are prohibited. In addition, when there is a malfunction that disables EBD operation, the brake warning light also comes on and EBD operation is prohibited.
    2. If control is prohibited due to a malfunction during operation, control will be disabled gradually.

      This is to avoid sudden vehicle instability.

  4. INITIAL CHECK 
    1. When the vehicle speed first reaches approximately 6 km/h (4 mph) or more after the ignition switch is turned to ON, each solenoid valve and motor of the brake actuator are sequentially activated to perform an electrical check. During the initial check, the operating sound of the solenoid valves and motor can be heard from the engine compartment, but this is not a malfunction.
  5. INSPECTION MODE 
    1. TRAC and VSC operation can be disabled by operating the Techstream. Refer to PRECAUTION .
  6. FUNCTION OF COMPONENTS 
    Components Function
    Speed sensor Detects the wheel speed and sends the signal to the skid control ECU.
    Yaw rate and acceleration sensor
    • The acceleration sensor measures the capacity of the condenser that changes the distance between the electrodes depending on G force, which occurs when the vehicle is accelerated, and converts the measured value into electrical signals.
    • The yaw rate sensor detects the vehicle's angular velocity (yaw rate) in the vertical direction based on the amount and direction of the piezoelectric ceramics deflection.
    • Sends signals to the skid control ECU via CAN communication.
    Steering angle sensor
    • Installed in the combination switch.
    • Detects the steering amount and direction, and sends the signals to the skid control ECU via CAN communication.
    • Has a magnetic resistance element which detects the rotation of the magnet housed in the detection gear in order to detect the changes of magnetic resistance and the steering amount and direction.
    Stop light switch Detects the brake operating conditions and inputs the result to the skid control ECU.
    Main body ECU Detects the parking brake operating conditions and inputs the result to the skid control ECU via CAN communication.
    Master cylinder pressure sensor
    • Detects the fluid pressure in the master cylinder.
    • Housed in the brake actuator assembly.
    Skid control ECU
    • Housed in the brake actuator assembly.
    • Processes signals sent from each sensor to control the ABS, BA, TRAC, and VSC.
    • Sends and receives control signals to or from the ECM, yaw rate and acceleration sensor, and steering angle sensor, etc. via CAN communication.
    Brake actuator assembly
    • Consists of the master cylinder cut solenoid valve, retention solenoid valves, pressure reduction solenoid valves, pump motor, and reservoir, and adjusts the brake fluid pressure applied to each wheel cylinder.
    • Houses the skid control ECU.
    ABS motor relay
    • Supplies power to the pump motor.
    • Housed in the skid control ECU.
    ABS motor fail safe relay
    • Cuts off power to the motor when the pump motor circuit malfunctions.
    • Housed in the skid control ECU.
    ABS solenoid relay
    • Supplies power to each solenoid.
    • Housed in the skid control ECU.
    ABS warning light
    • Comes on to inform the driver that a malfunction in the ABS and/or BA system has occurred.
    • Blinks to output DTCs.
    Brake warning light
    • Comes on to inform the driver that the parking brake is ON when the system is normal, or the brake fluid has decreased.
    • Comes on to inform the driver that a malfunction in the EBD system has occurred.
    TRAC OFF indicator light Comes on to inform the driver when TRAC or VSC off mode is entered using the VSC OFF switch.
    VSC OFF indicator light Comes on to inform the driver when VSC off mode is entered using the VSC OFF switch.
    Slip indicator light
    • Blinks to inform the driver that TRAC and/or VSC are operating.
    • Comes on to inform the driver when the skid control ECU detects a malfunction in TRAC and/or VSC.
    • Blinks to output DTCs.
    ECM Controls the engine output when TRAC and/or VSC are operating according to the skid control ECU via CAN communication signals.
    VSC OFF switch Pressing this switch turns off traction control and pressing and holding this switch turns off traction and VSC controls.