LEMON Manuals: Even more car manuals for everyone: 1960-2025
Home >> Toyota >> 2012 >> Prius Four >> Repair and Diagnosis (Single Page) >> Restraints >> Restraints Control Systems >> Supplemental Restraint System (Except Plug-In) (Diagnostic Codes & Symptom Tests) >> Airbag System >> DTC B1815/54: Short in Front Passenger Side Squib 2nd Step Circuit; DTC B1816/54: Open in Front Passenger Side Squib 2nd Step Circuit; DTC B1817/54: Short to GND in Front Passenger Side Squib 2nd Step Circuit; DTC B1818/54: Short to B+ in Front Passenger Side Squib 2nd Step Circuit >> Procedure
April 5, 2026: LEMON Manuals is launched! Read the announcement.

DTC B1815/54: Short in Front Passenger Side Squib 2nd Step Circuit; DTC B1816/54: Open in Front Passenger Side Squib 2nd Step Circuit; DTC B1817/54: Short to GND in Front Passenger Side Squib 2nd Step Circuit; DTC B1818/54: Short to B+ in Front Passenger Side Squib 2nd Step Circuit: Procedure

  1. CHECK CONNECTORS 
    1. Turn the power switch off.
      Fig 1: Checking Connectors
      GTY223158Courtesy of © TOYOTA, LICENSE AGREEMENT TMS1002
    2. Disconnect the cable from the negative (-) battery terminal.
      WARNING:

      Wait at least 90 seconds after disconnecting the cable from the negative (-) battery terminal to disable the SRS system.

    3. Check that the connectors are properly connected to the front passenger airbag assembly and center airbag sensor assembly. Also check that the connectors that link the instrument panel wire and No. 3 instrument panel wire are properly connected.

      OK

      The connectors are properly connected.

      HINT: 

      If the connectors are not connected securely, reconnect the connectors and proceed to the next inspection.

    4. Disconnect the connectors from the front passenger airbag assembly and center airbag sensor assembly. Also disconnect the instrument panel wire from the No. 3 instrument panel wire.
    5. Check that the terminals of the connectors are not damaged.

      OK

      The terminals are not deformed or damaged.

    6. Check that the No. 3 instrument panel wire connector (on the front passenger airbag assembly side) is not damaged.

      OK

      The lock button is not disengaged, and the claw of the lock is not deformed or damaged.

    7. Check that the short springs for the instrument panel wire and No. 3 instrument panel wire with the activation prevention mechanism are not deformed or damaged.

      OK

      The short springs are not deformed or damaged.

      TEXT IN ILLUSTRATION

      *1 Front Passenger Side Squib 2nd Step
      *2 Center Airbag Sensor Assembly
      *3 No. 3 Instrument Panel Wire
      *4 Instrument Panel Wire

    NG → REPLACE WIRE HARNESS 

    OK: Go to next step 

  2. CHECK FRONT PASSENGER AIRBAG ASSEMBLY (FRONT PASSENGER SIDE SQUIB 2ND STEP) 
    1. Connect the instrument panel wire to the No. 3 instrument panel wire and center airbag sensor assembly.
      Fig 2: Checking Front Passenger Airbag Assembly (Front Passenger Side Squib 2nd Step)
      GTY211032Courtesy of © TOYOTA, LICENSE AGREEMENT TMS1002
    2. Connect SST (resistance 2.1 Ω) to connector E (black connector).
      WARNING:

      Never connect the tester to the front passenger airbag assembly (front passenger side squib 2nd step) for measurement, as this may lead to a serious injury due to airbag deployment.

      NOTE:
      • Do not forcibly insert SST into the terminals of the connector when connecting.
      • Insert SST straight into the terminals of the connector.
      • SST: 09843-18061 
    3. Connect the cable to the negative (-) battery terminal.
    4. Turn the power switch on (IG), and wait for at least 60 seconds.
    5. Clear the DTCs stored in the memory. Refer to DTC CHECK / CLEAR .
    6. Turn the power switch off.
    7. Turn the power switch on (IG), and wait for at least 60 seconds.
    8. Check for DTCs. Refer to DTC CHECK / CLEAR .

      OK

      DTC B1815, B1816, B1817, B1818 or 54 is not output.

      TEXT IN ILLUSTRATION

      *1 Front Passenger Side Squib 2nd Step
      *2 Center Airbag Sensor Assembly
      *3 Front view of wire harness connector
      (to Front Passenger Airbag Assembly)
      *4 Connector E
      *5 Color: Black

      HINT: 

      Codes other than DTCs B1815, B1816, B1817, B1818 and 54 may be output at this time, but they are not related to this check.

    NG → See step   4 

    OK → See step   3 

  3. REPLACE FRONT PASSENGER AIRBAG ASSEMBLY. Refer to  REMOVAL 
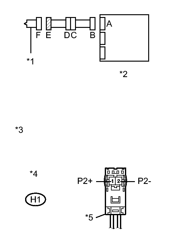
  4. CHECK FRONT PASSENGER SIDE SQUIB 2ND STEP CIRCUIT 
    1. Turn the power switch off.
      Fig 3: Identifying H1 Connector Terminals
      GTY233083Courtesy of © TOYOTA, LICENSE AGREEMENT TMS1002
    2. Disconnect the cable from the negative (-) battery terminal.
      WARNING:

      Wait at least 90 seconds after disconnecting the cable from the negative (-) battery terminal to disable the SRS system.

    3. Disconnect SST from connector E.
    4. Disconnect the instrument panel wire from the center airbag sensor assembly.
    5. Check for a short to B+ in the circuit.
      1. Connect the cable to the negative (-) battery terminal.
      2. Turn the power switch on (IG).
      3. Measure the voltage according to the value(s) in the table below.

        Standard Voltage

        Tester Connection Switch Condition Specified Condition
        H1-1 (P2+) - Body ground Power switch on (IG) Below 1 V
        H1-2 (P2-) - Body ground Power switch on (IG) Below 1 V
    6. Check for an open in the circuit.
      1. Turn the power switch off.
      2. Disconnect the cable from the negative (-) battery terminal.
        WARNING:

        Wait at least 90 seconds after disconnecting the cable from the negative (-) battery terminal to disable the SRS system.

      3. Measure the resistance according to the value(s) in the table below.

        Standard Resistance

        Tester Connection Condition Specified Condition
        H1-1 (P2+) - H1-2 (P2-) Always Below 1 Ω
    7. Check for a short to ground in the circuit.
      1. Measure the resistance according to the value(s) in the table below.

        Standard Resistance

        Tester Connection Condition Specified Condition
        H1-1 (P2+) - Body ground Always 1 MΩ or higher
        H1-2 (P2-) - Body ground Always 1 MΩ or higher
    8. Check for a short in the circuit.
      1. Release the activation prevention mechanism built into connector B. Refer to DIAGNOSIS SYSTEM .
      2. Measure the resistance according to the value(s) in the table below.

        Standard Resistance

        Tester Connection Condition Specified Condition
        H1-1 (P2+) - H1-2 (P2-) Always 1 MΩ or higher
        TEXT IN ILLUSTRATION

        *1 Front Passenger Side Squib 2nd Step
        *2 Center Airbag Sensor Assembly
        *3 Front view of wire harness connector
        (to Front Passenger Airbag Assembly)
        *4 Connector E
        *5 Color: Black

    NG → See step   6 

    OK: Go to next step 

  5. CHECK CENTER AIRBAG SENSOR ASSEMBLY 
    1. Restore the released activation prevention mechanism of connector B to the original condition.
      Fig 4: Checking Center Airbag Sensor Assembly
      GTY215328Courtesy of © TOYOTA, LICENSE AGREEMENT TMS1002
    2. Connect the connectors to the front passenger airbag assembly and center airbag sensor assembly.
    3. Connect the cable to the negative (-) battery terminal.
    4. Turn the power switch on (IG), and wait for at least 60 seconds.
    5. Clear the DTCs stored in the memory. Refer to DTC CHECK / CLEAR .
    6. Turn the power switch off.
    7. Turn the power switch on (IG), and wait for at least 60 seconds.
    8. Check for DTCs. Refer to DTC CHECK / CLEAR .

      OK

      DTCs B1815, B1816, B1817, B1818 or 54 is not output.

      TEXT IN ILLUSTRATION

      *1 Front Passenger Side Squib 2nd Step
      *2 Center Airbag Sensor Assembly

      HINT: 

      Codes other than DTCs B1815, B1816, B1817, B1818 and 54 may be output at this time, but they are not related to this check.

    NG → See step   8 

    OK → See step   9 

  6. CHECK INSTRUMENT PANEL WIRE 
    1. Restore the release activation prevention mechanism of connector B to the original condition.
      Fig 5: Identifying LH1 Connector Terminals
      GTY231219Courtesy of © TOYOTA, LICENSE AGREEMENT TMS1002
    2. Disconnect the No. 3 instrument panel wire from the instrument panel wire.
    3. Check for a short to B+ in the circuit.
      1. Connect the cable to the negative (-) battery terminal.
      2. Turn the power switch on (IG).
      3. Measure the voltage according to the value(s) in the table below.

        Standard Voltage

        Tester Connection Switch Condition Specified Condition
        LH1-3 (P2+) - Body ground Power switch on (IG) Below 1 V
        LH1-4 (P2-) - Body ground Power switch on (IG) Below 1 V
    4. Check for an open in the circuit.
      1. Turn the power switch off.
      2. Disconnect the cable from the negative (-) battery terminal.
        WARNING:

        Wait at least 90 seconds after disconnecting the cable from the negative (-) battery terminal to disable the SRS system.

      3. Measure the resistance according to the value(s) in the table below.

        Standard Resistance

        Tester Connection Condition Specified Condition
        LH1-3 (P2+) - LH1-4 (P2-) Always Below 1 Ω
    5. Check for a short to ground in the circuit.
      1. Measure the resistance according to the value(s) in the table below.

        Standard Resistance

        Tester Connection Condition Specified Condition
        LH1-3 (P2+) - Body ground Always 1 MΩ or higher
        LH1-4 (P2-) - Body ground Always 1 MΩ or higher
    6. Check for a short in the circuit.
      1. Release the activation prevention mechanism built into connector B. Refer to DIAGNOSIS SYSTEM .
      2. Measure the resistance according to the value(s) in the table below.

        Standard Resistance

        Tester Connection Condition Specified Condition
        LH1-3 (P2+) - LH1-4 (P2-) Always 1 MΩ or higher
        TEXT IN ILLUSTRATION

        *1 Front Passenger Side Squib 2nd Step
        *2 Center Airbag Sensor Assembly
        *3 No. 3 Instrument Panel Wire
        *4 Instrument Panel Wire
        *5 Front view of wire harness connector
        (to Instrument Panel Wire Assembly)
        *6 Connector C

    NG → REPLACE INSTRUMENT PANEL WIRE 

    OK: Go to next step 

  7. CHECK NO. 3 INSTRUMENT PANEL WIRE 
    1. Check for a short to B+ in the circuit.
      Fig 6: Identifying H1 Connector Terminals
      GTY220262Courtesy of © TOYOTA, LICENSE AGREEMENT TMS1002
      1. Connect the cable to the negative (-) battery terminal.
      2. Turn the power switch on (IG).
      3. Measure the voltage according to the value(s) in the table below.

        Standard Voltage

        Tester Connection Switch Condition Specified Condition
        H1-1 (P2+) - Body ground Power switch on (IG) Below 1 V
        H1-2 (P2-) - Body ground Power switch on (IG) Below 1 V
    2. Check for an open in the circuit.
      1. Turn the power switch off.
      2. Disconnect the cable from the negative (-) battery terminal.
        WARNING:

        Wait at least 90 seconds after disconnecting the cable from the negative (-) battery terminal to disable the SRS system.

      3. Measure the resistance according to the value(s) in the table below.

        Standard Resistance

        Tester Connection Condition Specified Condition
        H1-1 (P2+) - H1-2 (P2-) Always Below 1 Ω
    3. Check for a short to ground in the circuit.
      1. Measure the resistance according to the value(s) in the table below.

        Standard Resistance

        Tester Connection Condition Specified Condition
        H1-1 (P2+) - Body ground Always 1 MΩ or higher
        H1-2 (P2-) - Body ground Always 1 MΩ or higher
    4. Check for a short in the circuit.
      1. Release the activation prevention mechanism built into connector D. Refer to DIAGNOSIS SYSTEM .
      2. Measure the resistance according to the value(s) in the table below.

        Standard Resistance

        Tester Connection Condition Specified Condition
        H1-1 (P2+) - H1-2 (P2-) Always 1 MΩ or higher
        TEXT IN ILLUSTRATION

        *1 Front Passenger Side Squib 2nd Step
        *2 Center Airbag Sensor Assembly
        *3 No. 3 Instrument Panel Wire
        *4 Instrument Panel Wire
        *5 Front view of wire harness connector
        (to Front Passenger Airbag Assembly)
        *6 Connector E
        *7 Color: Black

    NG → REPLACE NO. 3 INSTRUMENT PANEL WIRE 

    OK → See step   9 

  8. REPLACE CENTER AIRBAG SENSOR ASSEMBLY. Refer to  REMOVAL 
  9. USE SIMULATION METHOD TO CHECK. Refer to  HOW TO PROCEED WITH TROUBLESHOOTING