LEMON Manuals: Even more car manuals for everyone: 1960-2025
Home >> Toyota >> 2012 >> Prius Four >> Repair and Diagnosis >> External Pages >> Different variant/trim >> Section 21 (Electronically Controlled Brake System (Plug-In) (Diagnostics - Introduction)) >> Electronically Controlled Brake System >> Check For Intermittent Problems >> Check For Intermittent Problems
April 5, 2026: LEMON Manuals is launched! Read the announcement.

Check For Intermittent Problems

WARNING: This page is about a different variant/trim than selected.
  1. CHECK FOR INTERMITTENT PROBLEMS 

    HINT: 

    A momentary interruption (open circuit) in the connectors and/or wire harnesses between the sensors and ECUs can be detected using the ECU Data List function of the Techstream.

    1. Turn the power switch off.
    2. Connect the Techstream to the DLC3.
    3. Turn the power switch on (IG).
    4. Turn the Techstream on.
    5. Follow the directions on the Techstream to display the Data List and select areas where momentary interruptions should be monitored.
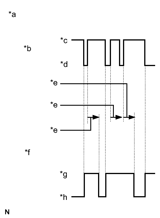
      Fig 1: Checking For Interruptions
      GTY325112Courtesy of © TOYOTA, LICENSE AGREEMENT TMS1002

      HINT: 

      • A momentary interruption (open circuit) cannot be detected for 3 seconds after the power switch is turned on (IG) (initial check).
      • If the Error display remains displayed, check for continuity between the ECUs and the sensors, or between ECUs.
      • The Error display on the Techstream will remain displayed for 1 second after the harness signal changes from momentary interruption (open circuit) to normal condition.
      TEXT IN ILLUSTRATION

      *a Harness Signal
      *b Momentary Interruption
      *c OK
      *d NG
      *e 1 sec.
      *f Techstream Display
      *g Error
      *h Normal
      ABS/VSC/TRAC

      Tester Display Measurement Item/Range Normal Condition Diagnostic Note
      FR Speed Open Front speed sensor RH open detection / Error or Normal Error: Momentary interruption
      Normal: Normal
      -
      FL Speed Open Front speed sensor LH open detection / Error or Normal Error: Momentary interruption
      Normal: Normal
      -
      RR Speed Open Rear speed sensor RH open detection / Error or Normal Error: Momentary interruption
      Normal: Normal
      -
      RL Speed Open Rear speed sensor LH open detection / Error or Normal Error: Momentary interruption
      Normal: Normal
      -
      Yaw Rate Open Yaw rate sensor open detection / Error or Normal Error: Momentary interruption
      Normal: Normal
      -
      Deceleration Open Acceleration sensor open detection / Error or Normal Error: Momentary interruption
      Normal: Normal
      -
      Steering Open Steering angle sensor open detection / Error or Normal Error: Momentary interruption
      Normal: Normal
      -
      Master Cylinder Open Regulator pressure sensor open detection / Error or Normal Error: Momentary interruption
      Normal: Normal
      -
      Stroke Open Brake pedal stroke sensor open detection / Error or Normal Error: Momentary interruption
      Normal: Normal
      -
      FR Wheel Cylinder Open Wheel cylinder pressure sensor open detection / Error or Normal Error: Momentary interruption
      Normal: Normal
      -
      Accumulator Open Accumulator pressure sensor open detection / Error or Normal Error: Momentary interruption
      Normal: Normal
      -
      HV Communication Open Hybrid vehicle communication open detection / Error or Normal Error: Momentary interruption
      Normal: Normal
      -
    6. While observing the screen, gently jiggle the connectors or wire harnesses between the ECUs and sensors, or between ECUs.
      Fig 2: Jiggling Connector Or Wire Harness Between ECU & Sensors
      GTY154846Courtesy of © TOYOTA, LICENSE AGREEMENT TMS1002

      OK

      Normal display appears.

      HINT: 

      If the display changes, this indicates that there has been a momentary interruption (open circuit) in the connector and/or wire harness. In this case, repair or replace the connectors and/or wire harnesses as one of them is faulty.