LEMON Manuals: Even more car manuals for everyone: 1960-2025
Home >> Toyota >> 2012 >> Prius Plug-in >> Repair and Diagnosis (Single Page) >> Accessories & Equipment >> Exterior Lights >> Auto Headlight Beam Level Control System (Plug-In) (Diagnostics - Introduction) >> Automatic Headlight Beam Level Control System >> System Diagram >> System Diagram
April 5, 2026: LEMON Manuals is launched! Read the announcement.

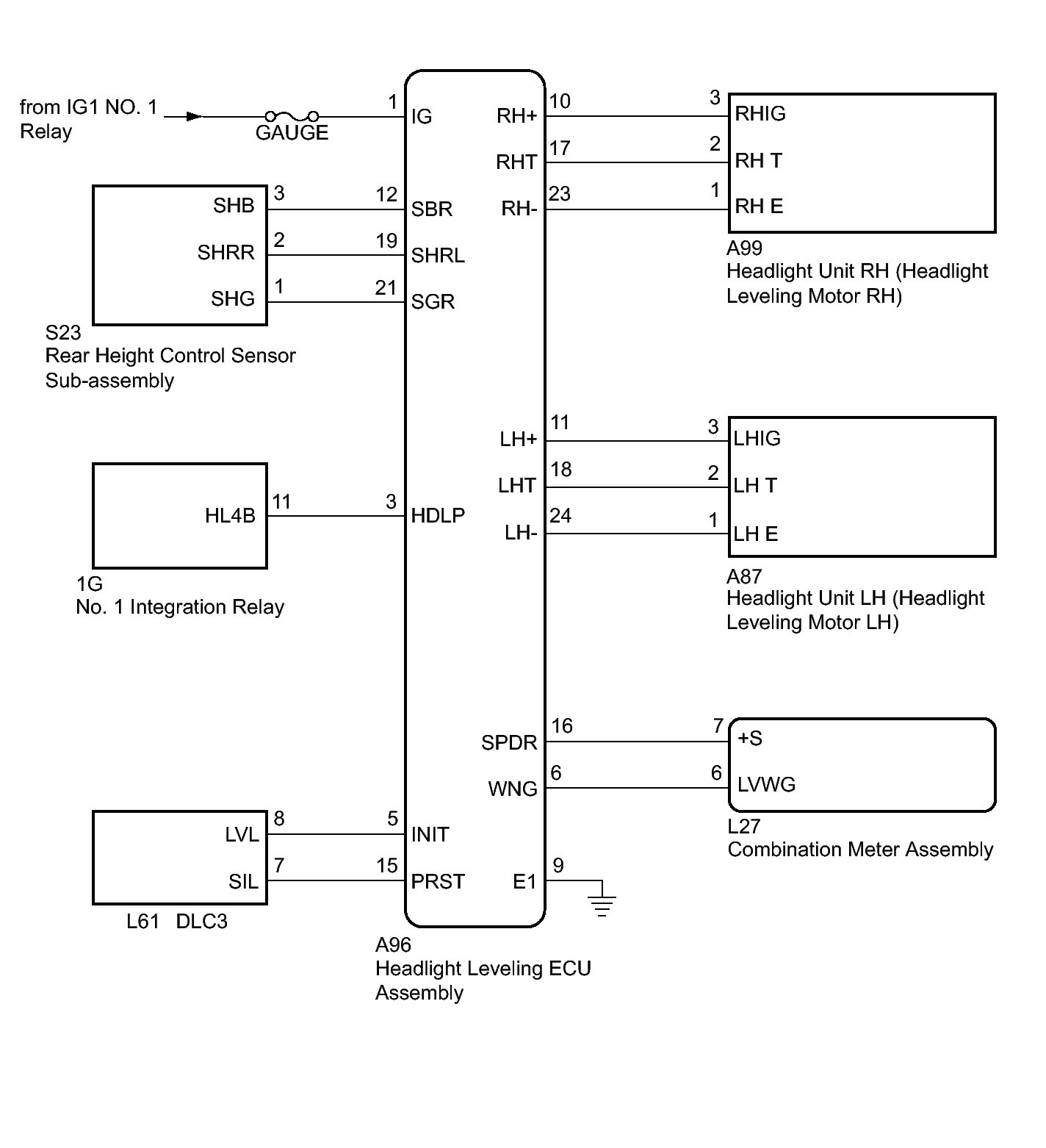
System Diagram

Fig 1: Identifying Automatic Headlight Beam Level Control System Circuit Diagram
GTY329089Courtesy of © TOYOTA, LICENSE AGREEMENT TMS1002