LEMON Manuals: Even more car manuals for everyone: 1960-2025
Home >> Toyota >> 2012 >> Prius Plug-in >> Repair and Diagnosis (Single Page) >> Engine Performance >> System >> Engine Control System (Plug-In) (Diagnostic Codes (P0505-U0293) & Circuit Tests) >> SFI System >> Circuit Tests >> EVAP System >> Description
April 5, 2026: LEMON Manuals is launched! Read the announcement.

EVAP System: Description

While the engine is running, if predetermined conditions (closed loop, etc.) are met, the purge VSV is opened by the ECM and stored fuel vapors in the canister are purged to the intake manifold. The ECM will change the duty cycle ratio of the purge VSV to control purge flow volume.

Purge flow volume is also determined by the intake manifold pressure. Atmospheric pressure is allowed to enter the canister through the vent valve to ensure that purge flow is maintained when negative pressure (vacuum) is applied to the canister.

The ECM monitors the condition of both the key-off monitor and purge flow monitor to ensure proper operation of the EVAP system.

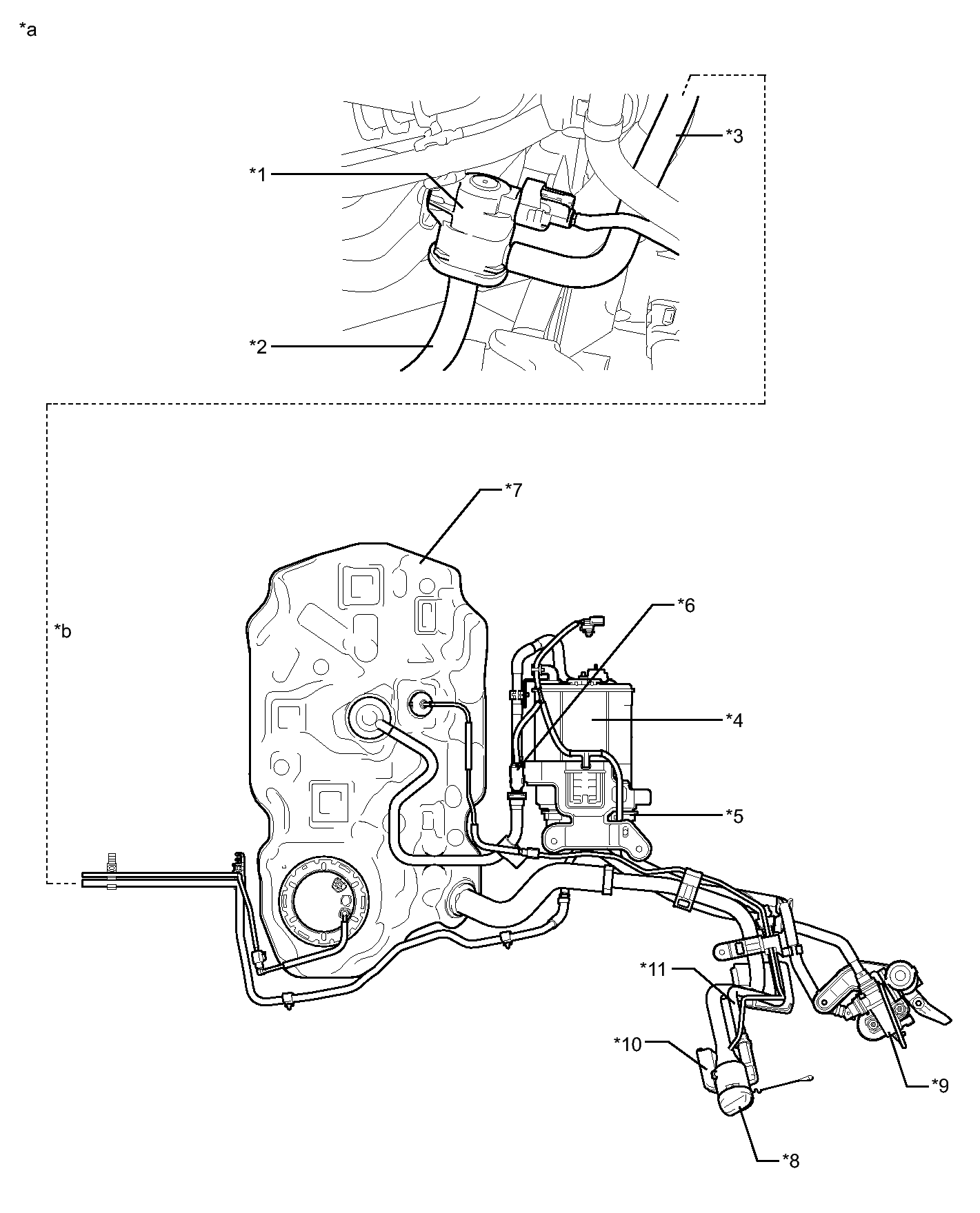
Fig 1: Identifying EVAP System Components
GTY336214Courtesy of © TOYOTA, LICENSE AGREEMENT TMS1002
TEXT IN ILLUSTRATION

*1 Purge VSV *2 EVAP Hose (to Intake Manifold)
*3 EVAP Hose (from Canister) *4 Canister
*5 Canister Pump Module
- Canister Pressure Sensor
- Leak Detection Pump
- Vent Valve
*6 Fuel Tank Pressure Sensor
*7 Fuel Tank *8 Fuel Cap
*9 Fuel Vapor-containment Valve *10 Canister Filter
*11 Air Inlet Port - -
*a Location of EVAP (Evaporative Emission) System *b Purge Line
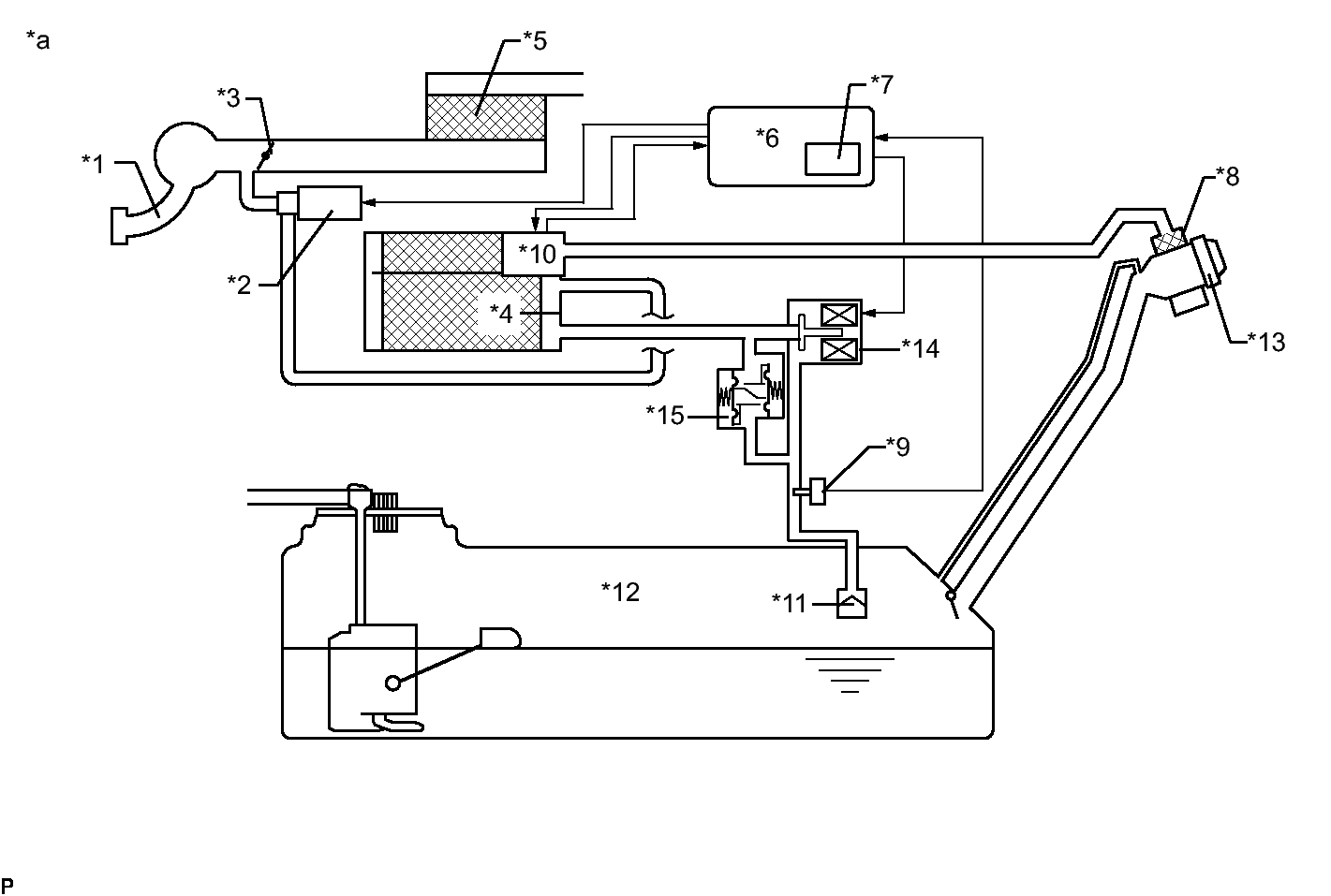
Fig 2: Identifying Evap System Components
GTY335340Courtesy of © TOYOTA, LICENSE AGREEMENT TMS1002
TEXT IN ILLUSTRATION

*1 Intake Manifold *2 Purge VSV
*3 Throttle Valve *4 Canister
*5 Air Cleaner *6 ECM
*7 Soak Timer *8 Canister Filter
*9 Fuel Tank Pressure Sensor *10 Canister Pump Module
- Canister Pressure Sensor
- Leak Detection Pump
- Vent Valve
*11 Cut-off Valve *12 Fuel Tank
*13 Fuel Cap *14 Fuel Vapor-containment Valve
*15 Fuel Outlet Valve (Relief Valve) - -
*a EVAP System Circuit - -
Component Operation
Canister Contains activated charcoal to absorb EVAP (Evaporative Emissions) generated in fuel tank.
Cut-off valve Located in the fuel tank. Valve closes by its own weight when vehicle is overturned to prevent fuel from spilling out.
Purge VSV Opens or closes line between canister and intake manifold. ECM uses purge VSV to control EVAP purge flow. In order to discharge EVAP absorbed by canister to intake manifold, ECM opens purge VSV. EVAP discharge volume to intake manifold controlled by purge VSV duty cycle (current-carrying time). (Open: on, Close: off)
Soak timer Built into ECM. To ensure that EVAP monitor values will be accurate, soak timer counts 5 hours (+/-15 minutes) from when power switch is turned off. This will allow fuel to cool down, which will stabilize EVAP pressure.
When approximately 5 hours have passed, ECM turns on (refer to fig. 3).
Fuel vapor-containment valve Opens and closes line between fuel tank and canister. When vehicle is stopped, this valve stays closed to keep fuel vapors in the tank and prevent them from being absorbed by canister. During refueling, valve opens to allow fuel vapors from tank to be absorbed by canister. When the vehicle is being driven, the valve maintains a slight positive pressure in the fuel tank.
Fuel tank pressure sensor Converts pressure in fuel tank into voltage reading for use by ECM. ECM supplies 5 V to sensor, and uses voltage reading that is output as feedback to allow monitoring of fuel tank pressure (refer to fig. 4).
Canister pump module Consists of (a) to (d) below. Canister pump module cannot be disassembled.
(a) Vent valve Vents and closes EVAP system. When ECM turns valve on, EVAP system is closed. When ECM turns valve off, EVAP system is vented. Negative pressure (vacuum) is created in EVAP system to check for EVAP leaks by closing purge VSV, turning on vent valve (closing it) and operating leak detection pump (refer to fig. 1).
(b) Canister pressure sensor Indicates pressure as voltages. ECM supplies regulated 5 V to pressure sensor, and uses feedback from sensor to monitor EVAP system pressure (refer to fig. 2).
(c) Leak detection pump Creates negative pressure (vacuum) in EVAP system for leak check.
(d) Reference orifice Has opening with 0.02 inch diameter. Vacuum is produced through orifice by closing purge VSV, turning off vent valve and operating leak detection pump, to monitor reference pressure. Reference pressure is used when checking for small EVAP leaks.
Fig 3: Identifying EVAP System Components
GTY303935Courtesy of © TOYOTA, LICENSE AGREEMENT TMS1002
TEXT IN ILLUSTRATION

*1 Canister *2 Reference Orifice (0.02 Inch)
*3 Canister Pressure Sensor - -
*a Canister Pump Module (fig. 1) *b Airflow
*c Condition: Purge Flow *d Condition: Leak Check
*e Vent Valve: Off (Vent) *f to Canister Filter (Atmosphere)
*g Leak Detection Pump: Off *h Vent Valve: On (Closed)
*i Leak Detection Pump: On - -
Fig 4: Identifying Canister Pressure Sensor Output Voltage Graph
GTY321121Courtesy of © TOYOTA, LICENSE AGREEMENT TMS1002
Fig 5: Identifying Soak Timer Circuit Diagram
GTY337414Courtesy of © TOYOTA, LICENSE AGREEMENT TMS1002
Fig 6: Identifying EVAP System DTC Detection Logic Graph
GTY334293Courtesy of © TOYOTA, LICENSE AGREEMENT TMS1002

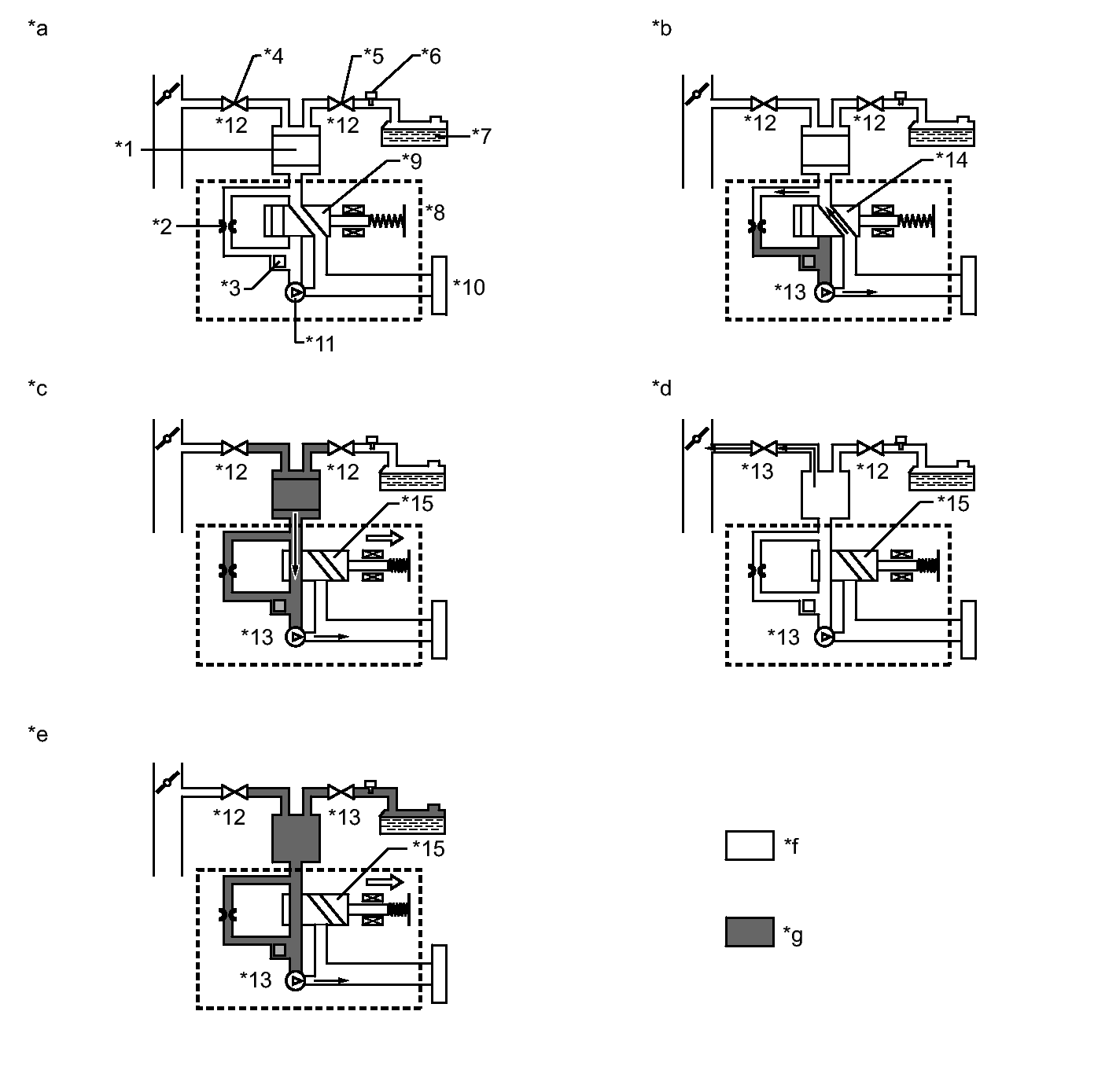
Key-off Monitor 

This monitor checks for EVAP (evaporative emission) system leaks and canister pump module malfunctions. The monitor starts 5 hours* after the power switch is turned off. At least 5 hours are required for the fuel to cool down to stabilize the EVAP pressure, thus making the EVAP system monitor more accurate.

The leak detection pump creates negative pressure (vacuum) in the EVAP system and the pressure is measured. Finally, the ECM monitors for leaks from the EVAP system, and malfunctions in both the canister pump module and purge VSV based on the EVAP pressure.

HINT: 

*: If the engine coolant temperature is not less than 35°C (95°F) 5 hours after the power switch is turned off, the monitor check starts 2 hours later. If it is still not less than 35°C (95°F) 7 hours after the power switch is turned off, the monitor check starts 2.5 hours later.

  1. If the fuel tank pressure is higher or lower than the atmospheric pressure, the system determines that there are no leaks in the closed tank system and the system will check for leaks from the piping and canister between the purge VSV and canister pump module. (Method A)
  2. If the fuel tank pressure is almost the same as the atmospheric pressure, vacuum will be allowed to enter the fuel tank and the system will check for leaks from the fuel tank after checking for leaks from the canister. (Method B)
Fig 7: Identifying EVAP System DTC Detection Logic Graph
GTY330363Courtesy of © TOYOTA, LICENSE AGREEMENT TMS1002
Fig 8: Identifying EVAP System DTC Detection Logic Graph
GTY342396Courtesy of © TOYOTA, LICENSE AGREEMENT TMS1002
Sequence Operation Description Duration
- ECM activation Activated by soak timer, 5 hours (7 or 9.5 hours) after power switch turned off. -
A Atmospheric pressure measurement Vent valve turned off (vent) and EVAP system pressure is measured by ECM in order to register atmospheric pressure.
If pressure in EVAP system is not between 70 kPa(abs) and 111 kPa(abs) [525 mmHg(abs) and 832 mmHg(abs)], ECM cancels EVAP system monitor.
60 seconds
B First reference pressure measurement In order to determine reference pressure, leak detection pump creates negative pressure (vacuum) through reference orifice and then ECM checks if leak detection pump and vent valve operate normally. 360 seconds
C EVAP system pressure measurement Vent valve is turned on (closed) to shut EVAP system.
Negative pressure (vacuum) is created in EVAP system, and EVAP system pressure is then measured.
Write down measured values as they will be used in leak check.
If EVAP pressure does not stabilize within 15 minutes, ECM cancels EVAP system monitor.
15 minutes
D Purge VSV monitor Purge VSV opens and then EVAP system pressure is measured by ECM.
Large increase indicates normal.
10 seconds
E Second reference pressure measurement After second reference pressure measurement, leak check is performed by comparing first and second reference pressure.
If stabilized system pressure is higher than second reference pressure, ECM determines that EVAP system has a leak.
60 seconds
F Resetting Fuel tank pressure is compared with atmospheric pressure. If tank pressure is higher than PH or lower than PL, ECM determines that EVAP system is normal and runs sequence I in method A. If tank pressure is around atmospheric pressure, ECM performs sequence G in method B. 5 seconds
G Fuel tank pressure measurement Vent valve is turned on (closed). Fuel vapor-containment valve opens to allow negative pressure to enter the fuel tank and fuel tank pressure is measured.
Write down measured values because they will be used in leak check.
If fuel tank pressure does not stabilize within 15 minutes, ECM stops monitoring.
15 minutes*
H Third reference pressure measurement After third reference pressure measurement, leak check of fuel tank is performed. If recorded fuel tank pressure is higher than third reference pressure, ECM determines that EVAP system has a leak. 60 seconds
I Fuel vapor-containment valve stuck closed check Fuel vapor-containment valve is opened for a certain period of time to check whether the valve is stuck closed. 0.1 second
J Final check Atmospheric pressure is measured and then monitoring result is recorded by ECM. -

HINT: 

*: If there is only a small amount of fuel in the fuel tank, stabilizing the EVAP pressure takes longer than usual.

Fig 9: Identifying EVAP System Flow
GTY341798Courtesy of © TOYOTA, LICENSE AGREEMENT TMS1002
TEXT IN ILLUSTRATION

*1 Canister *2 Reference Orifice (0.02 inch)
*3 Canister Pressure Sensor *4 Purge VSV
*5 Fuel Vapor-containment Valve *6 Fuel Tank Pressure Sensor
*7 Fuel Tank *8 Canister Pump Module
*9 Vent Valve: OFF (Vent) *10 Canister Filter
*11 Leak Detection Pump: OFF *12 OFF
*13 ON *14 OFF (Vent)
*15 ON (Closed) - -
*a Operation A *b Operation B, E, H
*c Operation C *d Operation D
*e Operation F, I *f Atmospheric Pressure
*g Negative Pressure - -

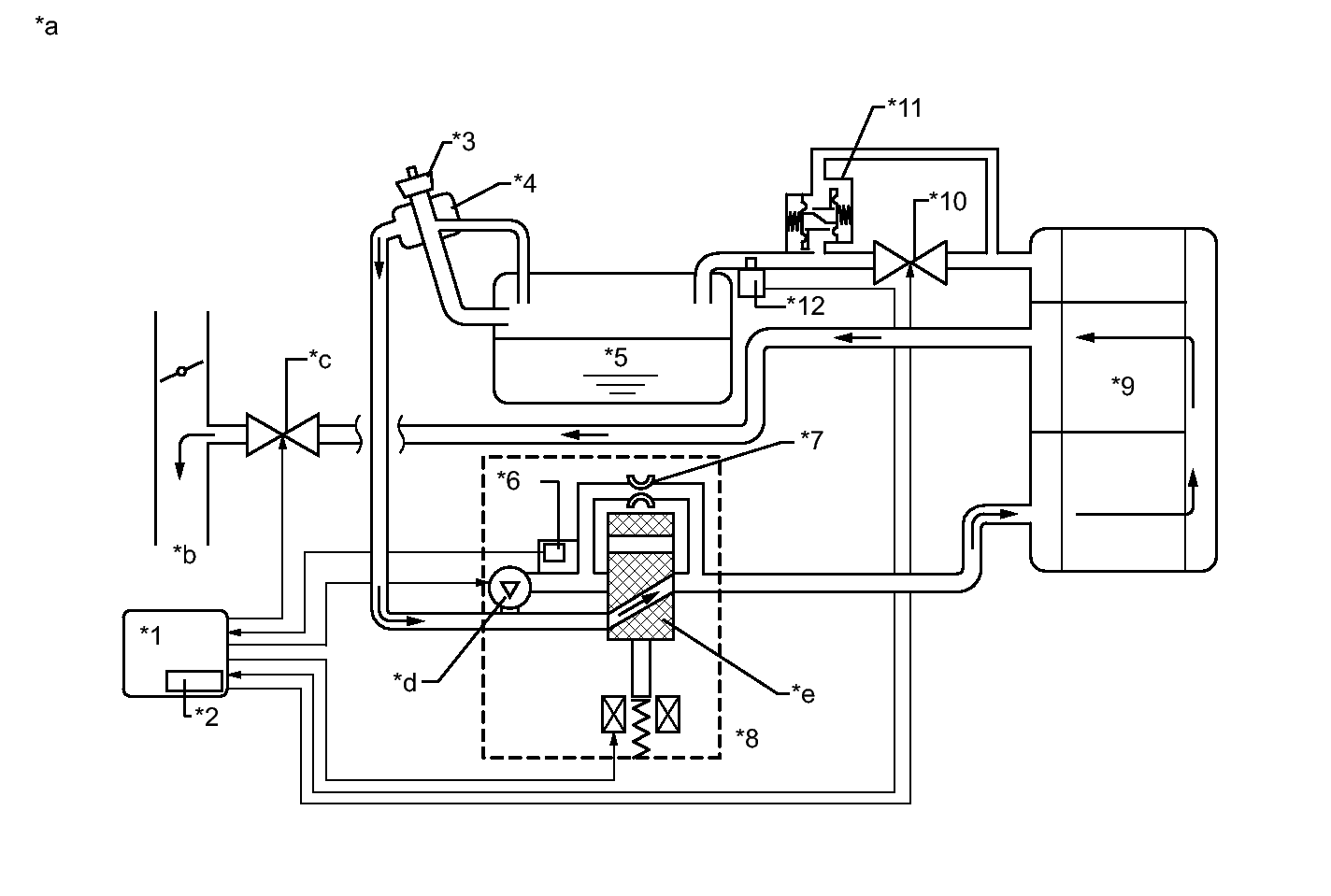
Purge Flow Monitor 

The purge flow monitor consists of the 2 monitors. The 1st monitor is conducted every time and the 2nd monitor is activated if necessary.

Fig 10: Identifying EVAP System Components
GTY332577Courtesy of © TOYOTA, LICENSE AGREEMENT TMS1002
TEXT IN ILLUSTRATION

*1 ECM *2 Soak Timer
*3 Fuel Cap *4 Canister Filter
*5 Fuel Tank *6 Canister Pressure Sensor
*7 Reference Orifice (0.02 inch) *8 Canister Pump Module
*9 Canister *10 Fuel Vapor-containment Valve
*11 Fuel Outlet Valve (Relief Valve) *12 Fuel Tank Pressure Sensor
*a EVAP Purge Flow *b to Intake Manifold
*c Purge VSV (on) *d Leak Detection Pump (off)
*e Vent Valve (off) - -