LEMON Manuals: Even more car manuals for everyone: 1960-2025
Home >> Toyota >> 2012 >> Prius Plug-in >> Repair and Diagnosis (Single Page) >> Engine Performance >> System >> Engine Control System (Plug-In) (Diagnostic Codes (P0505-U0293) & Circuit Tests) >> SFI System >> Circuit Tests >> EVAP System >> Procedure
April 5, 2026: LEMON Manuals is launched! Read the announcement.

EVAP System: Procedure

  1. CONFIRM DTC 
    1. Turn the power switch off and wait 10 seconds.
    2. Turn the power switch on (IG).
    3. Turn the power switch off and wait 10 seconds.
    4. Connect the Techstream to the DLC3.
    5. Turn the power switch on (IG) and turn the Techstream on.
    6. Enter the following menus: Powertrain / Engine and ECT / Trouble Codes.
    7. Confirm the DTCs and freeze frame data.
      EVAP RELATED DTCS

      DTC No. Monitoring Item
      P043E Reference orifice low flow
      P043F Reference orifice high flow
      P0441
      • Purge VSV stuck closed
      • Purge VSV stuck open
      • Insufficient purge flow
      P1420 Small leak from canister
      P1421 Gross leak from canister
      P1422 Small leak from fuel tank
      P1423 Gross leak from fuel tank
      P2401 Leak detection pump stuck OFF
      P2402 Leak detection pump stuck ON
      P2419 Vent valve stuck ON (closed)
      P2420 Vent valve stuck OFF (vent)
      P2450 Fuel vapor-containment valve stuck open
      P2451 Fuel vapor-containment valve stuck closed
      DTC AND MALFUNCTION CROSS-REFERENCE

      Malfunction Output DTC
      Reference orifice low flow P043E, P043F, P2401, P2402, P2419
      Reference orifice high flow P043E, P043F, P2401, P2402, P2419
      Leak detection pump stuck OFF P043E, P043F, P2401, P2402, P2419
      Leak detection pump stuck ON P043E, P043F, P2401, P2402, P2419
      Vent valve stuck ON (closed) P043E, P043F, P2401, P2402, P2419
      Vent valve stuck OFF (vent) P2420
      Insufficient purge flow P0441
      Purge VSV stuck open P0441, P1421
      Purge VSV stuck closed P0441
      Small leak from canister P1420
      Gross leak from canister P0441, P1421
      Small leak from fuel tank P1422
      Gross leak from fuel tank P1423
      Fuel vapor-containment valve stuck open P1423, P2450
      Fuel vapor-containment valve stuck closed P2451

    NEXT: Go to next step 

  2. PERFORM EVAPORATIVE SYSTEM CHECK (AUTOMATIC MODE) 
    NOTE:
    • The Evaporative System Check (Automatic Mode) consists of 9 steps performed automatically by the Techstream. It takes a maximum of approximately 40 minutes.
    • Do not perform the Evaporative System Check when the fuel tank is higher than 90% full because the cut-off valve may be closed, making the fuel tank leak check unavailable.
    • Do not run the engine during this operation.
    • When the temperature of the fuel is 35°C (95°F) or higher, a large amount of vapor forms and any check results become inaccurate. When performing the Evaporative System Check, keep the fuel temperature less than 35°C (95°F).
    1. Clear the DTCs.
    2. Remove the fuel tank cap and reinstall the fuel cap.
    3. Enter the following menus: Powertrain / Engine and ECT / Utility / Evaporative System Check / Automatic Mode.
    4. After the Evaporative System Check is completed, check for pending DTCs.
      RESULT

      Result Conclusion Proceed to
      A pending DTC is stored A malfunction occurs and troubleshooting can be performed A
      A pending DTC is not stored No malfunctions occur and it is difficult to perform troubleshooting B
      A pending DTC is not stored and any of the current DTCs (P1422, P1423, or P2450) is stored DTCs are stored because the fuel tank cap is not tightened firmly C

    B → See step   37 

    C → END 

    A: Go to next step 

  3. IDENTIFY TROUBLE AREAS USING DTC 
    1. Refer to the table below to determine the next procedure according to the output DTCs.
      RESULT

      Malfunction Output DTC Proceed to
      Reference orifice low flow P043E, P043F, P2401, P2402 and P2419 B
      Reference orifice high flow P043E, P043F, P2401, P2402 and P2419 B
      Leak detection pump stuck off P043E, P043F, P2401, P2402 and P2419 B
      Leak detection pump stuck on P043E, P043F, P2401, P2402 and P2419 B
      Vent valve stuck on (closed) P043E, P043F, P2401, P2402 and P2419 B
      Vent valve stuck off (vent) P2420 C
      Insufficient purge flow P0441 A
      Purge VSV stuck open P0441 and P1421 A
      Purge VSV stuck closed P0441 A
      Small leak from canister P1420 D
      Gross leak from canister P0441 and P1421 A
      Small leak from fuel tank P1422 A
      Gross leak from fuel tank P1423 A
      Fuel vapor-containment valve stuck open P1423 and P2450 A
      Fuel vapor-containment valve stuck closed P2451 A

    B → See step   11 

    C → See step   17 

    D → See step   6 

    A: Go to next step 

  4. IDENTIFY TROUBLE AREAS USING DTC 
    1. Refer to the table below to determine the next procedure according to the output DTCs.
      RESULT

      Malfunction Output DTC Proceed to
      Insufficient purge flow P0441 A
      Purge VSV stuck open P0441, P1421 A
      Purge VSV stuck closed P0441 A
      Gross leak from canister P0441, P1421 A
      Small leak from fuel tank P1422 B
      Gross leak from fuel tank P1423 B
      Fuel vapor-containment valve stuck open P1423, P2450 C
      Fuel vapor-containment valve stuck closed P2451 C

    B → See step   22 

    C → See step   25 

    A: Go to next step 

  5. CHECK VACUUM HOSE (PURGE VSV - INTAKE MANIFOLD) 
    1. Disconnect the hose (connected to the intake manifold) from the purge VSV.
      Fig 1: Identifying Purge VSV & Intake Manifold Hose
      GTY215886Courtesy of © TOYOTA, LICENSE AGREEMENT TMS1002
    2. Put the engine in inspection mode (maintenance mode). Refer to INSPECTION MODE PROCEDURE .
    3. Start the engine.
    4. Use your finger to confirm that the hose has suction.
      TEXT IN ILLUSTRATION

      *1 Purge VSV
      *2 Hose (to Intake Manifold)
      RESULT

      Result Suspected Trouble Area Proceed to
      Suction applied EVAP hose between purge VSV and intake manifold normal A
      No suction
      • Intake manifold port
      • EVAP hose between purge VSV and intake manifold
      B

    B → See step   33 

    A: Go to next step 

  6. PERFORM ACTIVE TEST USING TECHSTREAM (ACTIVATE THE VSV FOR EVAP CONTROL) 
    1. Disconnect the hose (connected to the canister) from the purge VSV.
    2. Connect the Techstream to the DLC3.
      Fig 2: Identifying Purge VSV & Hose (To Canister)
      GTY236847Courtesy of © TOYOTA, LICENSE AGREEMENT TMS1002
    3. Turn the power switch on (IG).
    4. Turn the Techstream on.
    5. Put the engine in inspection mode (maintenance mode). Refer to INSPECTION MODE PROCEDURE .
    6. Start the engine.
    7. Enter the following menus: Powertrain / Engine and ECT / Active Test / Activate the VSV for Evap Control.
    8. Using the Techstream, turn off the purge VSV (Activate the VSV for Evap Control: OFF).
    9. Use your finger to confirm that the purge VSV has no suction.
    10. Using the Techstream, turn on the purge VSV (Activate the VSV for Evap Control: ON).
    11. Use your finger to confirm that the purge VSV has suction.
      TEXT IN ILLUSTRATION

      *1 Purge VSV
      *2 Hose (to Canister)
      RESULT

      Result Suspected Trouble Area Proceed to
      Suction applied when purge VSV turned off
      • Purge VSV stuck open
      • ECM
      A
      No suction when purge VSV turned on Purge VSV stuck closed A
      No suction when purge VSV turned off, and suction applied when turned on Purge VSV normal B

    B → See step   20 

    A: Go to next step 

  7. CHECK PURGE VSV 
    1. Remove the purge VSV.
      Fig 3: Checking Purge VSV
      GTY223864Courtesy of © TOYOTA, LICENSE AGREEMENT TMS1002
    2. Apply compressed air to the purge VSV, and confirm that no air flows from A to B as shown in the illustration.
    3. Apply auxiliary battery voltage to the purge VSV.
    4. While applying compressed air, confirm that air flows from A to B as shown in the illustration.
      TEXT IN ILLUSTRATION

      *1 Purge VSV
      RESULT

      Result Proceed to
      Air flows from A to B only when auxiliary battery voltage applied to purge VSV.
      Conclusion: purge VSV is normal.
      A
      No air flows from A to B when auxiliary battery voltage is applied to purge VSV.
      Conclusion: purge VSV is malfunctioning.
      B
      Air flows from A to B when auxiliary battery voltage is not applied to purge VSV.
      Conclusion: purge VSV is malfunctioning.
      B

    B → See step   29 

    A: Go to next step 

  8. CHECK HARNESS AND CONNECTOR (POWER SOURCE OF PURGE VSV) 
    1. Disconnect the purge VSV connector.
      Fig 4: Identifying D11 Purge VSV Connector Terminals
      GTY222008Courtesy of © TOYOTA, LICENSE AGREEMENT TMS1002
    2. Turn the power switch on (IG).
    3. Measure the voltage according to the value(s) in the table below.
      TEXT IN ILLUSTRATION

      *a Front view of wire harness connector
      (to Purge VSV)
      RESULT

      Tester Connection Condition Specified Condition Suspected Trouble Area Proceed to
      D11-2 - Body ground Power switch on (IG) 11 to 14 V Normal A
      Other than result above Wire harness or connectors between purge VSV and EFI MAIN relay B

    B → See step   36 

    A: Go to next step 

  9. CHECK HARNESS AND CONNECTOR (PURGE VSV - ECM) 
    1. Disconnect the ECM connector.
    2. Disconnect the purge VSV connector.
    3. Measure the resistance according to the value(s) in the table below.

      Standard Resistance (Check for Open)

      Tester Connection Condition Specified Condition
      D28-28 (PRG) - D11-1 Always Below 1 Ω
      D28-28 (PRG) or D11-1 - Body ground Always 10 kΩ or higher

    NG → See step   36 

    OK: Go to next step 

  10. REPLACE ECM 
    1. Replace the ECM. Refer to REMOVAL .

    NEXT → PERFORM EVAPORATIVE SYSTEM CHECK AGAIN (AUTOMATIC MODE) 

  11. PERFORM ACTIVE TEST USING TECHSTREAM (ACTIVATE THE VACUUM PUMP) 
    1. Connect the Techstream to DLC3.
    2. Turn the power switch on (IG).
    3. Enter the following menus: Powertrain / Engine and ECT / Active Test / Activate the Vacuum Pump.
    4. Turn the vacuum pump (leak detection pump) on with the Techstream.
    5. Touch the canister pump module and check if the pump is moving.

      OK

      Pump operates

    NG → See step   13 

    OK: Go to next step 

  12. PERFORM ACTIVE TEST USING TECHSTREAM (ACTIVATE THE VSV FOR VENT VALVE) 
    1. Connect the Techstream to DLC3.
    2. Turn the power switch on (IG).
    3. Enter the following menus: Powertrain / Engine and ECT / Active Test / Activate the VSV for Vent Valve.
    4. Touch the canister pump module, use the Techstream to turn the vent valve ON and OFF, and check if the vent valve is moving.

      OK

      Vent valve vibration can be felt.

    OK → See step   30 

    NG → See step   17 

  13. CHECK CANISTER PUMP MODULE (LEAK DETECTION PUMP POWER SOURCE CIRCUIT) 
    1. Disconnect the canister pump module connector.
      Fig 5: Checking z32 Connector Terminals
      GTY328916Courtesy of © TOYOTA, LICENSE AGREEMENT TMS1002
    2. Connect the Techstream to the DLC3.
    3. Turn the power switch on (IG).
    4. Enter the following menus: Powertrain / Engine and ECT / Active Test / Activate the Vacuum Pump.
    5. Turn the vacuum pump (leak detection pump) on using the Techstream.
    6. Measure the voltage according to the value(s) in the table below.

      Standard Voltage

      Tester Connection Condition Specified Condition
      z32-3 (MTRB) - z32-4 (MGND) Vacuum pump on using the Techstream 10 to 14 V
      Vacuum pump off using the Techstream Below 3 V
      TEXT IN ILLUSTRATION

      *a Front view of wire harness connector
      (to Canister Pump Module)
      - -
      RESULT

      Result Proceed to
      Out of standard range A
      Within standard range B

    B → See step   30 

    A: Go to next step 

  14. CHECK HARNESS AND CONNECTOR (CANISTER PUMP MODULE - BODY GROUND) 
    1. Disconnect the canister pump module connector.
    2. Measure the resistance according to the value(s) in the table below.

      Standard Resistance

      Tester Connection Condition Specified Condition
      z32-4 (MGND) - Body ground Always Below 1 Ω

    NG → See step   36 

    OK: Go to next step 

  15. CHECK HARNESS AND CONNECTOR (CANISTER PUMP MODULE - ECM) 
    1. Disconnect the ECM connector.
    2. Disconnect the canister pump module connector.
    3. Measure the resistance according to the value(s) in the table below.

      Standard Resistance (Check for Open)

      Tester Connection Condition Specified Condition
      A57-34 (MPMP) - z32-3 (MTRB) Always Below 1 Ω
      A57-34 (MPMP) or z32-3 (MTRB) - Body ground Always 10 kΩ or higher

    NG → See step   36 

    OK: Go to next step 

  16. REPLACE ECM 
    1. Replace the ECM. Refer to REMOVAL .

    NEXT → PERFORM EVAPORATIVE SYSTEM CHECK AGAIN (AUTOMATIC MODE) 

  17. CHECK CANISTER PUMP MODULE (VENT VALVE POWER SOURCE CIRCUIT) 
    1. Disconnect the canister pump module connector.
      Fig 6: Checking Z32 Connector Terminals
      GTY327186Courtesy of © TOYOTA, LICENSE AGREEMENT TMS1002
    2. Turn the power switch on (IG).
    3. Measure the voltage according to the value(s) in the table below.

      Standard Voltage

      Tester Connection Condition Specified Condition
      z32-5 (VLVB) - Body ground Power switch on (IG) 10 to 14 V
      TEXT IN ILLUSTRATION

      *a Front view of wire harness connector
      (to Canister Pump Module)
      - -
      RESULT

      Voltage Proceed to
      Within standard range A
      Out of standard range B

    B → See step   36 

    A: Go to next step 

  18. INSPECT CANISTER PUMP MODULE (VENT VALVE OPERATION) 
    1. Disconnect the canister pump module connector.
      Fig 7: Inspecting Canister Pump Module
      GTY339421Courtesy of © TOYOTA, LICENSE AGREEMENT TMS1002
    2. Apply auxiliary battery voltage to VLVB and VGND terminals of the canister pump module.
    3. Touch the canister pump module to confirm the vent valve operation.
      TEXT IN ILLUSTRATION

      *a Component without harness connected
      (Canister)
      RESULT

      Result Suspected Trouble Area Proceed to
      Operating ECM A
      Not operating Vent valve B

    B → See step   30 

    A: Go to next step 

  19. REPLACE ECM 
    1. Replace the ECM. Refer to REMOVAL .

    NEXT → PERFORM EVAPORATIVE SYSTEM CHECK AGAIN (AUTOMATIC MODE) 

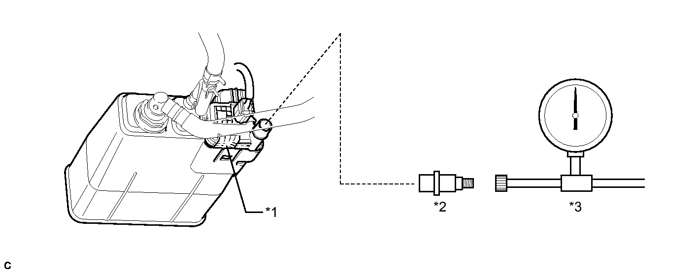
  20. CHECK HOSES (PURGE VSV - CANISTER) 
    1. Connect the EVAP pressure tester tool to the canister pump module with the adapter.
      Fig 8: Identifying Canister Pump Module & EVAP Pressure Tester Tool
      GTY343095Courtesy of © TOYOTA, LICENSE AGREEMENT TMS1002
      TEXT IN ILLUSTRATION

      *1 Canister Pump Module *2 Adapter
      *3 EVAP Pressure Tester Tool - -
    2. Confirm good connection at the canister pump module.
    3. Pressurize the EVAP system to between 3.2 and 3.7 kPa(gauge) [24 and 28 mmHg(gauge)].
      NOTE:

      Higher than 4.7 kPa(gauge) [35 mmHg(gauge)] of pressure will damage the EVAP system. Pay attention to the pressure.

    4. Apply soapy water to the piping and connections of the EVAP system.
    5. Look for areas where bubbles appear.

      HINT: 

      If the system has leaks, a whistling sound will be heard.

    NEXT: Go to next step 

  21. REPLACE MALFUNCTIONING PART 
    1. Repair or replace the leak point.

    NEXT → PERFORM EVAPORATIVE SYSTEM CHECK AGAIN (AUTOMATIC MODE) 

  22. CHECK FUEL CAP 
    1. Check that the fuel cap is correctly installed and confirm that the fuel cap meets OEM specifications.
    2. Tighten the fuel cap until a few click sounds are heard.

      HINT: 

      If an EVAP tester is available, check the fuel cap using the tester.

      1. Remove the fuel cap and install it onto a fuel cap adapter.
      2. Connect an EVAP tester pump hose to the adapter, and pressurize the cap to 3.2 to 3.7 kPa(gauge) [24 to 27.75 mmHg(gauge)] using an EVAP tester pump.
      3. Seal the adapter and wait for 2 minutes.
      4. Check the pressure. If the pressure is 2 kPa(gauge) [15 mmHg(gauge)] or higher, the fuel cap is normal.
        RESULT

        Result Suspected Trouble Area Proceed to
        Fuel cap correctly installed - A
        Fuel cap loose
        • Fuel cap improperly installed
        • Defective fuel cap
        • Fuel cap does not meet OEM specifications
        B

    B → See step   32 

    A: Go to next step 

  23. CHECK HOSES (FUEL VAPOR-CONTAINMENT VALVE - FUEL TANK) 
    1. Connect the EVAP pressure tester tool to the canister pump module with the adapter.
      Fig 9: Identifying Canister Pump Module & EVAP Pressure Tester Tool
      GTY343095Courtesy of © TOYOTA, LICENSE AGREEMENT TMS1002
      TEXT IN ILLUSTRATION

      *1 Canister Pump Module *2 Adapter
      *3 EVAP Pressure Tester Tool - -
    2. Connect the Techstream to the DLC3.
    3. Turn the power switch on (IG).
    4. Turn the Techstream on.
    5. Enter the following menus: Powertrain / Engine and ECT / Active Test / Activate the Fuel Vapor-Containment Valve.
    6. Turn the fuel vapor-containment valve ON using the Techstream.
    7. Confirm good connection at the canister pump module.
    8. Pressurize the EVAP system to between 3.2 and 3.7 kPa(gauge) [24 and 28 mmHg(gauge)].
      NOTE:

      Higher than 4.7 kPa(gauge) [35 mmHg(gauge)] of pressure will damage the EVAP system. Pay attention to the pressure.

    9. Apply soapy water to the piping and connections of the EVAP system.
    10. Look for areas where bubbles appear.

      HINT: 

      If the system has leaks, a whistling sound will be heard.

    NEXT: Go to next step 

  24. REPLACE MALFUNCTIONING PART 
    1. Repair or replace the leak point.

    NEXT → PERFORM EVAP SYSTEM CHECK AGAIN (AUTO OPERATION) 

  25. CHECK FUEL VAPOR-CONTAINMENT VALVE (POWER SOURCE CIRCUIT) 
    1. Disconnect the fuel vapor-containment valve connector.
      Fig 10: Checking R53 Connector Terminals
      GTY339031Courtesy of © TOYOTA, LICENSE AGREEMENT TMS1002
    2. Turn the power switch on (IG).
    3. Measure the voltage according to the value(s) in the table below.
      TEXT IN ILLUSTRATION

      *a Front view of wire harness connector
      (to Fuel Vapor-Containment Valve)

      Standard Voltage

      Tester Connection Condition Specified Condition
      R53-2 (+B) - R53-1 (CCV) Power switch on (IG) 10 to 14 V

    NG → See step   36 

    OK: Go to next step 

  26. INSPECT FUEL VAPOR-CONTAINMENT VALVE 
    1. Inspect the fuel vapor-containment valve. Refer to INSPECTION .

    NG → See step   31 

    OK: Go to next step 

  27. CHECK HARNESS AND CONNECTOR (FUEL VAPOR-CONTAINMENT VALVE - ECM) 
    1. Disconnect the ECM connector.
    2. Disconnect the fuel vapor-containment valve connector.
    3. Measure the resistance according to the value(s) in the table below.

      Standard Resistance (Check for Open)

      Tester Connection Condition Specified Condition
      D28-25 (CCV2) - R53-1 (CCV) Always Below 1 Ω
      D28-25 (CCV2) or R53-1 (CCV) - Body ground Always 10 kΩ or higher

    NG → See step   36 

    OK: Go to next step 

  28. REPLACE ECM 
    1. Replace the ECM. Refer to REMOVAL .

    NEXT → PERFORM EVAPORATIVE SYSTEM CHECK AGAIN (AUTOMATIC MODE) 

  29. REPLACE PURGE VSV 
    1. Replace the purge VSV. Refer to REMOVAL .

    NEXT → PERFORM EVAPORATIVE SYSTEM CHECK AGAIN (AUTOMATIC MODE) 

  30. REPLACE CANISTER 
    1. Replace the canister. Refer to REMOVAL .

    NEXT → PERFORM EVAPORATIVE SYSTEM CHECK AGAIN (AUTOMATIC MODE) 

  31. REPLACE FUEL VAPOR-CONTAINMENT VALVE 
    1. Replace the fuel vapor-containment valve. Refer to REMOVAL .

    NEXT → PERFORM EVAPORATIVE SYSTEM CHECK AGAIN (AUTOMATIC MODE) 

  32. REPLACE FUEL CAP 
    1. Replace the fuel cap.

    NEXT → PERFORM EVAPORATIVE SYSTEM CHECK AGAIN (AUTOMATIC MODE) 

  33. INSPECT INTAKE MANIFOLD (EVAP PURGE PORT) 
    1. Disconnect the EVAP hose from the intake manifold.
    2. Connect the Techstream to the DLC3.
    3. Turn the power switch on (IG).
    4. Turn the Techstream on.
    5. Put the engine in inspection mode (maintenance mode). Refer to INSPECTION MODE PROCEDURE .
    6. Start the engine.
    7. Use your finger to confirm that the port of the intake manifold has suction.
      RESULT

      Result Suspected Trouble Area Proceed to
      Suction applied EVAP hose between intake manifold and purge VSV A
      No suction Intake manifold B

    B → See step   35 

    A: Go to next step 

  34. REPAIR OR REPLACE EVAP HOSE (INTAKE MANIFOLD - PURGE VSV) 
    1. Repair or replace the EVAP hose.

    NEXT → PERFORM EVAPORATIVE SYSTEM CHECK AGAIN (AUTOMATIC MODE) 

  35. REPAIR OR REPLACE INTAKE MANIFOLD (EVAP PURGE PORT) 
    1. Check that the EVAP purge port of the intake manifold is not clogged. If necessary, replace the intake manifold.

    NEXT → PERFORM EVAPORATIVE SYSTEM CHECK AGAIN (AUTOMATIC MODE) 

  36. REPAIR OR REPLACE HARNESS OR CONNECTOR 
    1. Repair or replace harness or connector.

    NEXT → PERFORM EVAPORATIVE SYSTEM CHECK AGAIN (AUTOMATIC MODE) 

  37. PERFORM EVAPORATIVE SYSTEM CHECK (MANUAL MODE) 

    HINT: 

    In the manual operation check, the EVAP system can be checked in several steps. Valve operation and pressure in each step can also be checked.

    1. Clear the DTCs. Refer to DTC CHECK / CLEAR .
    2. Remove the fuel tank cap and reinstall the fuel tank cap.
    3. Enter the following menus: Powertrain / Engine and ECT / Utility / Evaporative System Check / Manual Mode.
      NOTE:
      • The Evaporative System Check (Automatic Mode) consists of 9 steps performed automatically by the Techstream. It takes a maximum of approximately 40 minutes.
      • Do not perform the Evaporative System Check when the fuel tank is higher than 90% full because the cut-off valve may be closed, making the fuel tank leak check unavailable.
      • Do not run the engine during this operation.
      • When the temperature of the fuel is 35°C (95°F) or higher, a large amount of vapor forms and any check results become inaccurate. When performing the Evaporative System Check, keep the fuel temperature less than 35°C (95°F).
      TECHSTREAM DISPLAY

      Display Detail
      Atmosphere Press Check The number of steps and step names are displayed
      Purge VSV Purge VSV condition is displayed: ON (Open)/OFF (Closed)
      Vent Valve Vent valve condition is displayed: ON (Closed)/OFF (Open)
      Vacuum Pump Leak detection pump condition is displayed: ON/OFF
      Fuel VCV Fuel vapor-containment valve condition is displayed: ON (Open)/OFF (Closed)
      Tank Pressure Fuel tank pressure (Absolute pressure)
      Vapor Pressure (Gauge) EVAP pressure (Gauge pressure measured at canister pump module)
      Vapor Pressure (Absolute) EVAP pressure (Absolute pressure measured at canister pump module)
      Time (Step) Elapsed time for each step
      Time (VENT) Accumulated vent valve open time
      Time (PUMP) Accumulated leak detection pump operating time
      MANUAL OPERATION STEP

      Step Operations
      1. Atmosphere Pressure Check Atmospheric pressure measurement
      2. Reference Pressure (0.02 inch) Check 1 First reference pressure measurement
      3. Canister Leak Check EVAP system pressure measurement
      4. Purge VSV Check Purge VSV monitor
      5. Reference Pressure (0.02 inch) Check 2 Second reference pressure measurement
      6. Resetting Resetting
      7. Tank Leak Check Fuel tank pressure measurement
      8. Reference Pressure (0.02 inch) Check 3 Third reference pressure measurement
      9. Atmosphere Pressure Check Atmospheric pressure measurement
      Fig 11: Identifying EVAP Pressure Timing Chart
      GTY342561Courtesy of © TOYOTA, LICENSE AGREEMENT TMS1002

    NEXT: Go to next step 

  38. PERFORM EVAPORATIVE SYSTEM CHECK (MANUAL MODE STEP 1) 
    1. Select step 1 and wait 10 seconds.

    NEXT: Go to next step 

  39. PERFORM EVAPORATIVE SYSTEM CHECK (MANUAL MODE STEP 2) 
    1. Perform step 2.
    2. Check the evaporative pressure 2 seconds after the leak detection pump is activated*. (step b)

      *: The leak detection pump begins to operate at the start of step 2.

      Fig 12: Identifying Evap Pressure Timing Chart
      GTY334561Courtesy of © TOYOTA, LICENSE AGREEMENT TMS1002
    3. Check the evaporative (EVAP) pressure again when it has stabilized. This pressure is the first reference pressure.
      Fig 13: Identifying Evap Pressure Timing Chart
      GTY339895Courtesy of © TOYOTA, LICENSE AGREEMENT TMS1002
      RESULT

      Result Suspected Trouble Area Proceed to
      EVAP pressure in step (b) is between -4.75 kPa(gauge) [-35.63 mmHg(gauge)] and -0.957 kPa(gauge) [-7.178 mmHg(gauge)] Not yet determined A
      EVAP pressure in step (b) is -0.957 kPa(gauge) [-7.178 mmHg(gauge)] or higher
      • Reference orifice high-flow
      • Leak detection pump stuck off
      B
      EVAP pressure in step (b) is less than -4.75 kPa(gauge) [-35.63 mmHg(gauge)] Reference orifice clogged C

    B → See step   53 

    C → See step   72 

    A: Go to next step 

  40. PERFORM EVAPORATIVE SYSTEM CHECK (MANUAL MODE STEP 3) 
    1. Perform step 3.
    2. Check the evaporative (EVAP) pressure change in step 3. (step b)
      Fig 14: Identifying Evap Pressure Timing Chart
      GTY340461Courtesy of © TOYOTA, LICENSE AGREEMENT TMS1002
      RESULT

      Result Suspected Trouble Area Proceed to
      EVAP pressure change in step (b) is 0.3 kPa(gauge) [2.2 mmHg(gauge)] or higher Not yet determined A
      EVAP pressure change in step (b) is less than 0.3 kPa(gauge) [2.2 mmHg(gauge)] Vent valve (switching valve) stuck off B
    3. Check the fuel tank pressure change in step 3.
      Fig 15: Identifying Evap Pressure Timing Chart
      GTY332562Courtesy of © TOYOTA, LICENSE AGREEMENT TMS1002
      RESULT

      Result Suspected Trouble Area Proceed to
      Fuel tank pressure change in step (b) is less than 0.5 kPa(gauge) [3.75 mmHg(gauge)] Not yet determined A
      Fuel tank pressure change in step (b) is higher than 0.5 kPa(gauge) [3.75 mmHg(gauge)] Fuel vapor-containment valve stuck on (open) C
    4. Check the EVAP pressure again when it has stabilized. This pressure is the canister leak pressure.
    5. Compare the first reference pressure with the canister leak pressure.
      Fig 16: Identifying Evap Pressure Timing Chart
      GTY336866Courtesy of © TOYOTA, LICENSE AGREEMENT TMS1002
      RESULT

      Result Suspected Trouble Area Proceed to
      Lower than first reference pressure Not yet determined A
      First reference pressure or higher
      • Purge VSV stuck open
      • Leakage from line between purge VSV and canister
      D

    B → See step   59 

    C → See step   67 

    D → See step   62 

    A: Go to next step 

  41. PERFORM EVAPORATIVE SYSTEM CHECK (MANUAL MODE STEP 4) 
    1. Perform step 4.
    2. Check the evaporative (EVAP) pressure change in step 4. (step b)
      Fig 17: Identifying Evap Pressure Timing Chart
      GTY340986Courtesy of © TOYOTA, LICENSE AGREEMENT TMS1002
      RESULT

      Result Suspected Trouble Area Proceed to
      EVAP pressure in step (b) changes to 101 kPa(abs) [762 mmHg(abs)] or higher Not yet determined A
      EVAP pressure in step (b) remains below 101 kPa(abs) [762 mmHg(abs)] Purge VSV stuck closed B

    B → See step   47 

    A: Go to next step 

  42. PERFORM EVAPORATIVE SYSTEM CHECK (MANUAL MODE STEP 5) 
    1. Perform step 5 and wait 60 seconds.
    2. Check the evaporative (EVAP) pressure. This pressure is the second reference pressure.

    NEXT: Go to next step 

  43. PERFORM EVAPORATIVE SYSTEM CHECK (MANUAL MODE STEP 6) 
    1. Perform step 6 and wait 5 seconds.

    NEXT: Go to next step 

  44. PERFORM EVAPORATIVE SYSTEM CHECK (MANUAL MODE STEP 7) 
    1. Perform step 7.
    2. Check that the tank pressure and EVAP pressure change.
    3. Check the tank pressure again when it has stabilized. This pressure is the fuel tank leak pressure.
      Fig 18: Identifying Evap Pressure Timing Chart
      GTY328301Courtesy of © TOYOTA, LICENSE AGREEMENT TMS1002
      RESULT

      Result Suspected Trouble Area Proceed to
      Fuel tank pressure change is higher than 0.5 kPa(gauge) [3.75 mmHg(gauge)] and EVAP pressure is higher than 0.9 (gauge) [6.76 mmHg(gauge)] Not yet determined A
      Fuel tank pressure change is less than 0.5 kPa(gauge) [3.75 mmHg(gauge)] and EVAP pressure is less than 0.9 (gauge) [6.76 mmHg(gauge)] Fuel vapor-containment valve stuck OFF (closed) B

    B → See step   67 

    A: Go to next step 

  45. PERFORM EVAPORATIVE SYSTEM CHECK (MANUAL MODE STEP 8) 
    1. Perform step 8 and wait 60 seconds.
    2. Check the evaporative (EVAP) pressure. This pressure is the third reference pressure.
    3. Compare the fuel tank pressure checked in step 7 with the third reference pressure.
      Fig 19: Identifying Evap Pressure Timing Chart
      GTY332036Courtesy of © TOYOTA, LICENSE AGREEMENT TMS1002
      RESULT

      Result Suspected Trouble Area Proceed to
      Lower than third reference pressure Not yet determined A
      Third reference pressure or higher Leakage from line between fuel vapor-containment valve and fuel tank B

    B → See step   64 

    A: Go to next step 

  46. PERFORM CONFIRMATION DRIVING PATTERN 
    1. Refer to Confirmation Driving Pattern.

    NEXT → PERFORM EVAPORATIVE SYSTEM CHECK AGAIN (AUTOMATIC MODE) 

  47. CHECK VACUUM HOSE (PURGE VSV - INTAKE MANIFOLD) 
    1. Disconnect the hose (connected to the intake manifold) from the purge VSV.
      Fig 20: Identifying Purge VSV & Intake Manifold Hose
      GTY215886Courtesy of © TOYOTA, LICENSE AGREEMENT TMS1002
    2. Put the engine in inspection mode (maintenance mode). Refer to INSPECTION MODE PROCEDURE .
    3. Start the engine.
    4. Use your finger to confirm that the hose has suction.
      TEXT IN ILLUSTRATION

      *1 Purge VSV
      *2 Hose (to Intake Manifold)
      RESULT

      Result Suspected Trouble Area Proceed to
      Suction applied EVAP hose between purge VSV and intake manifold normal A
      No suction
      • Intake manifold port
      • EVAP hose between purge VSV and intake manifold
      B

    B → See step   75 

    A: Go to next step 

  48. PERFORM ACTIVE TEST USING TECHSTREAM (ACTIVATE THE VSV FOR EVAP CONTROL) 
    1. Disconnect the hose (connected to the canister) from the purge VSV.
    2. Connect the Techstream to the DLC3.
      Fig 21: Identifying Purge VSV & Hose (To Canister)
      GTY236847Courtesy of © TOYOTA, LICENSE AGREEMENT TMS1002
    3. Turn the power switch on (IG).
    4. Turn the Techstream on.
    5. Put the engine in inspection mode (maintenance mode). Refer to INSPECTION MODE PROCEDURE .
    6. Start the engine.
    7. Enter the following menus: Powertrain / Engine and ECT / Active Test / Activate the VSV for Evap Control.
    8. Using the Techstream, turn off the purge VSV (Activate the VSV for Evap Control: OFF).
    9. Use your finger to confirm that the purge VSV has no suction.
    10. Using the Techstream, turn on the purge VSV (Activate the VSV for Evap Control: ON).
    11. Use your finger to confirm that the purge VSV has suction.
      TEXT IN ILLUSTRATION

      *1 Purge VSV
      *2 Hose (to Canister)
      RESULT

      Result Suspected Trouble Area Proceed to
      Suction applied when purge VSV turned off
      • Purge VSV stuck open
      • ECM
      A
      No suction when purge VSV turned on Purge VSV stuck closed A
      No suction when purge VSV turned off, and suction applied when turned on Purge VSV normal B

    B → See step   62 

    A: Go to next step 

  49. CHECK PURGE VSV 
    1. Remove the purge VSV.
      Fig 22: Checking Purge VSV
      GTY223864Courtesy of © TOYOTA, LICENSE AGREEMENT TMS1002
    2. Apply compressed air to the purge VSV, and confirm that no air flows from A to B as shown in the illustration.
    3. Apply auxiliary battery voltage to the purge VSV.
    4. While applying compressed air, confirm that air flows from A to B as shown in the illustration.
      TEXT IN ILLUSTRATION

      *1 Purge VSV
      RESULT

      Result Proceed to
      Air flows from A to B only when auxiliary battery voltage applied to purge VSV.
      Conclusion: purge VSV is normal.
      A
      No air flows from A to B when auxiliary battery voltage is applied to purge VSV.
      Conclusion: purge VSV is malfunctioning.
      B
      Air flows from A to B when auxiliary battery voltage is not applied to purge VSV.
      Conclusion: purge VSV is malfunctioning.
      B

    B → See step   71 

    A: Go to next step 

  50. CHECK HARNESS AND CONNECTOR (POWER SOURCE OF PURGE VSV) 
    1. Disconnect the purge VSV connector.
      Fig 23: Identifying D11 Purge VSV Connector Terminals
      GTY222008Courtesy of © TOYOTA, LICENSE AGREEMENT TMS1002
    2. Turn the power switch on (IG).
    3. Measure the voltage according to the value(s) in the table below.
      TEXT IN ILLUSTRATION

      *a Front view of wire harness connector
      (to Purge VSV)
      RESULT

      Tester Connection Condition Specified Condition Suspected Trouble Area Proceed to
      D11-2 - Body ground Power switch on (IG) 11 to 14 V Normal A
      Other than result above Wire harness or connectors between purge VSV and EFI MAIN relay B

    B → See step   78 

    A: Go to next step 

  51. CHECK HARNESS AND CONNECTOR (PURGE VSV - ECM) 
    1. Disconnect the ECM connector.
    2. Disconnect the purge VSV connector.
    3. Measure the resistance according to the value(s) in the table below.

      Standard Resistance (Check for Open)

      Tester Connection Condition Specified Condition
      D28-28 (PRG) - D11-1 Always Below 1 Ω
      D28-28 (PRG) or D11-1 - Body ground Always 10 kΩ or higher

    NG → See step   78 

    OK: Go to next step 

  52. REPLACE ECM 
    1. Replace the ECM. Refer to REMOVAL .

    NEXT → PERFORM EVAPORATIVE SYSTEM CHECK AGAIN (AUTOMATIC MODE) 

  53. PERFORM ACTIVE TEST USING TECHSTREAM (ACTIVATE THE VACUUM PUMP) 
    1. Connect the Techstream to DLC3.
    2. Turn the power switch on (IG).
    3. Enter the following menus: Powertrain / Engine and ECT / Active Test / Activate the Vacuum Pump.
    4. Turn the vacuum pump (leak detection pump) on with the Techstream.
    5. Touch the canister pump module and check if the pump is moving.

      OK

      Pump operates

    NG → See step   55 

    OK: Go to next step 

  54. PERFORM ACTIVE TEST USING TECHSTREAM (ACTIVATE THE VSV FOR VENT VALVE) 
    1. Connect the Techstream to DLC3.
    2. Turn the power switch on (IG).
    3. Enter the following menus: Powertrain / Engine and ECT / Active Test / Activate the VSV for Vent Valve.
    4. Touch the canister pump module, use the Techstream to turn the vent valve ON and OFF, and check if the vent valve is moving.

      OK

      Vent valve vibration can be felt.

    OK → See step   72 

    NG → See step   59 

  55. CHECK CANISTER PUMP MODULE (LEAK DETECTION PUMP POWER SOURCE CIRCUIT) 
    1. Disconnect the canister pump module connector.
      Fig 24: Checking Canister Pump Module
      GTY328916Courtesy of © TOYOTA, LICENSE AGREEMENT TMS1002
    2. Connect the Techstream to the DLC3.
    3. Turn the power switch on (IG).
    4. Enter the following menus: Powertrain / Engine and ECT / Active Test / Activate the Vacuum Pump.
    5. Turn the vacuum pump (leak detection pump) on using the Techstream.
    6. Measure the voltage according to the value(s) in the table below.

      Standard Voltage

      Tester Connection Condition Specified Condition
      z32-3 (MTRB) - z32-4 (MGND) Vacuum pump on using the Techstream 10 to 14 V
      Vacuum pump off using the Techstream Below 3 V
      TEXT IN ILLUSTRATION

      *a Front view of wire harness connector
      (to Canister Pump Module)
      - -
      RESULT

      Result Proceed to
      Out of standard range A
      Within standard range B

    B → See step   72 

    A: Go to next step 

  56. CHECK HARNESS AND CONNECTOR (CANISTER PUMP MODULE - BODY GROUND) 
    1. Disconnect the canister pump module connector.
    2. Measure the resistance according to the value(s) in the table below.

      Standard Resistance

      Tester Connection Condition Specified Condition
      z32-4 (MGND) - Body ground Always Below 1 Ω

    NG → See step   78 

    OK: Go to next step 

  57. CHECK HARNESS AND CONNECTOR (CANISTER PUMP MODULE - ECM) 
    1. Disconnect the ECM connector.
    2. Disconnect the canister pump module connector.
    3. Measure the resistance according to the value(s) in the table below.

      Standard Resistance (Check for Open)

      Tester Connection Condition Specified Condition
      A57-34 (MPMP) - z32-3 (MTRB) Always Below 1 Ω
      A57-34 (MPMP) or z32-3 (MTRB) - Body ground Always 10 kΩ or higher

    NG → See step   78 

    OK: Go to next step 

  58. REPLACE ECM 
    1. Replace the ECM. Refer to REMOVAL .

    NEXT → PERFORM EVAPORATIVE SYSTEM CHECK AGAIN (AUTOMATIC MODE) 

  59. CHECK CANISTER PUMP MODULE (VENT VALVE POWER SOURCE CIRCUIT) 
    1. Disconnect the canister pump module connector.
      Fig 25: Checking Canister Pump Module
      GTY327186Courtesy of © TOYOTA, LICENSE AGREEMENT TMS1002
    2. Turn the power switch on (IG).
    3. Measure the voltage according to the value(s) in the table below.

      Standard Voltage

      Tester Connection Condition Specified Condition
      z32-5 (VLVB) - Body ground Power switch on (IG) 10 to 14 V
      TEXT IN ILLUSTRATION

      *a Front view of wire harness connector
      (to Canister Pump Module)
      - -
      RESULT

      Result Proceed to
      Within standard range A
      Out of standard range B

    B → See step   78 

    A: Go to next step 

  60. CHECK HARNESS AND CONNECTOR (VENT VALVE - BODY GROUND) 
    1. Disconnect the canister pump module connector.
      Fig 26: Checking Canister Pump Module Harness & Connector
      GTY339421Courtesy of © TOYOTA, LICENSE AGREEMENT TMS1002
    2. Apply auxiliary battery voltage to VLVB and VGND terminals of the canister pump module.
    3. Touch the canister pump module to confirm the vent valve operation.
      TEXT IN ILLUSTRATION

      *a Component without harness connected
      (Canister)
      RESULT

      Result Suspected Trouble Area Proceed to
      Operating ECM A
      Not operating Vent valve B

    B → See step   72 

    A: Go to next step 

  61. REPLACE ECM 
    1. Replace the ECM. Refer to REMOVAL .

    NEXT → PERFORM EVAPORATIVE SYSTEM CHECK AGAIN (AUTOMATIC MODE) 

  62. CHECK HOSES (PURGE VSV - CANISTER) 
    1. Connect the EVAP pressure tester tool to the canister pump module with the adapter.
      Fig 27: Identifying Canister Pump Module & EVAP Pressure Tester Tool
      GTY343095Courtesy of © TOYOTA, LICENSE AGREEMENT TMS1002
      TEXT IN ILLUSTRATION

      *1 Canister Pump Module *2 Adapter
      *3 EVAP Pressure Tester Tool - -
    2. Confirm good connection at the canister pump module.
    3. Pressurize the EVAP system to between 3.2 and 3.7 kPa(gauge) [24 and 28 mmHg(gauge)].
      NOTE:

      Higher than 4.7 kPa(gauge) [35 mmHg(gauge)] of pressure will damage the EVAP system. Pay attention to the pressure.

    4. Apply soapy water to the piping and connections of the EVAP system.
    5. Look for areas where bubbles appear.

      HINT: 

      If the system has leaks, a whistling sound will be heard.

    NEXT: Go to next step 

  63. REPLACE MALFUNCTIONING PART 
    1. Repair or replace the leak point.

    NEXT → PERFORM EVAPORATIVE SYSTEM CHECK AGAIN (AUTOMATIC MODE) 

  64. CHECK FUEL CAP 
    1. Check that the fuel cap is correctly installed and confirm that the fuel cap meets OEM specifications.
    2. Tighten the fuel cap until a few click sounds are heard.

      HINT: 

      If an EVAP tester is available, check the fuel cap using the tester.

      1. Remove the fuel cap and install it onto a fuel cap adapter.
      2. Connect an EVAP tester pump hose to the adapter, and pressurize the cap to 3.2 to 3.7 kPa(gauge) [24 to 27.75 mmHg(gauge)] using an EVAP tester pump.
      3. Seal the adapter and wait for 2 minutes.
      4. Check the pressure. If the pressure is 2 kPa(gauge) [15 mmHg(gauge)] or higher, the fuel cap is normal.
        RESULT

        Result Suspected Trouble Area Proceed to
        Fuel cap correctly installed - A
        Fuel cap loose
        • Fuel cap improperly installed
        • Defective fuel cap
        • Fuel cap does not meet OEM specifications
        B

    B → See step   74 

    A: Go to next step 

  65. CHECK HOSES (FUEL VAPOR-CONTAINMENT VALVE - FUEL TANK) 
    1. Connect the EVAP pressure tester tool to the canister pump module with the adapter.
      Fig 28: Identifying Canister Pump Module & EVAP Pressure Tester Tool
      GTY343095Courtesy of © TOYOTA, LICENSE AGREEMENT TMS1002
      TEXT IN ILLUSTRATION

      *1 Canister Pump Module *2 Adapter
      *3 EVAP Pressure Tester Tool - -
    2. Connect the Techstream to the DLC3.
    3. Turn the power switch on (IG).
    4. Turn the Techstream on.
    5. Enter the following menus: Powertrain / Engine and ECT / Active Test / Activate the Fuel Vapor-Containment Valve.
    6. Turn the fuel vapor-containment valve ON using the Techstream.
    7. Confirm good connection at the canister pump module.
    8. Pressurize the EVAP system to between 3.2 and 3.7 kPa(gauge) [24 and 28 mmHg(gauge)].
      NOTE:

      Higher than 4.7 kPa(gauge) [35 mmHg(gauge)] of pressure will damage the EVAP system. Pay attention to the pressure.

    9. Apply soapy water to the piping and connections of the EVAP system.
    10. Look for areas where bubbles appear.

      HINT: 

      If the system has leaks, a whistling sound will be heard.

    NEXT: Go to next step 

  66. REPLACE MALFUNCTIONING PART 
    1. Repair or replace the leak point.

    NEXT → PERFORM EVAP SYSTEM CHECK AGAIN (AUTO OPERATION) 

  67. CHECK FUEL VAPOR-CONTAINMENT VALVE (POWER SOURCE CIRCUIT) 
    1. Disconnect the fuel vapor-containment valve connector.
      Fig 29: Checking R53 Connector Terminals
      GTY339031Courtesy of © TOYOTA, LICENSE AGREEMENT TMS1002
    2. Turn the power switch on (IG).
    3. Measure the voltage according to the value(s) in the table below.
      TEXT IN ILLUSTRATION

      *a Front view of wire harness connector
      (to Fuel Vapor-Containment Valve)

      Standard Voltage

      Tester Connection Condition Specified Condition
      R53-2 (+B) - R53-1 (CCV) Power switch on (IG) 10 to 14 V

    NG → See step   78 

    OK: Go to next step 

  68. INSPECT FUEL VAPOR-CONTAINMENT VALVE 
    1. Inspect the fuel vapor-containment valve. Refer to INSPECTION .

    NG → See step   73 

    OK: Go to next step 

  69. CHECK HARNESS AND CONNECTOR (FUEL VAPOR-CONTAINMENT VALVE - ECM) 
    1. Disconnect the ECM connector.
    2. Disconnect the fuel vapor-containment valve connector.
    3. Measure the resistance according to the value(s) in the table below.

      Standard Resistance (Check for Open)

      Tester Connection Condition Specified Condition
      D28-25 (CCV2) - R53-1 (CCV) Always Below 1 Ω
      D28-25 (CCV2) or R53-1 (CCV) - Body ground Always 10 kΩ or higher

    NG → See step   78 

    OK: Go to next step 

  70. REPLACE ECM 
    1. Replace the ECM. Refer to REMOVAL .

    NEXT → PERFORM EVAPORATIVE SYSTEM CHECK AGAIN (AUTOMATIC MODE) 

  71. REPLACE PURGE VSV 
    1. Replace the purge VSV. Refer to REMOVAL .

    NEXT → PERFORM EVAPORATIVE SYSTEM CHECK AGAIN (AUTOMATIC MODE) 

  72. REPLACE CANISTER 
    1. Replace the canister. Refer to REMOVAL .

    NEXT → PERFORM EVAPORATIVE SYSTEM CHECK AGAIN (AUTOMATIC MODE) 

  73. REPLACE FUEL VAPOR-CONTAINMENT VALVE 
    1. Replace the fuel vapor-containment valve. Refer to REMOVAL .

    NEXT → PERFORM EVAPORATIVE SYSTEM CHECK AGAIN (AUTOMATIC MODE) 

  74. REPLACE FUEL CAP 
    1. Replace the fuel cap.

    NEXT → PERFORM EVAPORATIVE SYSTEM CHECK AGAIN (AUTOMATIC MODE) 

  75. INSPECT INTAKE MANIFOLD (EVAP PURGE PORT) 
    1. Disconnect the EVAP hose from the intake manifold.
    2. Connect the Techstream to the DLC3.
    3. Turn the power switch on (IG).
    4. Turn the Techstream on.
    5. Put the engine in inspection mode (maintenance mode). Refer to INSPECTION MODE PROCEDURE .
    6. Start the engine.
    7. Use your finger to confirm that the port of the intake manifold has suction.
      RESULT

      Result Suspected Trouble Area Proceed to
      Suction applied EVAP hose between intake manifold and purge VSV A
      No suction Intake manifold B

    B → See step   77 

    A: Go to next step 

  76. REPAIR OR REPLACE VACUUM HOSE (INTAKE MANIFOLD - PURGE VSV) 
    1. Repair or replace EVAP hose.

    NEXT → PERFORM EVAPORATIVE SYSTEM CHECK AGAIN (AUTOMATIC MODE) 

  77. REPAIR OR REPLACE INTAKE MANIFOLD (EVAP PURGE PORT) 
    1. Check that the EVAP purge port of the intake manifold is not clogged. If necessary, replace the intake manifold.

    NEXT → PERFORM EVAPORATIVE SYSTEM CHECK AGAIN (AUTOMATIC MODE) 

  78. REPAIR OR REPLACE HARNESS OR CONNECTOR 
    1. Repair or replace harness or connector.

    NEXT → PERFORM EVAPORATIVE SYSTEM CHECK AGAIN (AUTOMATIC MODE)