LEMON Manuals: Even more car manuals for everyone: 1960-2025
Home >> Toyota >> 2012 >> Prius Plug-in >> Repair and Diagnosis (Single Page) >> External Pages >> Different variant/trim >> Section 32 (Wheel Alignment (Except Plug-In) (Service Information)) >> Front Wheel Alignment >> Adjustment >> Adjustment
April 5, 2026: LEMON Manuals is launched! Read the announcement.

Front Wheel Alignment: Adjustment: Adjustment

WARNING: This page is about a different variant/trim than selected.
NOTE:

If the wheel alignment has been adjusted, and if suspension or underbody components have been removed/installed or replaced, be sure to perform the following initialization procedure in order for the system to function normally:

  • Perform zero point calibration of the yaw rate and acceleration sensor.
  1. INSPECT TIRES 

    Refer to INSPECTION .

  2. MEASURE VEHICLE HEIGHT 
    Fig 1: Measuring Vehicle Height
    GTY214590Courtesy of © TOYOTA, LICENSE AGREEMENT TMS1002
    NOTE:
    • Before inspecting the wheel alignment, adjust the vehicle height to the specified value.
    • Be sure to perform measurement on a level surface.
    • If it is necessary to go under the vehicle for measurement, confirm that the parking brake is applied and the vehicle is secured with chocks.
    • Inspect while the vehicle is unloaded.
    1. Bounce the vehicle up and down at the corners to stabilize the suspension.
    2. Measure the vehicle height.

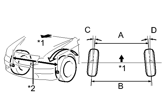
      Measurement points: 

      • A: Ground clearance of front No. 1 lower suspension arm bushing set bolt center
      • B: Ground clearance of rear axle beam bushing set bolt center
      • C: Ground clearance of front wheel center
      • D: Ground clearance of rear wheel center

      Vehicle Height (Unloaded Vehicle)

      Tire Size Front C - A Rear D - B
      195/65R15 108 mm (4.25 in.)
      90 mm (3.54 in.)*
      26 mm (1.02 in.)
      9 mm (0.354 in.)*
      215/45R17 103 mm (4.06 in.) 21 mm (0.827 in.)

      * For vehicle height for Rough Road Package.

  3. INSPECT CAMBER, CASTER AND STEERING AXIS INCLINATION 
    NOTE:

    Inspect while the vehicle is unloaded.

    1. Install a camber-caster-kingpin gauge and place the front wheels on the center of a wheel alignment tester.
      Fig 2: Inspecting Camber, Caster & Steering Axis Inclination
      GTY227412Courtesy of © TOYOTA, LICENSE AGREEMENT TMS1002
      TEXT IN ILLUSTRATION

      *1 Wheel Alignment Tester
      *2 Gauge
    2. Inspect the camber, caster and steering axis inclination.

      Camber (Unloaded Vehicle)

      Tire Size Camber Inclination Right-left Difference
      195/65R15 -0°13' +/- 45' (-0.22° +/- 0.75°)
      -0°07' +/- 45' (-0.12° +/- 0.75°)*
      45' (0.75°) or less
      215/45R17 -0°12' +/- 45' (-0.20° +/- 0.75°)

      * For vehicle height for Rough Road Package.

      Caster (Unloaded Vehicle)

      Tire Size Caster Inclination Right-left Difference
      195/65R15 5°53' +/- 45' (5.88° +/- 0.75°)
      5°40' +/- 45' (5.67° +/- 0.75°)*
      45' (0.75°) or less
      215/45R17 5°50' +/- 45' (5.83° +/- 0.75°)

      * For vehicle height for Rough Road Package.

      Steering Axis Inclination (Unloaded Vehicle)

      Tire Size Steering Axis Inclination
      195/65R15 12°16' (12.27°)
      11°52' (11.87°)*
      215/45R17 12°10' (12.17°)

      * For vehicle height for Rough Road Package.

  4. ADJUST CAMBER 
    NOTE:

    Inspect toe-in after the camber has been adjusted.

    1. Remove the front wheel.
    2. Loosen the 2 nuts.
      Fig 3: Locating Shock Absorber Nuts
      GTY236238Courtesy of © TOYOTA, LICENSE AGREEMENT TMS1002
      NOTE:

      Keep the bolts inserted.

    3. Clean the installation surfaces of the front shock absorber and the steering knuckle.
    4. Temporarily install the 2 nuts. (Step A)
    5. Fully push or pull the front axle hub in the direction of the required adjustment. (Step B)
      Fig 4: Pulling Front Axle Hub
      GTY166872Courtesy of © TOYOTA, LICENSE AGREEMENT TMS1002
    6. Tighten the nuts.
      Fig 5: Locating Shock Absorber Nuts
      GTY236238Courtesy of © TOYOTA, LICENSE AGREEMENT TMS1002

      Torque: 240 N*m (2447 kgf*cm, 177 ft.*lbf) 

      NOTE:

      Keep the bolts from rotating when tightening the nuts.

    7. Install the front wheel.

      Torque: 103 N*m (1050 kgf*cm, 76 ft.*lbf) 

    8. Check the camber.
      Fig 6: Identifying Camber, Bolts & Nuts
      GTY221885Courtesy of © TOYOTA, LICENSE AGREEMENT TMS1002

      If the measured value is not within the specification, calculate the required adjustment amount using the formula below.

      Camber adjustment amount = center of the specified range - measured value

      Check the combination of the installed bolts. Select appropriate bolts from the tables below to adjust the camber to the specified values.

      HINT: 

      Try to adjust the camber to the center of the specified values.

      Move the axle hub toward (+) in step B Move the axle hub toward (-) in step B
      Refer to table (1) Fig 7 (Move the axle hub toward the positive side) Refer to table (2) Fig 8 (Move the axle hub toward the negative side)
      Fig 7: Bolt Identification - Positive Side
      GTY234714Courtesy of © TOYOTA, LICENSE AGREEMENT TMS1002
      Fig 8: Bolt Identification - Negative Side
      GTY223161Courtesy of © TOYOTA, LICENSE AGREEMENT TMS1002
      NOTE:

      Replace the nut with a new one when replacing the bolt.

      The body and suspension may be damaged if the camber is not correctly adjusted according to the tables above.

    9. Repeat the steps mentioned above. In Step A, replace 1 or 2 selected bolts.

      HINT: 

      Replace one bolt at a time when replacing both bolts.

  5. INSPECT TOE-IN 
    NOTE:

    Inspect while the vehicle is unloaded.

    1. Bounce the vehicle up and down at the corners to stabilize the suspension.
    2. Release the parking brake and move the shift lever to N.
    3. Push the vehicle straight ahead approximately 5 m (16.4 ft.). (Step C)
    4. Put tread center marks on the rearmost points of the front wheels and measure the distance between the marks (dimension B).
      Fig 9: Identifying Tread Center Marks & Dimension (B)
      GTY211517Courtesy of © TOYOTA, LICENSE AGREEMENT TMS1002
      TEXT IN ILLUSTRATION

      *1 Tread Center Mark
      *2 Dimension B
    5. Slowly push the vehicle straight ahead to cause the front wheels to rotate 180° using the front tire valve as a reference point.

      HINT: 

      Do not allow the wheels to rotate more than 180°. If the wheels rotate more than 180°, perform the procedure from Step C again.

    6. Measure the distance between the tread center marks on the front side of the wheels (dimension A).
      Fig 10: Identifying Dimension A & B
      GTY211128Courtesy of © TOYOTA, LICENSE AGREEMENT TMS1002
      TEXT IN ILLUSTRATION

      *1 Front of the Vehicle
      *2 Dimension A
      TO-IN (UNLOADED VEHICLE)

      Specified Condition
      C + D: 0°12' +/- 0°12' (0.20° +/- 0.20°)
      C + D: 0°18' +/- 0°12' (0.30° +/- 0.20°)*
      B - A: 2.0 +/- 2.0 mm (0.0787 +/- 0.0787 in.)
      B - A: 3.0 +/- 2.0 mm (0.118 +/- 0.0787 in.)*

      * For vehicle height for Rough Road Package.

      HINT: 

      Measure "B - A" only when "C + D" cannot be measured.

      If the toe-in is not within the specified range, adjust it at the rack ends.

  6. ADJUST TOE-IN 
    1. Make sure that the thread length of the right and left rack ends are approximately the same.
      Fig 11: Identifying Rack End Thread Length
      GTY229036Courtesy of © TOYOTA, LICENSE AGREEMENT TMS1002
      TEXT IN ILLUSTRATION

      *1 Thread Length

      Standard difference

      1.5 mm (0.0591 in.) or less

    2. Remove the boot clips.
    3. Loosen the tie rod end lock nuts.
      Fig 12: Locating Tie Rod End Lock Nuts
      GTY223665Courtesy of © TOYOTA, LICENSE AGREEMENT TMS1002
      TEXT IN ILLUSTRATION

      *1 Loosen
      *2 Turn
    4. Adjust the rack ends if the difference in thread length between the right and left rack ends is not within the specified range.
      1. Extend the shorter rack end if the measured toe-in deviates toward the outer-side.
      2. Shorten the longer rack end if the measured toe-in deviates toward the inner-side.
    5. Turn the right and left rack ends by an equal amount to adjust the toe-in to the center value.
    6. Make sure that the thread lengths of the right and left rack ends are the same.
    7. Tighten the tie rod end lock nuts.

      Torque: 74 N*m (755 kgf*cm, 55 ft.*lbf) 

    8. Place the boots on the seats and install the clips.

      HINT: 

      Make sure that the boots are not twisted.

  7. INSPECT WHEEL ANGLE 
    Fig 13: Inspecting Wheel Angle
    GTY243673Courtesy of © TOYOTA, LICENSE AGREEMENT TMS1002
    TEXT IN ILLUSTRATION

    *1 Front of the Vehicle
    *2 Inside
    *3 Outside
    1. Put tread center marks on the rearmost points of a turning radius gauge.
    2. Turn the steering wheel to the left and right full lock positions, and measure the turning angle.
      NOTE:

      Inspect while the vehicle is unloaded.

      Wheel Angle (Unloaded Vehicle)

      Tire Size Inside Wheel Outside Wheel Reference
      195/65R15 40°50' +/- 2° (40.83° +/- 2°)
      37°42' +/- 2° (37.70° +/- 2°)*
      33°50' (33.83°)
      32°13' (32.22°)*
      215/45R17 37°27' +/- 2° (37.45° +/- 2°) 31°56' (31.93°)

      * For vehicle height for Rough Road Package.

      • If the angles are not as specified, check and adjust the right and left rack end lengths.
  8. PLACE FRONT WHEELS FACING STRAIGHT AHEAD 
  9. PERFORM YAW RATE AND ACCELERATION SENSOR CALIBRATION 

    Refer to CALIBRATION .

  10. PERFORM INITIALIZATION (w/ Height Control Sensor) 
    NOTE:

    Some systems need to be initialized after the wheel alignment is adjusted. Refer to INITIALIZATION .