LEMON Manuals: Even more car manuals for everyone: 1960-2025
Home >> Toyota >> 2012 >> Prius Plug-in >> Repair and Diagnosis (Single Page) >> Restraints >> Restraints Control Systems >> Supplemental Restraint System (Plug-In) (Diagnostic Codes & Symptom Tests) >> Airbag System >> DTC B1805/52: Short in Front Passenger Side Squib Circuit; DTC B1806/52: Open in Front Passenger Side Squib Circuit; DTC B1807/52: Short to GND in Front Passenger Side Squib Circuit; DTC B1808/52: Short to B+ in Front Passenger Side Squib Circuit >> Procedure
April 5, 2026: LEMON Manuals is launched! Read the announcement.

DTC B1805/52: Short in Front Passenger Side Squib Circuit; DTC B1806/52: Open in Front Passenger Side Squib Circuit; DTC B1807/52: Short to GND in Front Passenger Side Squib Circuit; DTC B1808/52: Short to B+ in Front Passenger Side Squib Circuit: Procedure

  1. CHECK CONNECTORS 
    1. Turn the power switch off.
      Fig 1: Checking Connectors
      GTY319597Courtesy of © TOYOTA, LICENSE AGREEMENT TMS1002
    2. Disconnect the cable from the negative (-) auxiliary battery terminal.
      WARNING:

      Wait at least 90 seconds after disconnecting the cable from the negative (-) auxiliary battery terminal to disable the SRS system.

    3. Check that the connectors are properly connected to the instrument panel passenger airbag assembly and airbag ECU assembly. Also check that the connectors that link the instrument panel wire and No. 3 instrument panel wire are properly connected.

      OK

      The connectors are properly connected.

      HINT: 

      If the connectors are not connected securely, reconnect the connectors and proceed to the next inspection.

    4. Disconnect the connectors from the instrument panel passenger airbag assembly and airbag ECU assembly. Also disconnect the instrument panel wire from the No. 3 instrument panel wire.
    5. Check that the terminals of the connectors are not damaged.

      OK

      The terminals are not deformed or damaged.

    6. Check that the No. 3 instrument panel wire connector (on the instrument panel passenger airbag assembly side) is not damaged.

      OK

      The lock button is not disengaged, or the claw of the lock is not deformed or damaged.

    7. Check that the short springs for the instrument panel wire and No. 3 instrument panel wire with the activation prevention mechanism are not deformed or damaged.

      OK

      The short springs are not deformed or damaged.

      TEXT IN ILLUSTRATION

      *1 Instrument Panel Passenger Airbag Assembly
      *2 Airbag ECU Assembly
      *3 No. 3 Instrument Panel Wire
      *4 Instrument Panel Wire

    NG → REPLACE WIRE HARNESS 

    OK: Go to next step 

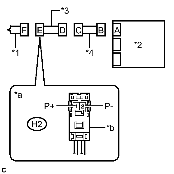
  2. CHECK INSTRUMENT PANEL PASSENGER AIRBAG ASSEMBLY (FRONT PASSENGER SIDE SQUIB) 
    1. Connect the instrument panel wire to the No. 3 instrument panel wire and airbag ECU assembly.
      Fig 2: Checking Instrument Panel Passenger Airbag Assembly (Front Passenger Side Squib)
      GTY324995Courtesy of © TOYOTA, LICENSE AGREEMENT TMS1002
    2. Connect SST (resistance 2.1 Ω) to connector E (orange connector).
      WARNING:

      Never connect the tester to the instrument panel passenger airbag assembly (front passenger side squib) for measurement, as this may lead to a serious injury due to airbag deployment.

      NOTE:
      • Do not forcibly insert SST into the terminals of the connector when connecting it.
      • Insert SST straight into the terminals of the connector.
      • SST: 09843-18061 
    3. Connect the cable to the negative (-) auxiliary battery terminal.
    4. Clear the DTCs stored in memory. Refer to DTC CHECK / CLEAR .
    5. Turn the power switch off.
    6. Turn the power switch on (IG), and wait for at least 60 seconds.
    7. Check for DTCs. Refer to DTC CHECK / CLEAR .

      OK

      DTC B1805/52, B1806/52, B1807/52 or B1808/52 is not output.

      HINT: 

      Codes other than DTCs B1805/52, B1806/52, B1807/52 and B1808/52 may be output at this time, but they are not related to this check.

    8. Turn the power switch off.
    9. Disconnect the cable from the negative (-) auxiliary battery terminal.
      WARNING:

      Wait at least 90 seconds after disconnecting the cable from the negative (-) auxiliary battery terminal to disable the SRS system.

    10. Disconnect SST from connector E.
      TEXT IN ILLUSTRATION

      *1 Instrument Panel Passenger Airbag Assembly
      *2 Airbag ECU Assembly
      *a Front view of wire harness connector
      (to Instrument Panel Passenger Airbag Assembly)
      *b Color: Orange

    NG → See step   3 

    OK → See step   7 

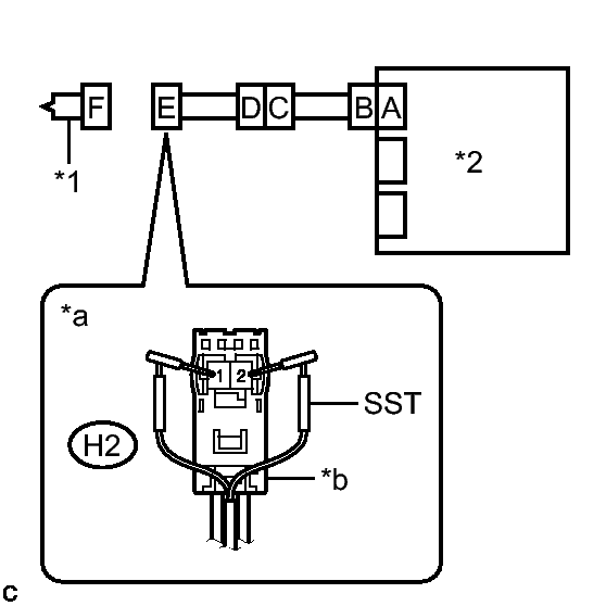
  3. CHECK FRONT PASSENGER SIDE SQUIB CIRCUIT 
    1. Disconnect the instrument panel wire from the airbag ECU assembly.
      Fig 3: Checking Front Passenger Side Squib Circuit
      GTY326655Courtesy of © TOYOTA, LICENSE AGREEMENT TMS1002
    2. Check for a short to B+ in the circuit.
      1. Connect the cable to the negative (-) auxiliary battery terminal.
      2. Turn the power switch on (IG).
      3. Measure the voltage according to the value(s) in the table below.

        Standard Voltage

        Tester Connection Condition Specified Condition
        H2-1 (P+) - Body ground Power switch on (IG) Below 1 V
        H2-2 (P-) - Body ground Power switch on (IG) Below 1 V
      4. Turn the power switch off.
      5. Disconnect the cable from the negative (-) auxiliary battery terminal.
        WARNING:

        Wait at least 90 seconds after disconnecting the cable from the negative (-) auxiliary battery terminal to disable the SRS system.

    3. Check for an open in the circuit.
      1. Measure the resistance according to the value(s) in the table below.

        Standard Resistance

        Tester Connection Condition Specified Condition
        H2-1 (P+) - H2-2 (P-) Always Below 1 Ω
    4. Check for a short to ground in the circuit.
      1. Measure the resistance according to the value(s) in the table below.

        Standard Resistance

        Tester Connection Condition Specified Condition
        H2-1 (P+) - Body ground Always 1 MΩ or higher
        H2-2 (P-) - Body ground Always 1 MΩ or higher
    5. Check for a short in the circuit.
      1. Release the activation prevention mechanism built into connector B. Refer to DIAGNOSIS SYSTEM .
      2. Measure the resistance according to the value(s) in the table below.

        Standard Resistance

        Tester Connection Condition Specified Condition
        H2-1 (P+) - H2-2 (P-) Always 1 MΩ or higher
      3. Restore the released activation prevention mechanism of connector B to the original condition.
        TEXT IN ILLUSTRATION

        *1 Instrument Panel Passenger Airbag Assembly
        *2 Airbag ECU Assembly
        *a Front view of wire harness connector
        (to Instrument Panel Passenger Airbag Assembly)
        *b Color: Orange

    NG → See step   5 

    OK: Go to next step 

  4. CHECK DTC 
    1. Connect the connectors to the instrument panel passenger airbag assembly and airbag ECU assembly.
      Fig 4: Identifying Airbag Sensor Connector
      GTY315960Courtesy of © TOYOTA, LICENSE AGREEMENT TMS1002
    2. Connect the cable to the negative (-) auxiliary battery terminal.
    3. Clear the DTCs stored in memory. Refer to DTC CHECK / CLEAR .
    4. Turn the power switch off.
    5. Turn the power switch on (IG), and wait for at least 60 seconds.
    6. Check for DTCs. Refer to DTC CHECK / CLEAR .

      OK

      DTC B1805/52, B1806/52, B1807/52 or B1808/52 is not output.

      HINT: 

      Codes other than DTCs B1805/52, B1806/52, B1807/52 and B1808/52 may be output at this time, but they are not related to this check.

      TEXT IN ILLUSTRATION

      *1 Instrument Panel Passenger Airbag Assembly
      *2 Airbag ECU Assembly

    NG → See step   8 

    OK → See step   9 

  5. CHECK INSTRUMENT PANEL WIRE 
    1. Disconnect the No. 3 instrument panel wire from the instrument panel wire.
      Fig 5: Checking Instrument Panel Wire
      GTY323925Courtesy of © TOYOTA, LICENSE AGREEMENT TMS1002
    2. Check for a short to B+ in the circuit.
      1. Connect the cable to the negative (-) auxiliary battery terminal.
      2. Turn the power switch on (IG).
      3. Measure the voltage according to the value(s) in the table below.

        Standard Voltage

        Tester Connection Condition Specified Condition
        LH1-1 (P+) - Body ground Power switch on (IG) Below 1 V
        LH1-2 (P-) - Body ground Power switch on (IG) Below 1 V
      4. Turn the power switch off.
      5. Disconnect the cable from the negative (-) auxiliary battery terminal.
        WARNING:

        Wait at least 90 seconds after disconnecting the cable from the negative (-) auxiliary battery terminal to disable the SRS system.

    3. Check for an open in the circuit.
      1. Measure the resistance according to the value(s) in the table below.

        Standard Resistance

        Tester Connection Condition Specified Condition
        LH1-1 (P+) - LH1-2 (P-) Always Below 1 Ω
    4. Check for a short to ground in the circuit.
      1. Measure the resistance according to the value(s) in the table below.

        Standard Resistance

        Tester Connection Condition Specified Condition
        LH1-1 (P+) - Body ground Always 1 MΩ or higher
        LH1-2 (P-) - Body ground Always 1 MΩ or higher
    5. Check for a short in the circuit.
      1. Release the activation prevention mechanism built into connector B. Refer to DIAGNOSIS SYSTEM .
      2. Measure the resistance according to the value(s) in the table below.

        Standard Resistance

        Tester Connection Condition Specified Condition
        LH1-1 (P+) - LH1-2 (P-) Always 1 MΩ or higher
      3. Restore the released activation prevention mechanism of connector B to the original condition.
        TEXT IN ILLUSTRATION

        *1 Instrument Panel Passenger Airbag Assembly
        *2 Airbag ECU Assembly
        *3 No. 3 Instrument Panel Wire
        *4 Instrument Panel Wire
        *a Front view of wire harness connector
        (to No. 3 Instrument Panel Wire)

    NG → REPLACE INSTRUMENT PANEL WIRE 

    OK: Go to next step 

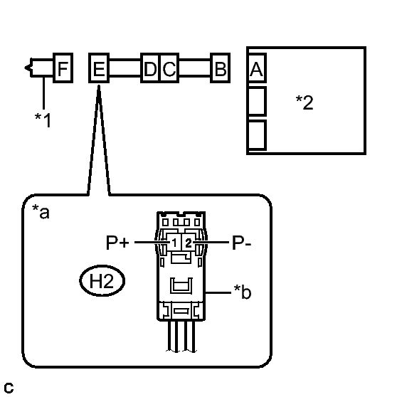
  6. CHECK NO. 3 INSTRUMENT PANEL WIRE 
    1. Check for a short to B+ in the circuit.
      Fig 6: Checking No. 3 Instrument Panel Wire
      GTY332445Courtesy of © TOYOTA, LICENSE AGREEMENT TMS1002
      1. Connect the cable to the negative (-) auxiliary battery terminal.
      2. Turn the power switch on (IG).
      3. Measure the voltage according to the value(s) in the table below.

        Standard Voltage

        Tester Connection Condition Specified Condition
        H2-1 (P+) - Body ground Power switch on (IG) Below 1 V
        H2-2 (P-) - Body ground Power switch on (IG) Below 1 V
      4. Turn the power switch off.
      5. Disconnect the cable from the negative (-) auxiliary battery terminal.
        WARNING:

        Wait at least 90 seconds after disconnecting the cable from the negative (-) auxiliary battery terminal to disable the SRS system.

    2. Check for an open in the circuit.
      1. Measure the resistance according to the value(s) in the table below.

        Standard Resistance

        Tester Connection Condition Specified Condition
        H2-1 (P+) - H2-2 (P-) Always Below 1 Ω
    3. Check for a short to ground in the circuit.
      1. Measure the resistance according to the value(s) in the table below.

        Standard Resistance

        Tester Connection Condition Specified Condition
        H2-1 (P+) - Body ground Always 1 MΩ or higher
        H2-2 (P-) - Body ground Always 1 MΩ or higher
    4. Check for a short in the circuit.
      1. Release the activation prevention mechanism built into connector D. Refer to DIAGNOSIS SYSTEM .
      2. Measure the resistance according to the value(s) in the table below.

        Standard Resistance

        Tester Connection Condition Specified Condition
        H2-1 (P+) - H2-2 (P-) Always 1 MΩ or higher
      3. Restore the released activation prevention mechanism of connector D to the original condition.
        TEXT IN ILLUSTRATION

        *1 Instrument Panel Passenger Airbag Assembly
        *2 Airbag ECU Assembly
        *3 No. 3 Instrument Panel Wire
        *4 Instrument Panel Wire
        *a Front view of wire harness connector
        (to Instrument Panel Passenger Airbag Assembly)
        *b Color: Orange

    NG → REPLACE NO. 3 INSTRUMENT PANEL WIRE 

    OK → See step   9 

  7. REPLACE INSTRUMENT PANEL PASSENGER AIRBAG ASSEMBLY. Refer to  REMOVAL 
  8. REPLACE AIRBAG ECU ASSEMBLY. Refer to  REMOVAL 
  9. USE SIMULATION METHOD TO CHECK. Refer to  HOW TO PROCEED WITH TROUBLESHOOTING