LEMON Manuals: Even more car manuals for everyone: 1960-2025
Home >> Toyota >> 2012 >> Prius Plug-in >> Repair and Diagnosis >> Engine Performance >> System >> Engine Control System (Plug-In) (Diagnostic Codes (P0010-P0454)) >> SFI System >> DTC P0420: Catalyst System Efficiency Below Threshold (Bank 1) >> Catalyst Location
April 5, 2026: LEMON Manuals is launched! Read the announcement.

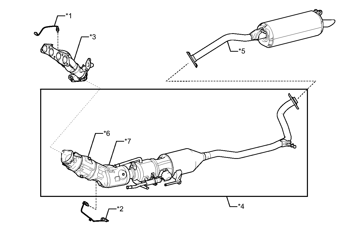
Catalyst Location

Fig 1: Identifying Exhaust System Component Location
GTY338319Courtesy of © TOYOTA, LICENSE AGREEMENT TMS1002
TEXT IN ILLUSTRATION

*1 Air Fuel Ratio Sensor (Sensor 1) *2 Heated Oxygen Sensor (Sensor 2)
*3 Exhaust Manifold Sub-assembly *4 Front Exhaust Pipe Assembly
*5 Tail Exhaust Pipe Assembly *6 TWC: Front Catalyst
*7 TWC: Rear Catalyst - -
NOTE:

When replacing the front exhaust pipe assembly (*4) in order to replace the three-way catalytic converter, it is not necessary to replace the heated oxygen sensor (*2).