LEMON Manuals: Even more car manuals for everyone: 1960-2025
Home >> Toyota >> 2012 >> Prius Three >> Repair and Diagnosis (Single Page) >> External Pages >> Different variant/trim >> Section 53 (Can Communication System (Plug-In) (Diagnostics - Introduction)) >> Can Communication System >> System Diagram >> System Diagram
April 5, 2026: LEMON Manuals is launched! Read the announcement.

System Diagram

WARNING: This page is about a different variant/trim than selected.
  1. V1 BUS 
    Fig 1: Identifying V1 BUS CAN Communication System Diagram (1 Of 2)
    GTY334150Courtesy of © TOYOTA, LICENSE AGREEMENT TMS1002
    Fig 2: Identifying V1 BUS CAN Communication System Diagram (2 Of 2)
    GTY342985Courtesy of © TOYOTA, LICENSE AGREEMENT TMS1002
  2. V2 BUS 
    Fig 3: Identifying V2 BUS CAN Communication System Diagram
    GTY324017Courtesy of © TOYOTA, LICENSE AGREEMENT TMS1002
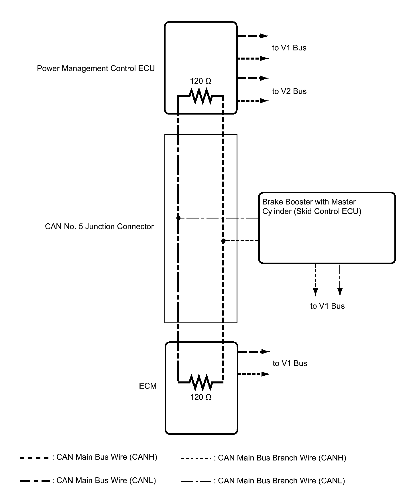
  3. POWER MANAGEMENT BUS 
    Fig 4: Identifying Power Management BUS CAN Communication System Diagram
    GTY341549Courtesy of © TOYOTA, LICENSE AGREEMENT TMS1002
  4. PARKING ASSIST BUS (w/ Dynamic Radar Cruise Control System) 
    Fig 5: Identifying PARKING ASSIST BUS (w/ Dynamic Radar Cruise Control System) CAN Communication System Diagram
    GTY343601Courtesy of © TOYOTA, LICENSE AGREEMENT TMS1002