LEMON Manuals: Even more car manuals for everyone: 1960-2025
Home >> Toyota >> 2012 >> Prius Two >> Repair and Diagnosis (Single Page) >> Accessories & Equipment >> Drivers Assistance Systems - ADAS >> Lane Keeping Assist System (Except Plug-In)(Diagnostics - Introduction) >> Lane-Keeping Assist System >> System Description >> System Description
April 5, 2026: LEMON Manuals is launched! Read the announcement.

System Description

  1. LANE-KEEPING ASSIST DESCRIPTION 
    1. The lane-keeping assist system uses an image of the road from the lane-recognition camera sensor to detect the lane markers for the lane that the vehicle is in. If the system detects that the vehicle is about to move out of its lane, it uses the warning buzzer, multi-information display and steering assistance to warn the driver.
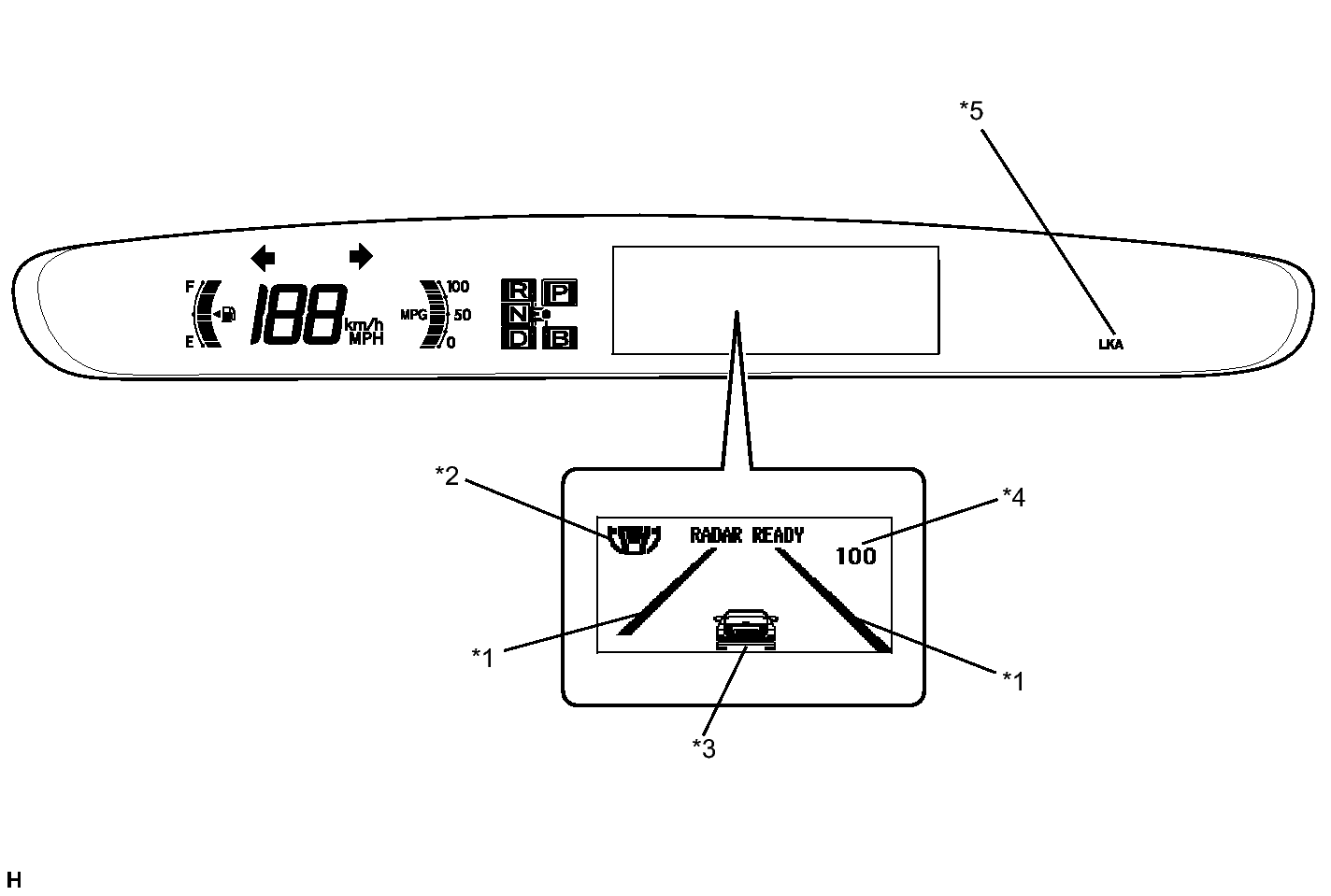
      Fig 1: Identifying Lane Keeping Assist Display
      GTY219041Courtesy of © TOYOTA, LICENSE AGREEMENT TMS1002
      TEXT IN ILLUSTRATION

      *1 White lines *2 Steering wheel
      *3 Radar cruise display *4 Radar cruise set vehicle speed
      *5 LKA Indicator - -
      • White lines
        • The white line indicate the condition of the lane keeping assist system.
          1. Lines are not displayed: Lane keeping assist system is off.
          2. Thin lines are displayed: Lane keeping assist system is off.
          3. Thick lines are displayed: Lane keeping assist system is operating.
      • Steering wheel
        • When the steering wheel is displayed, this indicates that the lane keeping assist function is operating.
      • Radar cruise display
        • Indicates operation conditions for radar cruise
      • Radar cruise set vehicle speed
        • Indicates the set vehicle speed when the radar cruise is activated

      However, in the following conditions, the lane-keeping assist system may not function normally.

      • Vehicle is near toll booths or similar areas
      • Road has no lane marker
      • Lane marker are cracked
      • Road has yellow lines
      • There is a shadow on either of the lane marker
      • As a result of reflections, road surface is bright
      • Road with reflective surface similar to concrete road
      • Area where brightness changes suddenly, such as entrances and exits of tunnels or similar area
      • Bright light directed at sensor
      • Incline of road varies, winding road or other type of road where road surface is irregular
      • Bad weather
      • Frozen or snowy roads
      • Road surface with water or other liquid
  2. SYSTEM OPERATION 
    1. Lane departure warning function:

      The lane departure warning function operates when the lane-keeping assist switch is on, the vehicle speed is 48 km/h (30 mph) or more, and lane markers on the road surface are detected. With the lane departure warning function operating, if the vehicle is about to move out of the lane and this is detected by the driving support ECU, the ECU uses the warning buzzer and the multi-information display to warn the driver. Also, the ECU uses the electronic power steering system's motor to apply steering force and give suggestions to the driver for lane departure avoidance.

      HINT: 

      This function only provides suggestions for lane departure avoidance. This function does not automatically move the vehicle within a lane.

      Lane Departure Warning Function Operation Stop Condition Restart Condition
      When vehicle speed is less than 48 km/h (30 mph) When vehicle speed is 48 km/h (30 mph)
      When turn signal light switch is operated When turn signal light switch is turned off
      When steering force above a specified amount is applied When steering force above a specified amount is not applied
      When windshield wiper switch is set to Lo or Hi When windshield wiper switch is turned off
      When lane recognition camera sensor cannot detect lane marker When lane recognition camera sensor can detect lane marker
      While brake pedal operation is being detected After brake pedal operation is completed
      After lane departure warning has been issued When the vehicle is back to its lane, or a few seconds have passed since warning was executed
    2. Lane-keeping assist function:

      The lane-keeping assist function operates when the lane-keeping assist switch is ON, the vehicle speed is approximately 72 to 180 km/h (45 to 112 mph) and the dynamic radar cruise control system is ON. With the lane-keeping assist function operating, steering assistance is provided for the driver according to the driving conditions so that the vehicle stays near the midpoint of a lane. When the vehicle cannot be maintained within a lane and this is detected by the driving support ECU, the ECU uses the warning buzzer and the multi-information display to warn the driver. During the lane-keeping assist function operation, if any of the following conditions occurs, the lane-keeping assist function will stop operating. If the condition is no longer detected, the lane-keeping assist function will automatically start operating again.

      Lane-keeping Assist Function Operation Stop Condition Restart Condition
      When lane recognition camera sensor cannot detect lane marker When lane recognition camera sensor can detect lane marker
      When vehicle speed is not within 72 to 180 km/h (45 to 112 mph) When vehicle speed is within 72 to 180 km/h (45 to 112 mph)
      When turn signal light switch is operated When turn signal light switch is turned off
      When windshield wiper switch is set to Lo or Hi When windshield wiper switch is turned off
      When steering force above a specified amount is applied When steering force above specified amount is not detected
      When steering force above a specified amount does not occur* When steering operation is detected
      When changing lanes When driving within a lane is confirmed

      HINT: 

      *: This refers to situations where the vehicle is driven for 15 seconds or more on a lane that is straight; or 5 seconds or more on a curved road (curve radius 1000 m (3281 ft.) or less).

    During the lane-keeping assist function operation, if any of the following conditions is detected, the lane-keeping assist function will stop operating.

    • When dynamic radar cruise control system is canceled*
    • When lane-keeping assist switch is turned off
    • When object recognition camera sensor's interior temperature is 70°C (158°F) or more
    • When lane-keeping assist system is malfunctioning

      HINT: 

      *: During the lane-keeping assist function operation, if the dynamic radar cruise control system is canceled, the lane-keeping assist system will change from the lane-keeping assist function to the lane departure warning function.

  3. LKA INDICATOR LIGHT 

    The LKA indicator light is built into the combination meter. It informs the driver of the operational condition or malfunctions of the lane keeping assist system.

    LKA Indicator System Condition
    Off Not activated
    On Activated
    Blink Malfunction
  4. FUNCTION OF MAIN COMPONENTS 
    Item Outline
    Power steering control ECU
    • Based on signal from driving support ECU, power steering control ECU applies steering force
    • Sends driver's steering operation information to driving support ECU
    Brake booster with master cylinder (skid control ECU)
    • Receives buzzer operation signal from driving support ECU, and sends it to skid control buzzer.
    • Sends vehicle speed information to driving support ECU
    Steering angle sensor Detects driver's steering torque and transmits its signal to power steering control ECU
    Yaw rate sensor Detects yaw rate of vehicle and transmits its signal to driving support ECU
    Combination meter (LKA indicator light)
    • Turns on when lane-keeping assist switch is on
    • If driving support ECU detects malfunction, this light flashes to warn driver
    Combination meter (Warning buzzer) When lane-keeping assist system detects malfunction, warning buzzer sounds once to inform driver
    Cruise control main switch Turns cruise control system on / off
    Stop light switch assembly Detects depressing of brake pedal and transmits its signal to driving support ECU
    Skid control buzzer This buzzer sounds upon receiving signal from brake booster with master cylinder (skid control ECU)
    Vehicle speed sensor Sends vehicle speed signal to brake booster with master cylinder (skid control ECU), and then it is sent to driving support ECU
    Driving support ECU
    • Based on lane marker information and information from other functions, driving support ECU sends signals to electronic power steering control ECU so that it applies steering force
    • Controls multi-information display and buzzer sound condition
    • Monitors lane-keeping assist malfunctions, and records diagnostic information
    Lane-recognition camera sensor Obtains an image of the road in front of the vehicle. An internal image processor generates information such as lane width, road curvature, yaw angle and the amount of vehicle offset from the center of the lane, and this information is sent to the driving support ECU.
    Millimeter wave radar sensor Detects a preceding vehicle and calculates the distance to the preceding vehicle.
    Lane keeping assist main switch Activates or deactivates the system.
    Windshield wiper switch Sends the operation condition of the windshield wiper switch to the driving support ECU.
    Turn signal switch Sends the operation condition of the turn signal switch to the driving support ECU.
    Combination meter
    • Controls the multi-information display and illumination of the LKA indicator in accordance with the respective display request signals from the driving support ECU.
    • Sounds the meter buzzer in accordance with the buzzer request signal from the driving support ECU.
    Multi-information display Displays the operating condition of the system.