LEMON Manuals: Even more car manuals for everyone: 1960-2025
Home >> Toyota >> 2012 >> Prius V >> Repair and Diagnosis (Single Page) >> Accessories & Equipment >> Anti-Theft Systems >> Smart Key System (For Entry Function) (Diagnostic Codes & Symptom Tests) >> SMART KEY SYSTEM (for Entry Function) >> DTC B27A2: Open in Front Passenger Side Electrical Antenna Circuit >> Procedure
April 5, 2026: LEMON Manuals is launched! Read the announcement.

DTC B27A2: Open in Front Passenger Side Electrical Antenna Circuit: Procedure

  1. CHECK CONNECTOR CONNECTION 
    1. Turn the power switch off.
    2. Check that the connectors are properly connected to the certification ECU (smart key ECU assembly) and front door outside handle assembly (front passenger door).

      OK

      Connectors are properly connected.

    NG → CONNECT CONNECTORS PROPERLY 

    OK: Go to next step 

  2. CHECK HARNESS AND CONNECTOR (CERTIFICATION ECU - FRONT DOOR OUTSIDE HANDLE) 
    1. Disconnect the L62 certification ECU (smart key ECU assembly) connector.
    2. Disconnect the m1 front door outside handle assembly (front passenger door) connector.
    3. Measure the resistance according to the value(s) in the table below.

      Standard Resistance

      Tester Connection Condition Specified Condition
      L62-5 (CLG2) - m1-6 (ANT1) Always Below 1 Ω
      L62-6 (CG2B) - m1-3 (ANT2) Always Below 1 Ω
      L62-15 (E) - Body ground Always Below 1 Ω
      m1-2 (GND) - Body ground Always Below 1 Ω
      L62-5 (CLG2) or m1-6 (ANT1) - Body ground Always 10 kΩ or higher
      L62-6 (CG2B) or m1-3 (ANT2) - Body ground Always 10 kΩ or higher

    NG → REPAIR OR REPLACE HARNESS OR CONNECTOR 

    OK: Go to next step 

  3. CHECK CERTIFICATION ECU (SMART KEY ECU ASSEMBLY) (OUTPUT TO FRONT PASSENGER SIDE ELECTRICAL KEY ANTENNA) 
    1. Connect the L62 certification ECU (smart key ECU assembly) connector.
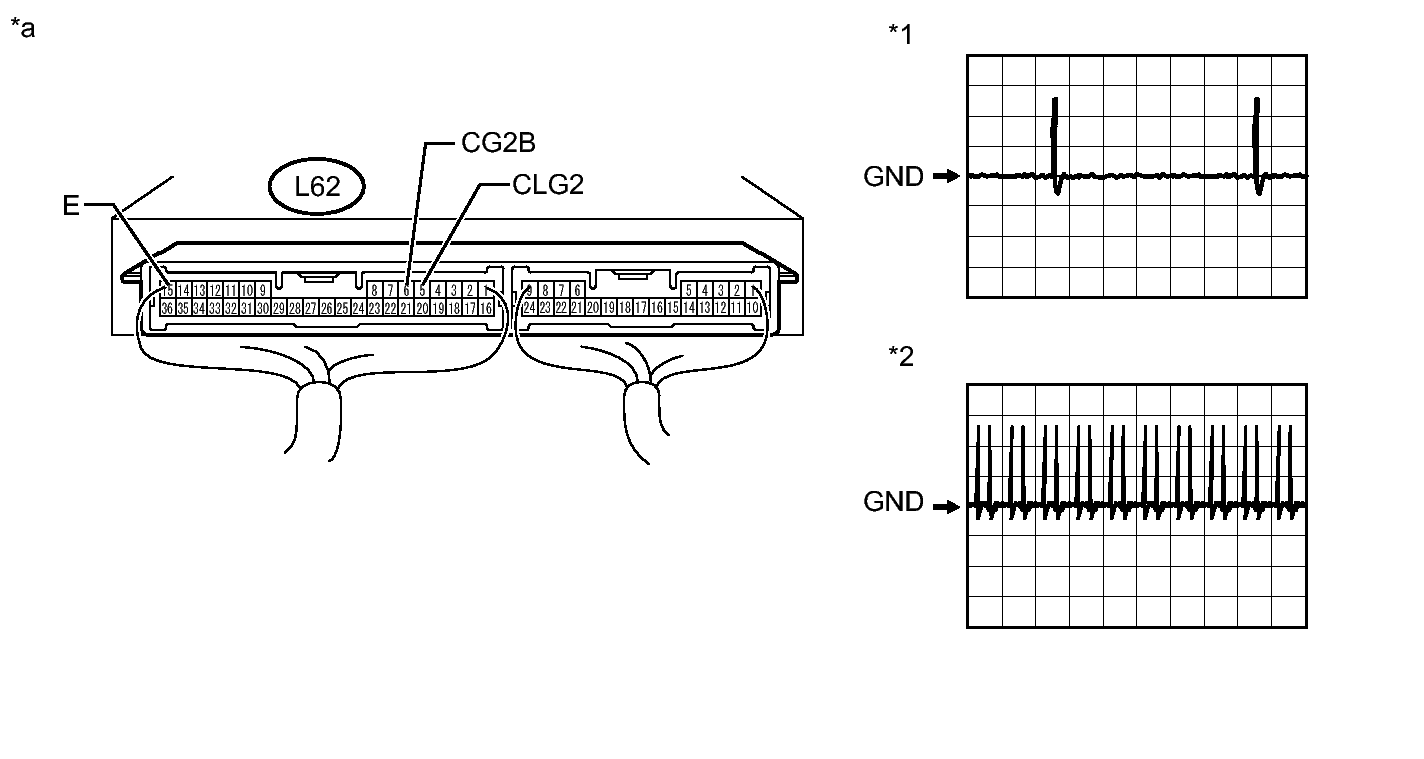
      Fig 1: Checking Certification ECU (Smart Key ECU Assembly) With Waveform Reference
      GTY332681Courtesy of © TOYOTA, LICENSE AGREEMENT TMS1002
      TEXT IN ILLUSTRATION

      *1 Waveform 1 *2 Waveform 2
      *a Component with harness connected
      (Certification ECU (smart key ECU assembly))
      - -
    2. Connect the m1 front door outside handle assembly (front passenger door) connector.
    3. Using an oscilloscope, check the waveform.

      OK

      Tester Connection Condition Tool Setting Specified Condition
      L62-5 (CLG2) - L62-15 (E) Procedure:
      1. Power switch off
      2. Key brought outside vehicle
      3. All doors closed
      4. Key not inside vehicle
      5. Key brought inside detection area*1
      6. All doors locked through wireless operation
      2 V/DIV., 500 ms/DIV. Pulse generation (See waveform 1 Figure)
      L62-5 (CLG2) - L62-15 (E) Procedure:
      1. Power switch off
      2. Key brought outside vehicle
      3. All doors closed
      4. Key not inside vehicle
      5. Key brought outside detection area*2
      6. All doors locked through wireless operation
      2 V/DIV., 500 ms/DIV. Pulse generation (See waveform 2 Figure)
      L62-6 (CG2B) - L62-15 (E) Procedure:
      1. Power switch off
      2. Key brought outside vehicle
      3. All doors closed
      4. Key not inside vehicle
      5. Key brought outside detection area*2
      6. All doors locked with key
      2 V/DIV., 500 ms/DIV. Pulse generation (See waveform 2 Figure)
      • *1: For details about the areas that are inside the entry function detection area, refer to Operation Check. Refer to OPERATION CHECK .
      • *2: For details about the areas that are outside the entry function detection area, refer to Operation Check. Refer to OPERATION CHECK .

    NG → See step   7 

    OK: Go to next step 

  4. REPLACE FRONT DOOR OUTSIDE HANDLE ASSEMBLY RH (FRONT PASSENGER DOOR) 
    1. Temporarily replace the front door outside handle assembly (front passenger door) with a new or normally functioning one. Refer to DISASSEMBLY .

    NEXT: Go to next step 

  5. CLEAR DTC 
    1. Clear the DTCs. Refer to DTC CHECK / CLEAR .

    NEXT: Go to next step 

  6. CHECK FOR DTC 
    1. Check for DTCs. Refer to DTC CHECK / CLEAR .

      OK

      DTC B27A2 is not output.

    NG → See step   7 

    OK → END (FRONT DOOR OUTSIDE HANDLE ASSEMBLY RH WAS DEFECTIVE) 

  7. REPLACE CERTIFICATION ECU (SMART KEY ECU ASSEMBLY). Refer to  REMOVAL