LEMON Manuals: Even more car manuals for everyone: 1960-2025
Home >> Toyota >> 2012 >> RAV4 EV >> Repair and Diagnosis (Single Page) >> Accessories & Equipment >> Entertainment Systems >> Audio / Visual System (W/O USB Audio System) (Diagnostic Codes & Circuit Tests) >> AUDIO AND VISUAL SYSTEM (w/o USB Audio System) >> Circuit Tests >> Steering Pad Switch Circuit >> Procedure
April 5, 2026: LEMON Manuals is launched! Read the announcement.

Steering Pad Switch Circuit: Procedure

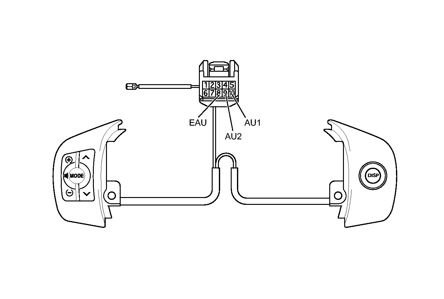
  1. INSPECT STEERING PAD SWITCH ASSEMBLY 
    1. Disconnect the steering pad switch connector.
      Fig 1: Inspecting Steering Pad Switch Assembly
      GTY324621Courtesy of © TOYOTA, LICENSE AGREEMENT TMS1002
    2. Measure the resistance according to the value(s) in the table below.

      Standard Resistance 

      Tester Connection Switch Condition Specified Condition
      10 (AU1) - 8 (EAU) No switch is pushed 95 to 105 kΩ
      10 (AU1) - 8 (EAU) SEEK+ switch: push Below 2.5 Ω
      10 (AU1) - 8 (EAU) SEEK- switch: push 312.5 to 345.5 Ω
      10 (AU1) - 8 (EAU) VOL+ switch: push 950 to 1050 Ω
      10 (AU1) - 8 (EAU) VOL- switch: push 2954.5 to 3265.5 Ω
      9 (AU2) - 8 (EAU) No switch is pushed 95 to 105 kΩ
      9 (AU2) - 8 (EAU) MODE switch: push Below 2.5 Ω

    NG → REPLACE STEERING PAD SWITCH ASSEMBLY 

    OK: Go to next step 

  2. INSPECT SPIRAL CABLE SUB-ASSEMBLY 
    1. Disconnect the spiral cable connectors.
      Fig 2: Inspecting Spiral Cable Sub-Assembly
      GTY332014Courtesy of © TOYOTA, LICENSE AGREEMENT TMS1002
    2. Measure the resistance according to the value(s) in the table below.

      Standard Resistance 

      Tester Connection Condition Specified Condition
      8 (EAU) - 4 (EAU) Center Below 1 Ω
      2.5 rotations to the left
      2.5 rotations to the right
      10 (AU1) - 6 (AU1) Center Below 1 Ω
      2.5 rotations to the left
      2.5 rotations to the right
      9 (AU2) - 5 (AU2) Center Below 1 Ω
      2.5 rotations to the left
      2.5 rotations to the right
      NOTE:

      The spiral cable is an important part of the SRS airbag system. Incorrect removal or installation of the spiral cable may cause airbag deployment. Be sure to refer to the "See" shown in the brackets.

      HINT: 

    NG → REPLACE SPIRAL CABLE SUB-ASSEMBLY 

    OK: Go to next step 

  3. CHECK HARNESS AND CONNECTOR (SPIRAL CABLE - RADIO RECEIVER) 
    1. Disconnect the E88 receiver connector.
      Fig 3: Checking Harness And Connector (Spiral Cable - Radio Receiver)
      GTY224579Courtesy of © TOYOTA, LICENSE AGREEMENT TMS1002
    2. Disconnect the E7 cable connector.
    3. Measure the resistance according to the value(s) in the table below.

      Standard Resistance 

      Tester Connection Specified Condition
      E88-7 (SW1) - E7-6 (AU1) Below 1 Ω
      E88-8 (SW2) - E7-5 (AU2) Below 1 Ω
      E88-6 (SWG) - E7-4 (EAU) Below 1 Ω
      E88-7 (SW1) - Body ground 10 kΩ or higher
      E88-8 (SW2) - Body ground 10 kΩ or higher
      E88-6 (SWG) - Body ground 10 kΩ or higher

    NG → REPAIR OR REPLACE HARNESS OR CONNECTOR 

    OK → PROCEED TO NEXT CIRCUIT INSPECTION SHOWN IN PROBLEM SYMPTOMS TABLE