LEMON Manuals: Even more car manuals for everyone: 1960-2025
Home >> Toyota >> 2012 >> RAV4 EV >> Repair and Diagnosis (Single Page) >> Accessories & Equipment >> Entertainment Systems >> Audio / Visual System (W/USB Audio System) (Diagnostics & Symptom Tests) >> AUDIO AND VISUAL SYSTEM (w/ USB Audio System) >> Circuit Tests >> Steering Pad Switch Circuit >> Procedure
April 5, 2026: LEMON Manuals is launched! Read the announcement.

Steering Pad Switch Circuit: Procedure

  1. INSPECT STEERING PAD SWITCH ASSEMBLY 
    1. Remove the steering pad switch assembly. Refer to REMOVAL .
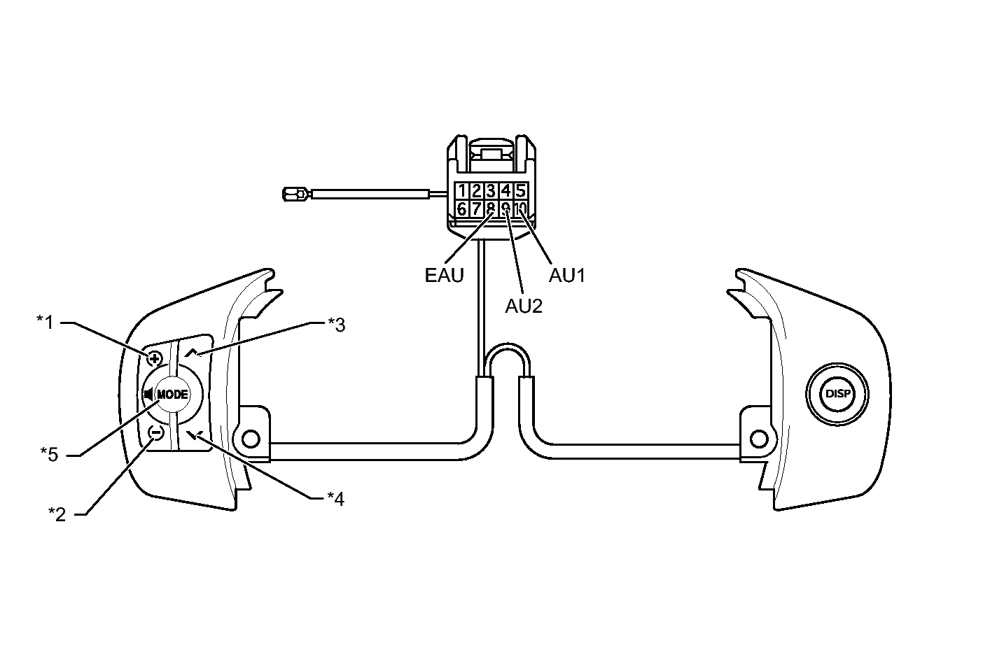
      Fig 1: Inspecting Steering Pad Switch Assembly
      GTY340092Courtesy of © TOYOTA, LICENSE AGREEMENT TMS1002
      TEXT IN ILLUSTRATION

      *1 Volume+ Switch *2 Volume- Switch
      *3 Seek+ Switch *4 Seek- Switch
      *5 MODE Switch - -
    2. Measure the resistance according to the value(s) in the table below.

      Standard Resistance 

      Tester Connection Switch Condition Specified Condition
      10 (AU1) - 8 (EAU) No switch is pushed 95 to 105 kΩ
      Seek+ switch is pushed Below 2.5 Ω
      Seek- switch is pushed 312.5 to 345.5 Ω
      Volume+ switch is pushed 950 to 1050 Ω
      Volume- switch is pushed 2954.5 to 3265.5 Ω
      9 (AU2) - 8 (EAU) No switch is pushed 95 to 105 kΩ
      MODE switch is pushed Below 2.5 Ω

    NG → See step   5 

    OK: Go to next step 

  2. INSPECT SPIRAL CABLE SUB-ASSEMBLY 
    1. Remove the spiral cable sub-assembly. Refer to REMOVAL .
      Fig 2: Inspecting Spiral Cable Sub-Assembly
      GTY341854Courtesy of © TOYOTA, LICENSE AGREEMENT TMS1002
    2. Measure the resistance according to the value(s) in the table below.

      Standard Resistance 

      Tester Connection Condition Specified Condition
      8 (EAU) - 4 (EAU) Spiral cable is turned 2.5 rotations counterclockwise Below 1 Ω
      Spiral cable is centered
      Spiral cable is turned 2.5 rotations clockwise
      10 (AU1) - 6 (AU1) Spiral cable is turned 2.5 rotations counterclockwise
      Spiral cable is centered
      Spiral cable is turned 2.5 rotations clockwise
      9 (AU2) - 5 (AU2) Spiral cable is turned 2.5 rotations counterclockwise
      Spiral cable is centered
      Spiral cable is turned 2.5 rotations clockwise
      TEXT IN ILLUSTRATION

      *a Steering Pad Switch Side
      *b Vehicle Side
      WARNING:

      The spiral cable is an important part of the SRS airbag system. Incorrect removal or installation of the spiral cable may prevent the airbag from deploying. Be sure to read the Precaution for the SRS. Refer to PRECAUTION .

    NG → See step   6 

    OK: Go to next step 

  3. CHECK HARNESS AND CONNECTOR (RADIO RECEIVER ASSEMBLY - SPIRAL CABLE SUB-ASSEMBLY) 
    1. Disconnect the E109 radio receiver assembly connector.
    2. Disconnect the E7 spiral cable sub-assembly connector.
    3. Measure the resistance according to the value(s) in the table below.

      Standard Resistance 

      Tester Connection Condition Specified Condition
      E109-21 (SW1) - E7-6 (AU1) Always Below 1 Ω
      E109-22 (SW2) - E7-5 (AU2)
      E109-23 (SWG) - E7-4 (EAU)
      E109-21 (SW1) - Body ground Always 10 kΩ or higher
      E109-22 (SW2) - Body ground
      E109-23 (SWG) - Body ground

    NG → REPAIR OR REPLACE HARNESS OR CONNECTOR 

    OK → See step   4 

  4. PROCEED TO NEXT SUSPECTED AREA SHOWN IN PROBLEM SYMPTOMS TABLE. Refer to  PROBLEM SYMPTOMS TABLE  
  5. REPLACE STEERING PAD SWITCH ASSEMBLY. Refer to  REMOVAL 
  6. REPLACE SPIRAL CABLE SUB-ASSEMBLY. Refer to  REMOVAL