LEMON Manuals: Even more car manuals for everyone: 1960-2025
Home >> Toyota >> 2012 >> RAV4 EV >> Repair and Diagnosis >> External Pages >> Different variant/trim >> Section 70 (Active Torque Control 4WD System (Diagnostics - Introduction)) >> Active Torque Control 4WD System >> System Diagram >> System Diagram
April 5, 2026: LEMON Manuals is launched! Read the announcement.

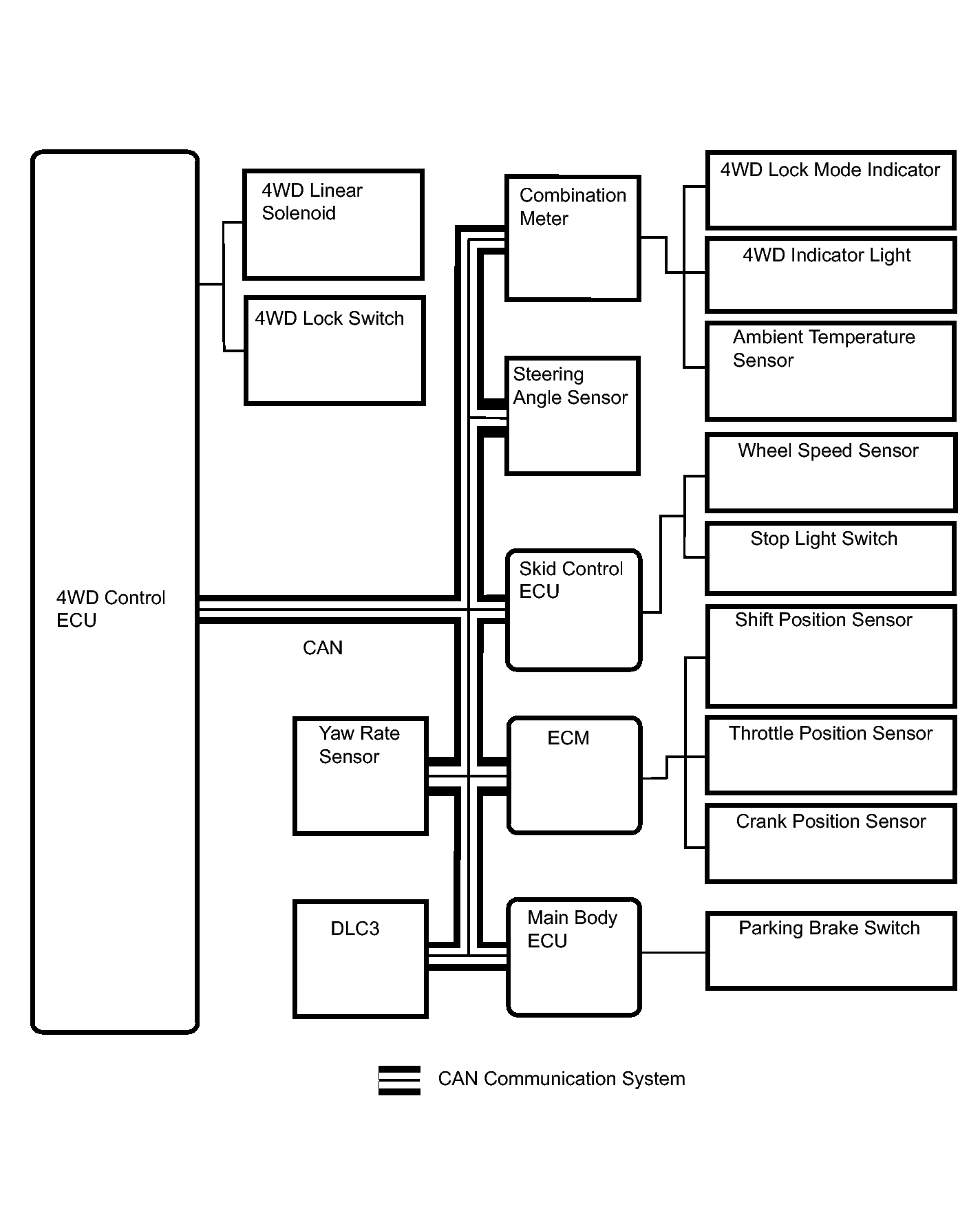
System Diagram

WARNING: This page is about a different variant/trim than selected.
Fig 1: Active Torque Control 4WD System Diagram
GTY243657Courtesy of © TOYOTA, LICENSE AGREEMENT TMS1002