LEMON Manuals: Even more car manuals for everyone: 1960-2025
Home >> Toyota >> 2012 >> Sienna Base, Van Cargo >> Repair and Diagnosis (Single Page) >> Accessories & Equipment >> Infotainment >> Navigation System (For DVD Without USB Audio System) (Diagnostic Codes & Circuit Tests) >> NAVIGATION SYSTEM (for DVD without USB Audio System) >> Circuit Tests >> Navigation Receiver Assembly Power Source Circuit >> Procedure
April 5, 2026: LEMON Manuals is launched! Read the announcement.

Navigation Receiver Assembly Power Source Circuit: Procedure

  1. CHECK HARNESS AND CONNECTOR (NAVIGATION RECEIVER - BATTERY AND BODY GROUND) 
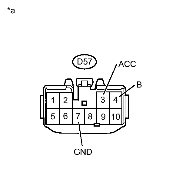
    1. Disconnect the D57 navigation receiver assembly connector.
      Fig 1: Checking Harness And Connector (Navigation Receiver - Battery And Body Ground)
      GTY297833Courtesy of © TOYOTA, LICENSE AGREEMENT TMS1002
    2. Measure the resistance and voltage according to the value(s) in the table below.

      Standard Resistance

      Tester Connection Condition Specified Condition
      D57-7 (GND) - Body ground Always Below 1 Ω

      Standard Voltage

      Tester Connection Switch Condition Specified Condition
      D57-4 (B) - Body ground Always 11 to 14 V
      D57-3 (ACC) - Body ground Ignition switch ACC 11 to 14 V
      TEXT IN ILLUSTRATION

      *a Front view of wire harness connector
      (to Navigation Receiver Assembly)

    NG → REPAIR OR REPLACE HARNESS OR CONNECTOR 

    OK → See step   2 

  2. PROCEED TO NEXT SUSPECTED AREA SHOWN IN PROBLEM SYMPTOMS TABLE. Refer to  PROBLEM SYMPTOMS TABLE