LEMON Manuals: Even more car manuals for everyone: 1960-2025
Home >> Toyota >> 2012 >> Sienna Base, Van Cargo >> Repair and Diagnosis (Single Page) >> Accessories & Equipment >> Infotainment >> Navigation System (For DVD Without USB Audio System) (Diagnostic Codes & Circuit Tests) >> NAVIGATION SYSTEM (for DVD without USB Audio System) >> Circuit Tests >> Vehicle Speed Signal Circuit Between Navigation Receiver Assembly And Combination Meter >> Procedure
April 5, 2026: LEMON Manuals is launched! Read the announcement.

Vehicle Speed Signal Circuit Between Navigation Receiver Assembly And Combination Meter: Procedure

  1. CHECK OPERATION OF SPEEDOMETER 
    1. Drive the vehicle and check if the function of the speedometer in the combination meter assembly is normal.

      OK

      Actual vehicle speed and the speed indicated on the speedometer are the same.

      HINT: 

      • The speed indicated on the speedometer has an allowable margin of error. This can be tested using a speedometer tester (calibrated chassis dynamometer). For details about testing and the margin of error, refer to "Operation Check" in the meter/gauge system. Refer to HOW TO PROCEED WITH TROUBLESHOOTING .
      • The vehicle speed sensor is functioning normally when the indication on the speedometer is normal.

    NG → See step   4 

    OK: Go to next step 

  2. INSPECT COMBINATION METER ASSEMBLY (SPEED SIGNAL) 
    1. Remove the combination meter assembly with the connector(s) still connected.
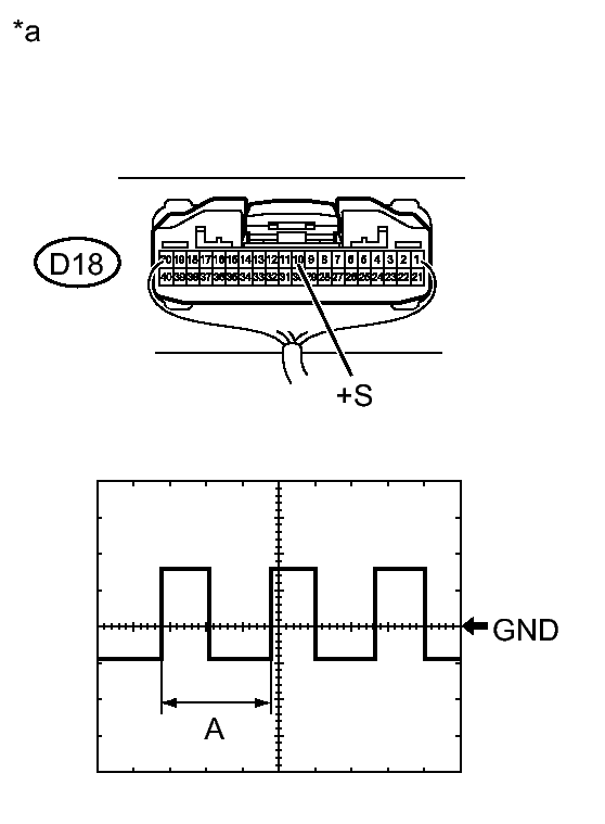
      Fig 1: Inspecting Combination Meter Assembly (Speed Signal) With Signal Waveform
      GTY296089Courtesy of © TOYOTA, LICENSE AGREEMENT TMS1002
    2. Connect an oscilloscope to terminal D18-10 (+S) and body ground.
    3. Turn the ignition switch to ON.
    4. Check the signal waveform according to the condition(s) in the table below.
      MEASUREMENT CONDITION

      Item Condition
      Terminal No. (Symbols) D18-10 (+S) - Body ground
      Tool setting 5 V/DIV., 20 msec./ DIV.
      Condition Being driven at approx. 20 km/h (12 mph)

      HINT: 

      When the system is functioning normally, one wheel revolution generates 4 pulses. As the vehicle speed increases, the width indicated by (A) in the illustration narrows.

      OK

      The waveform displayed is as shown in the illustration

      TEXT IN ILLUSTRATION

      *a Component with harness connected
      (Combination Meter Assembly)

    NG → See step   4 

    OK: Go to next step 

  3. CHECK HARNESS AND CONNECTOR (NAVIGATION RECEIVER - COMBINATION METER) 
    1. Disconnect the D55 navigation receiver assembly connector.
    2. Disconnect the D18 combination meter assembly connector.
    3. Measure the resistance according to the value(s) in the table below.

      Standard Resistance (Check for Open)

      Tester Connection Condition Specified Condition
      D55-3 (SPD) - D18-10 (+S) Always Below 1 Ω

      Standard Resistance (Check for Short)

      Tester Connection Condition Specified Condition
      D55-3 (SPD) - Body ground Always 10 kΩ or higher

    NG → REPAIR OR REPLACE HARNESS OR CONNECTOR 

    OK → See step   5 

  4. GO TO METER / GAUGE SYSTEM. Refer to  PROBLEM SYMPTOMS TABLE 
  5. REPLACE NAVIGATION RECEIVER ASSEMBLY. Refer to  REMOVAL