LEMON Manuals: Even more car manuals for everyone: 1960-2025
Home >> Toyota >> 2012 >> Sienna Base, Van Cargo >> Repair and Diagnosis >> Engine Performance >> Ignition System >> Smart Key System (For Start Function) (Diagnostic Codes & Symptom Tests) >> SMART KEY SYSTEM (for Start Function) >> DTC B2271: Ignition Hold Monitor Malfunction >> Wiring Diagram
April 5, 2026: LEMON Manuals is launched! Read the announcement.

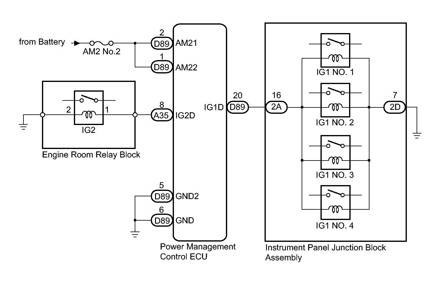
DTC B2271: Ignition Hold Monitor Malfunction: Wiring Diagram

Fig 1: Ignition Hold Monitor Circuit - Wiring Diagram
GTY302088Courtesy of © TOYOTA, LICENSE AGREEMENT TMS1002