LEMON Manuals: Even more car manuals for everyone: 1960-2025
Home >> Toyota >> 2012 >> Venza Limited, AWD >> Repair and Diagnosis >> Engine Performance >> Ignition System >> Smart Key System (For Start Function) (Diagnostic Codes & Symptom Tests) >> SMART KEY SYSTEM (for Start Function) >> DTC B2274: ACC Monitor Malfunction >> Procedure
April 5, 2026: LEMON Manuals is launched! Read the announcement.

DTC B2274: ACC Monitor Malfunction: Procedure

  1. CHECK HARNESS AND CONNECTOR (BATTERY - POWER MANAGEMENT CONTROL ECU) See step   1 

    NG → REPAIR OR REPLACE HARNESS OR CONNECTOR (BATTERY - POWER MANAGEMENT CONTROL ECU) 

    OK: Go to next step 

  2. CHECK HARNESS AND CONNECTOR (POWER MANAGEMENT CONTROL ECU - BODY GROUND) See step   2 

    NG → REPAIR OR REPLACE HARNESS OR CONNECTOR (POWER MANAGEMENT CONTROL ECU - BODY GROUND) 

    OK: Go to next step 

  3. CHECK HARNESS AND CONNECTOR 
    1. Disconnect the 2G connector from the main body ECU (driver side junction block assembly).
      Fig 1: Checking Main Body ECU (Driver Side Junction Block Assembly) Connector Terminals
      GTY252322Courtesy of © TOYOTA, LICENSE AGREEMENT TMS1002
    2. Measure the resistance according to the value(s) in the table below.

      Standard Resistance

      Tester Connection Condition Specified Condition
      D43-19 (ACCD) - 2G-9 Always Below 1 Ω
      D43-19 (ACCD) - Body ground Always 10 kΩ or higher
      TEXT IN ILLUSTRATION

      *1 Front view of wire harness connector
      (to Power Management Control ECU)
      *2 Front view of wire harness connectors
      (to Main Body ECU (Driver Side Junction Block Assembly))

    NG → REPAIR OR REPLACE HARNESS OR CONNECTOR 

    OK: Go to next step 

  4. CHECK HARNESS AND CONNECTOR See step   4 

    NG → REPAIR OR REPLACE HARNESS OR CONNECTOR 

    OK: Go to next step 

  5. INSPECT ACC RELAY 
    1. Remove the ACC relay from the main body ECU (driver side junction block assembly).
      Fig 2: Inspecting ACC Relay Connector Terminals
      GTY145123Courtesy of © TOYOTA, LICENSE AGREEMENT TMS1002
    2. Measure the resistance according to the value(s) in the table below.

      Standard Resistance

      Tester Connection Condition Specified Condition
      1 - 2 Always 93.8 to 136.4 Ω
      3 - 5 When battery voltage is not applied to terminals 1 and 2 10 kΩ or higher
      3 - 5 When battery voltage is applied to terminals 1 and 2 Below 1 Ω

    NG → REPLACE ACC RELAY 

    OK: Go to next step 

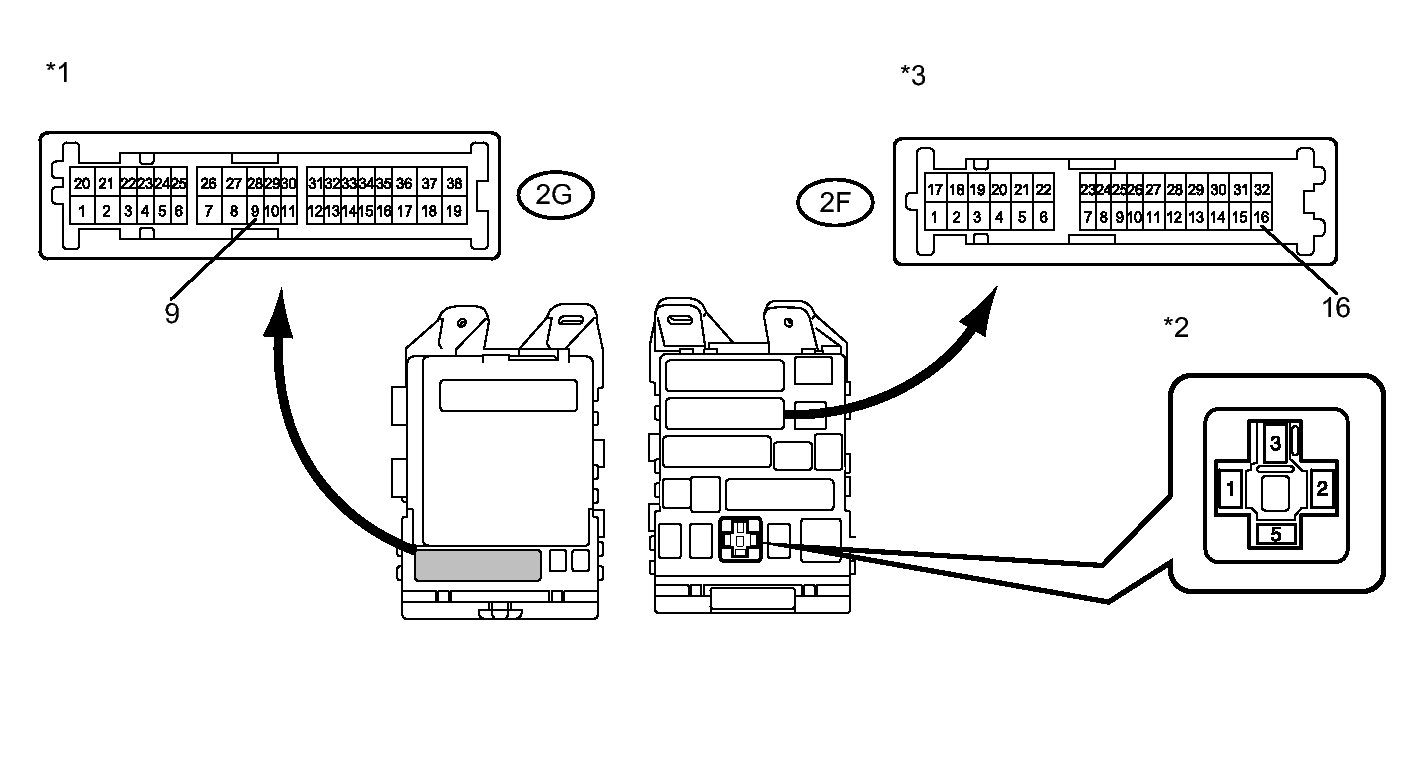
  6. INSPECT MAIN BODY ECU (DRIVER SIDE JUNCTION BLOCK ASSEMBLY) 
    1. Remove the main body ECU (driver side junction block assembly). Refer to REMOVAL .
      Fig 3: Inspecting Driver Side Junction Block Assembly Connector Terminals
      GTY252325Courtesy of © TOYOTA, LICENSE AGREEMENT TMS1002
    2. Measure the resistance according to the value(s) in the table below.

      Standard Resistance

      Tester Connection Condition Specified Condition
      2G-9 - ACC relay terminal 2 Always Below 1 Ω
      2G-9 - Body ground Always 10 kΩ or higher
      2F-16 - ACC relay terminal 1 Always Below 1 Ω
      2F-16 - Body ground Always 10 kΩ or higher
      TEXT IN ILLUSTRATION

      *1 Front view of wire harness connector
      (to Main Body ECU (Driver Side Junction Block Assembly))
      *3 Front view of wire harness connector
      (to Main Body ECU (Driver Side Junction Block Assembly))
      *2 Component without relay connected
      (ACC Relay Terminal)
      - -

    NG → See step   7 

    OK → See step   8 

  7. REPLACE MAIN BODY ECU (DRIVER SIDE JUNCTION BLOCK ASSEMBLY). Refer to  REMOVAL 
  8. REPLACE POWER MANAGEMENT CONTROL ECU. Refer to  REMOVAL