LEMON Manuals: Even more car manuals for everyone: 1960-2025
Home >> Toyota >> 2013 >> 4Runner Trail >> Repair and Diagnosis (Single Page) >> Engine Performance >> Engine Control Systems >> Engine Control System (Service Information) >> Relay >> On-Vehicle Inspection >> On-Vehicle Inspection
April 5, 2026: LEMON Manuals is launched! Read the announcement.

On-Vehicle Inspection

  1. INSPECT NO. 1 INTEGRATION RELAY (IG2) 
    1. Check the IG2 fuse.
      1. Measure the resistance according to the value(s) in the table below.

        Standard Resistance

        Tester Connection Condition Specified Condition
        IG2 fuse Always Below 1 Ω

        If the result is not as specified, replace the IG2 fuse.

    2. Check the IG2 relay.
      1. Measure the resistance according to the value(s) in the table below.
        Fig 1: Identifying IG2 Relay
        GTY343583Courtesy of © TOYOTA, LICENSE AGREEMENT TMS1002

        Standard Resistance

        Tester Connection Condition Specified Condition
        1E-1 - 1C-4 Battery voltage not applied to terminals 1C-1 and 1C-3 10 kΩ or higher
        Battery voltage applied to terminals 1C-1 and 1C-3 Below 1 Ω
        TEXT IN ILLUSTRATION

        *a Component without harness connected
        (No. 1 Integration Relay)

        If the result is not as specified, replace the No. 1 integration relay.

  2. INSPECT NO. 1 INTEGRATION RELAY (EFI) 
    1. Check the EFI fuse.
      1. Measure the resistance according to the value(s) in the table below.

        Standard Resistance

        Tester Connection Condition Specified Condition
        EFI fuse Always Below 1 Ω

        If the result is not as specified, replace the EFI fuse.

    2. Check the EFI relay.
      1. Measure the resistance according to the value(s) in the table below.
        Fig 2: Identifying EFI Relay
        GTY343583Courtesy of © TOYOTA, LICENSE AGREEMENT TMS1002

        Standard Resistance

        Tester Connection Condition Specified Condition
        1E-1 - 1D-4 Battery voltage not applied to terminals 1D-2 and 1D-3 10 kΩ or higher
        Battery voltage applied to terminals 1D-2 and 1D-3 Below 1 Ω
        TEXT IN ILLUSTRATION

        *a Component without harness connected
        (No. 1 Integration Relay)

        If the result is not as specified, replace the No. 1 integration relay.

  3. INSPECT NO. 1 INTEGRATION RELAY (A/F) 
    1. Check the A/F fuse.
      1. Measure the resistance according to the value(s) in the table below.

        Standard Resistance

        Tester Connection Condition Specified Condition
        A/F fuse Always Below 1 Ω

        If the result is not as specified, replace the A/F fuse.

    2. Measure the resistance according to the value(s) in the table below.
      Fig 3: Identifying No. 1 Integration Relay (A/F)
      GTY343583Courtesy of © TOYOTA, LICENSE AGREEMENT TMS1002

      Standard Resistance

      Tester Connection Condition Specified Condition
      1E-1 - 1D-8 Battery voltage not applied to terminals 1D-4 and 1D-7 10 kΩ or higher
      Battery voltage applied to terminals 1D-4 and 1D-7 Below 1 Ω
      TEXT IN ILLUSTRATION

      *a Component without harness connected
      (No. 1 Integration Relay)

      If the result is not as specified, replace the No. 1 integration relay.

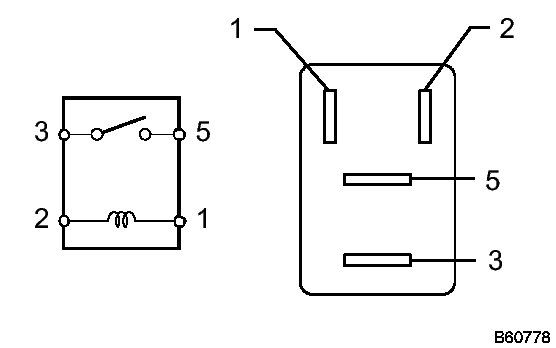
  4. INSPECT AIR PUMP HEATER RELAY (AIR PUMP HTR) 
    1. Measure the resistance according to the value(s) in the table below.
      Fig 4: Identifying Circuit Opening Relay (C/OPN) Terminals
      GTY238241Courtesy of © TOYOTA, LICENSE AGREEMENT TMS1002

      Standard Resistance

      Tester Connection Condition Specified Condition
      3 - 5 Battery voltage is not applied to terminals 1 and 2 10 kΩ or higher
      Battery voltage is applied to terminals 1 and 2 Below 1 Ω

      If the result is not as specified, replace the air pump heater relay.

  5. INSPECT AIR INJECTION VSV RELAY (AI-VSV) 
    1. Measure the resistance according to the value(s) in the table below.
      Fig 5: Identifying Circuit Opening Relay (C/OPN) Terminals
      GTY238241Courtesy of © TOYOTA, LICENSE AGREEMENT TMS1002

      Standard Resistance

      Tester Connection Condition Specified Condition
      3 - 5 Battery voltage is not applied to terminals 1 and 2 10 kΩ or higher
      Battery voltage is applied to terminals 1 and 2 Below 1 Ω

      If the result is not as specified, replace the air injection VSV relay.

  6. INSPECT MAIN BODY ECU (DRIVER SIDE JUNCTION BLOCK) 
    NOTE:

    The ACC relay and IG1 No. 1 relay are built into the main body ECU (driver side junction block).

    1. Inspect the ACC relay.
      1. Measure the resistance according to the value(s) in the table below.
        Fig 6: Identifying Main Body ECU (Driver Side Junction Block)
        GTY333294Courtesy of © TOYOTA, LICENSE AGREEMENT TMS1002
        TEXT IN ILLUSTRATION

        *a Component without harness connected
        (Main Body ECU)
        - -

        Standard Resistance

        Tester Connection Condition Specified Condition
        2B-17 - 2E-1 Battery voltage not applied to terminals 2C-48 and 2B-4 10 kΩ or higher
        Battery voltage applied to terminals 2C-48 and 2B-4 Below 1 Ω

        If the result is not as specified, replace the main body ECU.

    2. Inspect the IG1 No. 1 relay.
      1. Measure the resistance according to the value(s) in the table below.
        Fig 7: Identifying IG1 No. 1 Relay
        GTY333294Courtesy of © TOYOTA, LICENSE AGREEMENT TMS1002
        TEXT IN ILLUSTRATION

        *a Component without harness connected
        (Main Body ECU)
        - -

        Standard Resistance

        Tester Connection Condition Specified Condition
        2C-31 - 2E-1 Battery voltage not applied to terminals 2C-52 and 2B-4 10 kΩ or higher
        Battery voltage applied to terminals 2C-52 and 2B-4 Below 1 Ω

        If the result is not as specified, replace the main body ECU.