LEMON Manuals: Even more car manuals for everyone: 1960-2025
Home >> Toyota >> 2013 >> Avalon XLE >> Repair and Diagnosis (Single Page) >> Accessories & Equipment >> Anti-Theft Systems >> Smart Key System (Entry Function) (Diagnostic Codes & Symptom Tests) (Except Hybrid) >> SMART KEY SYSTEM (for Entry Function) >> Symptom Tests >> All Door Entry Lock/Unlock Functions do not Operate, but Wireless Functions Operate >> Procedure
April 5, 2026: LEMON Manuals is launched! Read the announcement.

All Door Entry Lock/Unlock Functions do not Operate, but Wireless Functions Operate: Procedure

  1. CHECK FOR DTC 
    1. Check for DTCs. Refer to DTC CHECK / CLEAR .

      OK

      DTCs are not output.

    NG → See step   15 

    OK: Go to next step 

  2. CHECK CUSTOMIZE SETTING 
    1. Check the value by performing manual operation of the customize function. Refer to CUSTOMIZE PARAMETERS .

      Result

      Result Proceed to
      Entry door lock function cancel is OFF A
      Entry door lock function cancel is ON B

    B → See step   8 

    A: Go to next step 

  3. CHECK WAVE ENVIRONMENT 
    1. Move the electrical key transmitter sub-assembly as described below and perform the operation inspection. Refer to OPERATION CHECK .

      HINT: 

      • When the electrical key transmitter sub-assembly is brought near the front door outside handle assembly (for driver door) or electrical key antenna, the possibility of wave interference decreases, and it can be determined if wave interference is causing the problem symptom.
      • The transmitted waves of the wireless function and entry function are the same, but the wave logic is different. As a result, it is possible that only the wireless function or only the entry function is affected by wave interference.
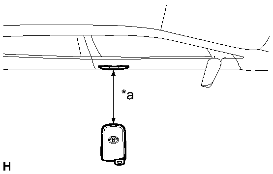
      1. Bring the electrical key transmitter sub-assembly approximately 0.3 m (0.984 ft.) from the front door outside handle assembly (for driver door) and perform a driver door entry lock and unlock operation check.
        Fig 1: Identifying Transmitter Height & Distance From Door Handle
        GTY375615Courtesy of © TOYOTA, LICENSE AGREEMENT TMS1002
        TEXT IN ILLUSTRATION

        *a Approximately 0.3 m (0.984 ft.)
        NOTE:

        Communication may not be possible if the electrical key transmitter sub-assembly is within 0.2 m (0.657 ft.) of the door handle.

      2. Bring the electrical key transmitter sub-assembly approximately 0.3 m (0.984 ft.) from the front door outside handle assembly (for front passenger door) and perform a front passenger door entry lock and unlock operation check. (w/ Front Passenger Door Entry Function)
        Fig 2: Identifying Electrical Key Antenna (For Front Passenger Door)
        GTY362349Courtesy of © TOYOTA, LICENSE AGREEMENT TMS1002
        TEXT IN ILLUSTRATION

        *a Approximately 0.3 m (0.984 ft.)
        NOTE:

        Communication may not be possible if the electrical key transmitter sub-assembly is within 0.2 m (0.657 ft.) of the door handle.

      3. Bring the electrical key transmitter sub-assembly approximately 0.3 m (0.984 ft.) from the electrical key antenna (outside luggage) and perform a luggage compartment door open function check.
        Fig 3: Identifying Transmitter Test Location
        GTY366376Courtesy of © TOYOTA, LICENSE AGREEMENT TMS1002
        TEXT IN ILLUSTRATION

        *a Approximately 0.3 m (0.984 ft.)
        NOTE:

        Communication may not be possible if the electrical key transmitter sub-assembly is within 0.2 m (0.657 ft.) of the door handle.

        HINT: 

        • If the inspection result is that the problem only occurs in certain locations or at certain times of day, the possibility of wave interference is high. Also, added vehicle components may cause wave interference. If installed, remove them and perform the operation check.
        • If wave interference seems to be the likely cause of the problem, ask the customer if the problem occurs in specific locations.
        • Move the vehicle to a different location, perform the following procedure and check if the symptoms can be reproduced.
        • If a tool for checking radio waves, such as a signal strength meter, is available, move around the area while observing both the LF band (used by the vehicle antenna to form the detection area) and RF band (used by the electrical key transmitter sub-assembly for transmission) to check for locations where there is wave interference.

        Result

        Result Proceed to
        All operation checks fail A
        All operation checks are normal B
        Some operation checks are normal C

    B → AFFECTED BY WAVE INTERFERENCE 

    C → See step   13 

    A: Go to next step 

  4. CHECK KEY DIAGNOSTIC MODE 
    1. Check the following antennas in key diagnostic mode. Refer to OPERATION CHECK .
    2. Select either channel 1 or channel 2 and inspect key diagnostic mode for each channel.

      HINT: 

      If the buzzer sounds with [CH1] displayed but not with [CH2], the electrical key transmitter sub-assembly cannot be detected by channel 2 due to a malfunction, such as wave interference.

      1. Check the electrical key antenna (for driver door):
        Fig 4: Identifying Transmitter Height & Distance From Door Handle
        GTY375615Courtesy of © TOYOTA, LICENSE AGREEMENT TMS1002
        TEXT IN ILLUSTRATION

        *a 0.7 to 1 m (2.30 to 3.28 ft.)

        When the electrical key transmitter sub-assembly is brought within 0.7 to 1 m (2.30 to 3.28 ft.) of the front door outside handle assembly (for driver door), check that the wireless door lock buzzer sounds.

      2. Check the electrical key antenna (for front passenger door): (w/ Front Passenger Door Entry Function)
        Fig 5: Identifying Electrical Key Antenna (For Front Passenger Door)
        GTY362349Courtesy of © TOYOTA, LICENSE AGREEMENT TMS1002
        TEXT IN ILLUSTRATION

        *a 0.7 to 1 m (2.30 to 3.28 ft.)

        When the electrical key transmitter sub-assembly is brought within 0.7 to 1 m (2.30 to 3.28 ft.) of the front door outside handle assembly (for front passenger door), check that the wireless door lock buzzer sounds.

      3. Check the electrical key antenna (outside luggage):
        Fig 6: Identifying Transmitter Test Location
        GTY366376Courtesy of © TOYOTA, LICENSE AGREEMENT TMS1002
        TEXT IN ILLUSTRATION

        *a 0.7 to 1 m (2.30 to 3.28 ft.)

        When the electrical key transmitter sub-assembly is brought within 0.7 to 1 m (2.30 to 3.28 ft.) of the electrical key antenna (outside luggage), check that the wireless door lock buzzer sounds.

      4. Check the NO. 1 indoor electrical key antenna assembly (front floor):
        Fig 7: Identifying Smart Key Inspection Points
        GTY365061Courtesy of © TOYOTA, LICENSE AGREEMENT TMS1002
        TEXT IN ILLUSTRATION

        *a Inspection Point

        When the electrical key transmitter sub-assembly is at the inspection point, check that the wireless door lock buzzer sounds.

      5. Check the NO. 2 indoor electrical key antenna assembly (rear floor):
        Fig 8: Identifying Smart Key Inspection Points
        GTY366560Courtesy of © TOYOTA, LICENSE AGREEMENT TMS1002
        TEXT IN ILLUSTRATION

        *a Inspection Point

        When the electrical key transmitter sub-assembly is at the inspection point, check that the wireless door lock buzzer sounds.

      6. Check the NO. 2 indoor electrical key antenna assembly (inside luggage compartment):
        Fig 9: Identifying Inspection Points
        GTY369008Courtesy of © TOYOTA, LICENSE AGREEMENT TMS1002
        TEXT IN ILLUSTRATION

        *a Inspection Point

        When the electrical key transmitter sub-assembly is at the inspection point, check that the wireless door lock buzzer sounds.

      OK

      Wireless door lock buzzer sounds.

      Result

      Result Proceed to
      All diagnostic mode inspections fail A
      Some diagnostic mode inspections fail (door) B
      Some diagnostic mode inspections fail (interior) C
      Some diagnostic mode inspections fail (luggage compartment door) D
      All diagnostic mode inspections are normal E

    B → See step   9 

    C → See step   10 

    D → See step   11 

    E → See step   14 

    A: Go to next step 

  5. CHECK ELECTRICAL KEY TRANSMITTER SUB-ASSEMBLY 
    1. Check if there is another electrical key transmitter sub-assembly available that is already registered to the vehicle.

      Result

      Result Proceed to
      Another registered electrical key transmitter sub-assembly is not available A
      Another registered electrical key transmitter sub-assembly is available B

    B → See step   7 

    A: Go to next step 

  6. ELECTRICAL KEY TRANSMITTER SUB-ASSEMBLY REGISTRATION (NEW ELECTRICAL KEY TRANSMITTER SUB-ASSEMBLY) 
    1. Register a new electrical key transmitter sub-assembly. Refer to REGISTRATION .

    NEXT: Go to next step 

  7. CHECK ENTRY DOOR LOCK OPERATION 
    1. Check the operation of the entry lock function. Refer to OPERATION CHECK .

      OK

      Entry lock function operates normally.

    NG → See step   12 

    OK → END (ELECTRICAL KEY TRANSMITTER SUB-ASSEMBLY WAS DEFECTIVE) 

  8. PERFORM CUSTOMIZE SETTING. Refer to  CUSTOMIZE PARAMETERS 
  9. GO TO OTHER PROBLEM (PROCEED TO PROBLEM SYMPTOM TABLE FOR EACH DOOR). Refer to  PROBLEM SYMPTOMS TABLE 
  10. GO TO OTHER PROBLEM. Refer to  Room Oscillator does not Recognize Key  
  11. GO TO OTHER PROBLEM. Refer to  Luggage Compartment Door Entry Unlock Function does not Operate when Key is Outside Luggage Compartment  
  12. REPLACE CERTIFICATION ECU (SMART KEY ECU ASSEMBLY). Refer to  REMOVAL 
  13. GO TO OTHER PROBLEM (PROCEED TO PROBLEM SYMPTOMS TABLE FOR EACH DOOR). Refer to  PROBLEM SYMPTOMS TABLE 
  14. REPLACE CERTIFICATION ECU (SMART KEY ECU ASSEMBLY). Refer to  REMOVAL 
  15. GO TO DIAGNOSTIC TROUBLE CODE CHART. Refer to  DIAGNOSTIC TROUBLE CODE CHART