LEMON Manuals: Even more car manuals for everyone: 1960-2025
Home >> Toyota >> 2013 >> Corolla LE >> Repair and Diagnosis (Single Page) >> Accessories & Equipment >> Communication Devices >> Can Communication System (Diagnostic Codes & Symptom Tests) >> Can Communication System >> DTC U0327: Software Incompatibility with Vehicle Security Control Module >> Procedure
April 5, 2026: LEMON Manuals is launched! Read the announcement.

DTC U0327: Software Incompatibility with Vehicle Security Control Module: Procedure

  1. CHECK DTC 
    1. Check for DTCs.

      HINT: 

      If the CAN MS bus communication error DTC U1002 is output, troubleshoot for U1002 and check for malfunctions in the CAN MS main bus circuit. Refer to DTC U1002 (CAN MS BUS): Lost Communication with Gateway Module (Main body ECU) .

      Result

      Result Proceed to
      U1002 is not output A
      U1002 is output B

    B → See step   4 

    A: Go to next step 

  2. CHECK CAN MS BUS WIRE (CERTIFICATION ECU) 
    1. Turn the ignition switch off.
    2. Disconnect the certification ECU connector from the certification ECU.
      Fig 1: Checking CAN MS BUS Wire (Certification ECU)
      GTY318088Courtesy of © TOYOTA, LICENSE AGREEMENT TMS1002
    3. Measure the resistance according to the value(s) in the table below.

      Standard Resistance

      Tester Connection Switch Condition Specified Condition
      E36-27 (CANH) - E36-28 (CANL) Ignition switch off 54 to 69 Ω
      TEXT IN ILLUSTRATION

      *a Front view of wire harness connector
      (to Certification ECU)

    NG → REPAIR OR REPLACE CAN MS BUS BRANCH WIRE OR CONNECTOR (CERTIFICATION ECU) 

    OK: Go to next step 

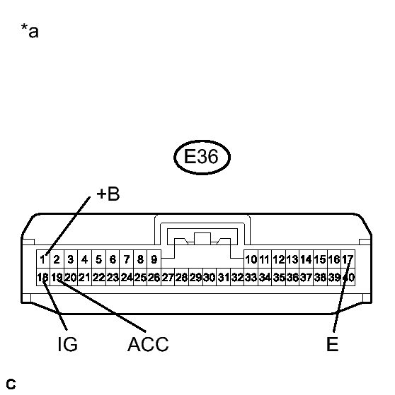
  3. CHECK HARNESS AND CONNECTOR (POWER SOURCE CIRCUIT) 
    1. Measure the resistance according to the value(s) in the table below.
      Fig 2: Checking Harness And Connector (Power Source Circuit)
      GTY318080Courtesy of © TOYOTA, LICENSE AGREEMENT TMS1002

      Standard Resistance

      Tester Connection Condition Specified Condition
      E36-17 (E) - Body ground Always Below 1 Ω
    2. Measure the voltage according to the value(s) in the table below.

      Standard Voltage

      Tester Connection Condition Specified Condition
      E36-18 (IG) - Body ground Ignition switch ON 10 to 14 V
      E36-1 (+B) - Body ground Always 10 to 14 V
      E36-19 (ACC) - Body ground Ignition switch ACC 10 to 14 V
      TEXT IN ILLUSTRATION

      *a Front view of wire harness connector
      (to Certification ECU)

    NG → REPAIR OR REPLACE HARNESS OR CONNECTOR 

    OK → REPLACE CERTIFICATION ECU 

  4. GO TO DTC CHART. Refer to  DIAGNOSTIC TROUBLE CODE CHART