LEMON Manuals: Even more car manuals for everyone: 1960-2025
Home >> Toyota >> 2013 >> FJ Cruiser 4WD, Part Time T/Case Control >> Repair and Diagnosis (Single Page) >> Brakes >> Traction Control >> Vehicle Stability Control System (Diagnostic Codes & Symptom Tests) >> Vehicle Stability Control System >> DTC C1403: Rear Speed Sensor RH Malfunction; DTC C1273: Low Output Signal of Rear Speed Sensor RH (Test Mode DTC); DTC C1274: Low Output Signal of Rear Speed Sensor LH (Test Mode DTC); DTC C1404: Rear Speed Sensor LH Malfunction >> Procedure
April 5, 2026: LEMON Manuals is launched! Read the announcement.

DTC C1403: Rear Speed Sensor RH Malfunction; DTC C1273: Low Output Signal of Rear Speed Sensor RH (Test Mode DTC); DTC C1274: Low Output Signal of Rear Speed Sensor LH (Test Mode DTC); DTC C1404: Rear Speed Sensor LH Malfunction: Procedure

  1. CHECK REAR SPEED SENSOR INSTALLATION 
    1. Turn the ignition switch off.
    2. Check the speed sensor installation.
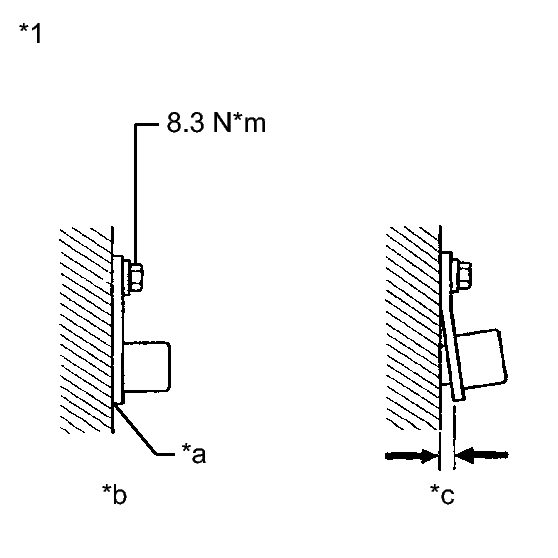
      Fig 1: Checking Sensor Installation
      GTY308773Courtesy of © TOYOTA, LICENSE AGREEMENT TMS1002

      OK

      There is no clearance between the sensor and the rear axle.

      The installation nut is tightened properly.

      Torque

      8.3 N*m (85 kgf*cm, 73 in.*lbf)

      TEXT IN ILLUSTRATION

      *1 Rear Speed Sensor
      *a No clearance
      *b OK
      *c NG

    NG → INSTALL REAR SPEED SENSOR CORRECTLY 

    OK: Go to next step 

  2. INSPECT REAR SPEED SENSOR TIP 
    1. Remove the rear speed sensor. Refer to REMOVAL .
    2. Check the speed sensor tip.

      OK

      No scratches, oil, or foreign matter on the sensor tip.

      NOTE:

      If no damage to the speed sensor tip is found during this inspection, do not replace the speed sensor.

    NG → CLEAN OR REPLACE REAR SPEED SENSOR 

    OK: Go to next step 

  3. INSPECT REAR SPEED SENSOR ROTOR 
    1. Remove the rear axle hub and bearing assembly. Refer to REMOVAL .
    2. Check the speed sensor rotor.

      OK

      No scratches, oil, or foreign matter on the rotors.

      HINT: 

      The rear speed sensor rotor is incorporated into the rear axle hub and bearing assembly.

      If the rear speed sensor rotor needs to be replaced, replace it together with the rear axle hub and bearing assembly.

    NG → CLEAN OR REPLACE REAR SPEED SENSOR ROTOR 

    OK: Go to next step 

  4. READ VALUE USING TECHSTREAM (REAR SPEED SENSOR) 
    1. Turn the ignition switch off.
    2. Connect the Techstream to the DLC3.
    3. Start the engine.
    4. Turn the Techstream on.
    5. Enter the following menus: Chassis / ABS/VSC/TRAC / Data List.
      ABS/VSC/TRAC

      Tester Display Measurement Item/Range Normal Condition Diagnostic Note
      RR Wheel Speed Rear speed sensor RH reading/ Min.: 0 km/h (0 mph), Max.: 326 km/h (202 mph) Actual wheel speed No large fluctuations when driving at a constant speed.
      RL Wheel Speed Rear speed sensor LH reading/ Min.: 0 km/h (0 mph), Max.: 326 km/h (202 mph) Actual wheel speed No large fluctuations when driving at a constant speed.
    6. Check that there is no difference between the speed value output from the speed sensor displayed on the Techstream and the speed value displayed on the speedometer when driving the vehicle.

      HINT: 

      Factors that affect the indicated vehicle speed include tire size, tire inflation and tire wear. The speed indicated on the speedometer has an allowable margin of error. This can be tested using a speedometer tester (calibrated chassis dynamometer). For details about testing and the margin of error, see the reference chart. Refer to ON-VEHICLE INSPECTION .

      OK

      The speed value output from the speed sensor displayed on the Techstream is the same as the actual vehicle speed measured using a speedometer tester (calibrated chassis dynamometer).

    NG → See step   5 

    OK → See step   8 

  5. REPLACE REAR SPEED SENSOR 
    1. Replace the rear speed sensor. Refer to REMOVAL .

    NEXT: Go to next step 

  6. RECONFIRM DTC 
    1. Clear the DTCs. Refer to DTC CHECK / CLEAR .
    2. Turn the ignition switch off.
    3. Start the engine.
    4. Drive the vehicle at a speed of 40 km/h (25 mph) or more or at least 60 seconds.
    5. Check if the same DTC is output. Refer to DTC CHECK / CLEAR .
      RESULT

      Result Proceed to
      DTCs C1403 and C1404 are not output A
      DTCs C1403 and/or C1404 are output B

    B → See step   7 

    A → END 

  7. REPLACE REAR AXLE HUB AND BEARING ASSEMBLY. Refer to  REMOVAL 
  8. USE SIMULATION METHOD TO CHECK. Refer to  HOW TO PROCEED WITH TROUBLESHOOTING