LEMON Manuals: Even more car manuals for everyone: 1960-2025
Home >> Toyota >> 2013 >> FJ Cruiser 4WD, Part Time T/Case Control >> Repair and Diagnosis (Single Page) >> Engine Performance >> System >> Engine Control System (Diagnostic Codes (P0327 - P0630)) >> SFI System >> DTC P0420: Catalyst System Efficiency Below Threshold (Bank 1); DTC P0430: Catalyst System Efficiency Below Threshold (Bank 2) >> Catalyst Location
April 5, 2026: LEMON Manuals is launched! Read the announcement.

Catalyst Location

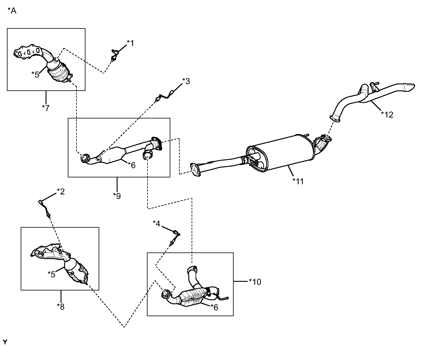
Fig 1: Exhaust System With Air Fuel Ratio/Oxygen Sensor Locations (w/ Secondary Air Injection System)
GTY377415Courtesy of © TOYOTA, LICENSE AGREEMENT TMS1002
TEXT IN ILLUSTRATION

*A w/ Secondary Air Injection System - -
*1 Air Fuel Ratio Sensor (for Bank 1 Sensor 1) *2 Air Fuel Ratio Sensor (for Bank 2 Sensor 1)
*3 Heated Oxygen Sensor (for Bank 1 Sensor 2) *4 Heated Oxygen Sensor (for Bank 2 Sensor 2)
*5 TWC: Front Catalyst *6 TWC: Rear Catalyst
*7 Exhaust Manifold Sub-Assembly RH *8 Exhaust Manifold Sub-Assembly LH
*9 Front Exhaust Pipe Assembly *10 Front No. 2 Exhaust Pipe Assembly
*11 Center Exhaust Pipe Assembly *12 Tail Exhaust Pipe Assembly
NOTE:
  • When outputting DTC P0420 replace the exhaust manifold sub-assembly RH (*7) and the front exhaust pipe assembly (*9) together when catalyst replacement is necessary (Excluding air fuel ratio sensor *1 and heated oxygen sensor *3).
  • When outputting DTC P0430 replace the exhaust manifold sub-assembly LH (*8) and the front No. 2 exhaust pipe assembly (*10) together when catalyst replacement is necessary (Excluding air fuel ratio sensor *2 and heated oxygen sensor *4).
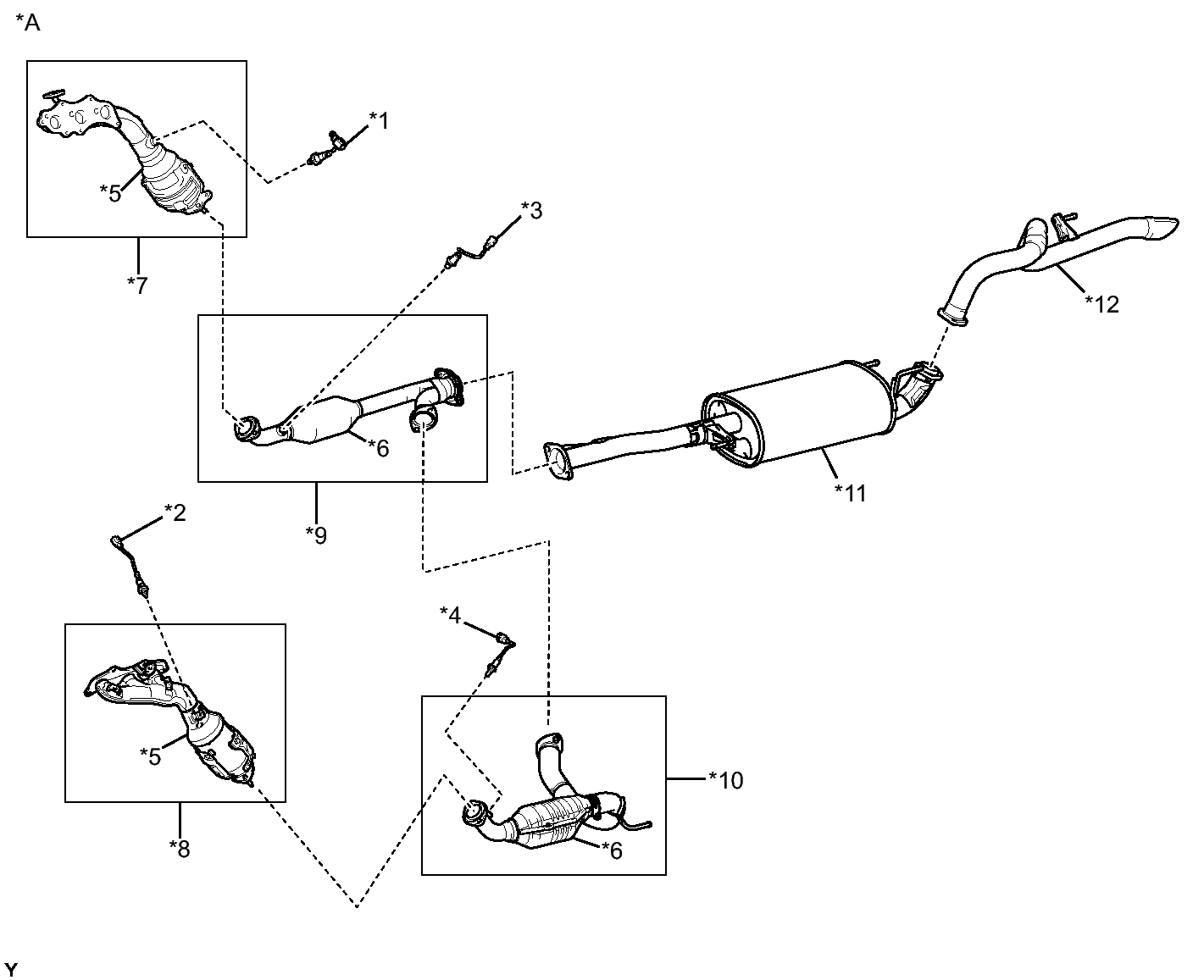
Fig 2: Exhaust System With Air Fuel Ratio/Oxygen Sensor Locations (w/o Secondary Air Injection System)
GTY377771Courtesy of © TOYOTA, LICENSE AGREEMENT TMS1002
TEXT IN ILLUSTRATION

*A w/o Secondary Air Injection System - -
*1 Air Fuel Ratio Sensor (for Bank 1 Sensor 1) *2 Air Fuel Ratio Sensor (for Bank 2 Sensor 1)
*3 Heated Oxygen Sensor (for Bank 1 Sensor 2) *4 Heated Oxygen Sensor (for Bank 2 Sensor 2)
*5 TWC: Front Catalyst *6 TWC: Rear Catalyst
*7 Exhaust Manifold Sub-Assembly RH *8 Exhaust Manifold Sub-Assembly LH
*9 Front Exhaust Pipe Assembly *10 Front No. 2 Exhaust Pipe Assembly
*11 Center Exhaust Pipe Assembly *12 Tail Exhaust Pipe Assembly
NOTE:
  • When outputting DTC P0420 replace the exhaust manifold sub-assembly RH (*7) and the front exhaust pipe assembly (*9) together when catalyst replacement is necessary (Excluding air fuel ratio sensor *1 and heated oxygen sensor *3).
  • When outputting DTC P0430 replace the exhaust manifold sub-assembly LH (*8) and the front No. 2 exhaust pipe assembly (*10) together when catalyst replacement is necessary (Excluding air fuel ratio sensor *2 and heated oxygen sensor *4).