LEMON Manuals: Even more car manuals for everyone: 1960-2025
Home >> Toyota >> 2013 >> Matrix Base, Automatic Trans >> Repair and Diagnosis >> Body & Frame >> Door Locks >> Engine Immobiliser System (Diagnostics - Introduction) >> Engine Immobiliser System >> System Diagram >> System Diagram
April 5, 2026: LEMON Manuals is launched! Read the announcement.

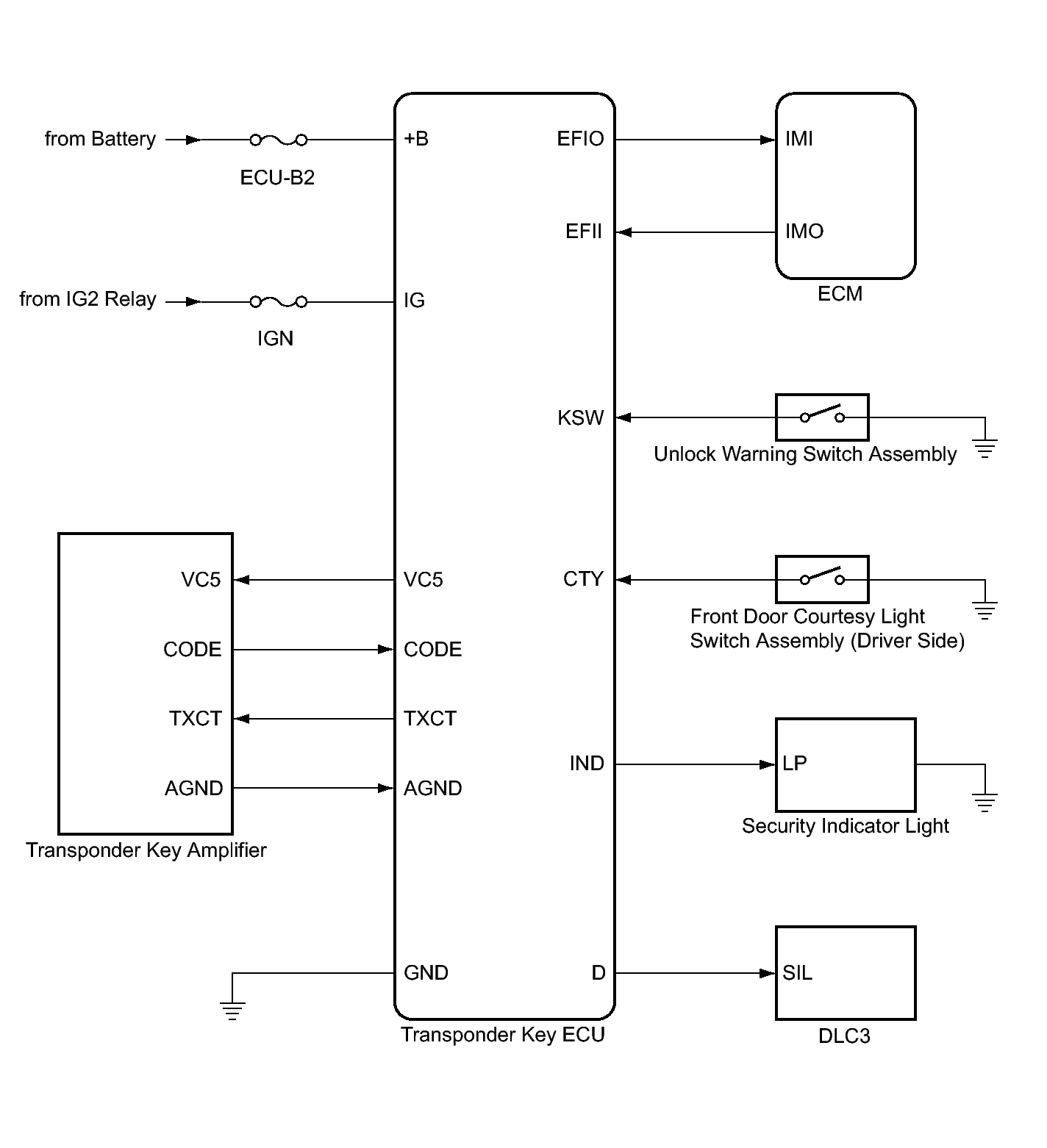
System Diagram

Fig 1: Engine Immobilizer System Circuit Diagram
GTY291678Courtesy of © TOYOTA, LICENSE AGREEMENT TMS1002