LEMON Manuals: Even more car manuals for everyone: 1960-2025
Home >> Toyota >> 2013 >> Matrix Base, Automatic Trans >> Repair and Diagnosis >> External Pages >> Different variant/trim >> Section 19 (Engine Control System (2AZ-FE) (Diagnostic Codes (P0500-P2610) & Circuit Tests)) >> SFI System >> DTC P2102: Throttle Actuator Control Motor Circuit Low; DTC P2103: Throttle Actuator Control Motor Circuit High >> Wiring Diagram
April 5, 2026: LEMON Manuals is launched! Read the announcement.

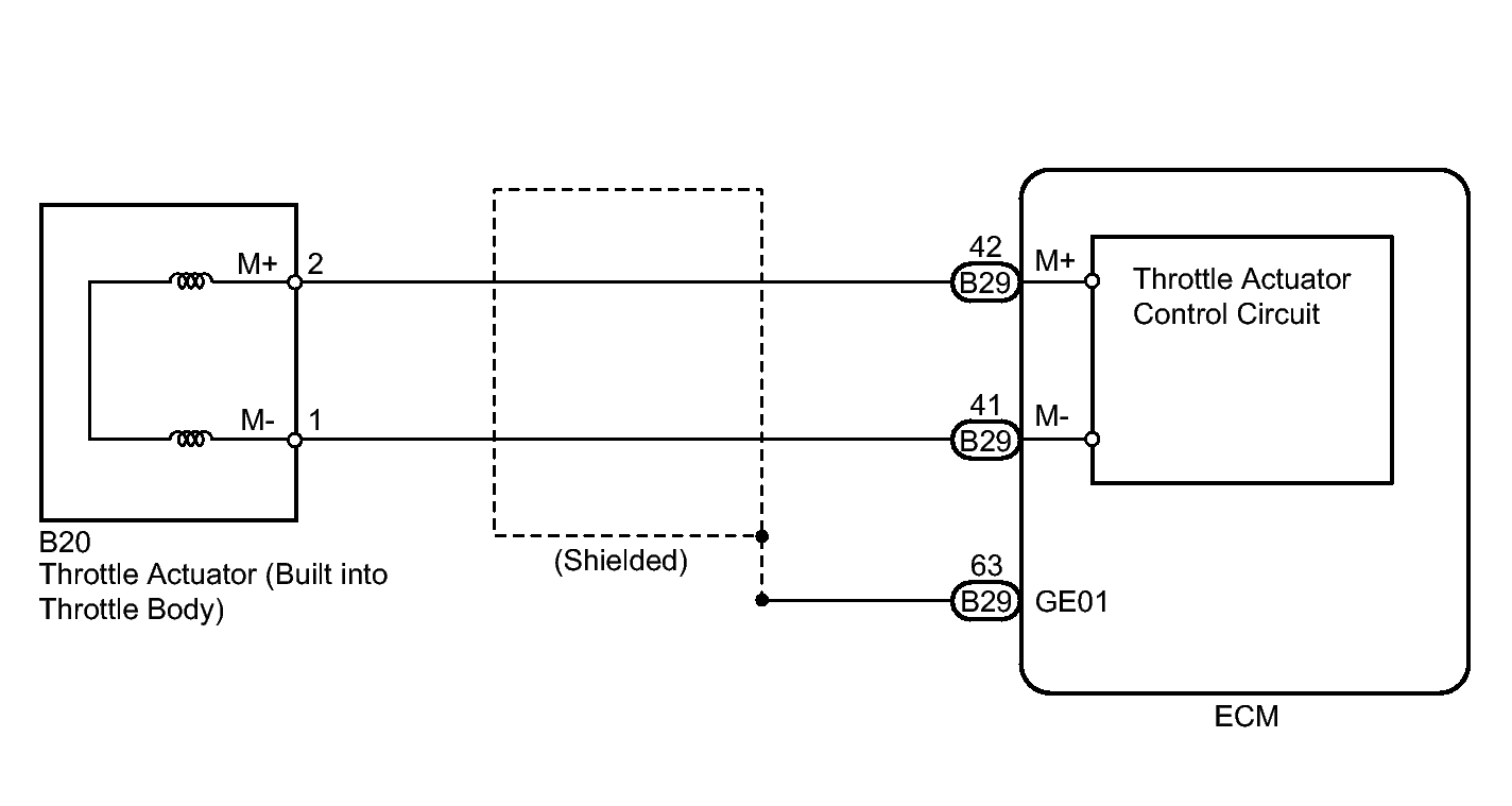
DTC P2102: Throttle Actuator Control Motor Circuit Low; DTC P2103: Throttle Actuator Control Motor Circuit High: Wiring Diagram

WARNING: This page is about a different variant/trim than selected.
Fig 1: Identifying Throttle Actuator Control Motor Circuit Diagram
GTY291233Courtesy of © TOYOTA, LICENSE AGREEMENT TMS1002