LEMON Manuals: Even more car manuals for everyone: 1960-2025
Home >> Toyota >> 2013 >> Matrix Base, Standard Trans >> Repair and Diagnosis (Single Page) >> External Pages >> Different variant/trim >> Section 10 (Manual Transmission (E351) (Service Information)) >> Shift And Select Lever Shaft >> Reassembly >> Reassembly
April 5, 2026: LEMON Manuals is launched! Read the announcement.

Shift And Select Lever Shaft: Reassembly: Reassembly

WARNING: This page is about a different variant/trim than selected.
  1. INSTALL CONTROL SHAFT COVER OIL SEAL 
    1. Using SST and a hammer, install a new control shaft cover oil seal to the control shaft cover.
      Fig 1: Installing Control Shaft Cover Oil Seal
      GTY171668Courtesy of © TOYOTA, LICENSE AGREEMENT TMS1002
      • SST: 09950-60010 
        • 09951-00280
      • SST: 09950-70010 
        • 09951-07100

      Oil seal installation depth

      28.0 to 29.0 mm (1.10 to 1.14 in.)

  2. INSTALL SELECT SPRING NO. 1 SEAT SHAFT SNAP RING 
    1. Using a brass bar and a hammer, install the select spring No. 1 seat shaft snap ring.
      Fig 2: Using Brass Bar And Hammer To Install Select Spring No. 1 Seat Shaft Snap Ring
      GTY165696Courtesy of © TOYOTA, LICENSE AGREEMENT TMS1002
  3. INSTALL NO. 1 SHIFT LEVER INNER 
    1. Install the No. 1 shift lever inner to the shift interlock plate.
      Fig 3: Identifying No. 1 Shift Lever Inner
      GTY159059Courtesy of © TOYOTA, LICENSE AGREEMENT TMS1002
  4. INSTALL SHIFT INTERLOCK PLATE COVER 
    1. Install the shift interlock plate cover to the shift interlock plate.
      Fig 4: Identifying Shift Interlock Plate Cover
      GTY163962Courtesy of © TOYOTA, LICENSE AGREEMENT TMS1002
  5. INSTALL NO. 1 SELECT SPRING SEAT 
    1. Install the No. 1 select spring seat, No. 1 select return compression spring, and shift interlock plate to the shift and select lever shaft.
      Fig 5: View Of No. 1 Select Spring Seat
      GTY163114Courtesy of © TOYOTA, LICENSE AGREEMENT TMS1002
  6. INSTALL NO. 2 SHIFT LEVER INNER 
    1. Install the No. 2 shift lever inner, No. 2 select return compression spring and No. 2 select return spring seat to the shift and select lever shaft.
      Fig 6: View Of No. 2 Select Spring Seat, No. 2 Select Return Compression Spring
      GTY158693Courtesy of © TOYOTA, LICENSE AGREEMENT TMS1002
    2. Hold the shift and select lever in a vise using aluminum plates.
    3. Using a brass bar and a hammer, install the select seat snap ring to the shift and select lever shaft.
    4. Using a pin punch (5 mm) and a hammer, install the 2 shift inner lever slotted pins to the shift and select lever shaft.
      Fig 7: Installing Shift Inner Lever Slotted Pins To Shift And Select Lever Shaft
      GTY158691Courtesy of © TOYOTA, LICENSE AGREEMENT TMS1002

      Clearance A

      0.7 to 1.7 mm (0.0276 to 0.0669 in.)

      Clearance B

      -0.4 to 0.5 mm (-0.0157 to 0.0197 in.)

  7. INSTALL NO. 2 SELECTING BELLCRANK BUSHING 
    1. Coat the 2 No. 2 selecting bellcrank bushings with MP grease and install them to the No. 2 selecting bellcrank.
      Fig 8: Locating Selecting Bellcrank No. 2 Bush
      GTY159277Courtesy of © TOYOTA, LICENSE AGREEMENT TMS1002
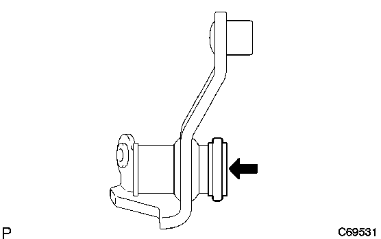
  8. INSTALL NO. 2 SELECTING BELLCRANK DUST COVER 
    1. Coat the No. 2 selecting bellcrank dust cover with MP grease and install it to the No. 2 selecting bellcrank.
      Fig 9: Locating No. 2 Selecting Bellcrank Dust Cover
      GTY159332Courtesy of © TOYOTA, LICENSE AGREEMENT TMS1002
  9. INSTALL SELECTING BELLCRANK SUPPORT SUB-ASSEMBLY 
    1. Install the selecting bellcrank support sub-assembly to the No. 2 selecting bellcrank.
      Fig 10: Identifying Selecting Bellcrank Support Sub-Assembly
      GTY159280Courtesy of © TOYOTA, LICENSE AGREEMENT TMS1002
    2. Install the No. 2 selecting bellcrank plate washer, wave washer, and nut.
      Fig 11: Identifying No. 2 Selecting Bellcrank Plate Washer, Wave Washer & Nut
      GTY159334Courtesy of © TOYOTA, LICENSE AGREEMENT TMS1002

      Torque: 12 N*m (122 kgf*cm, 9 ft.*lbf) 

  10. INSTALL NO. 1 SELECTING BELLCRANK DUST COVER 
    1. Install the No. 1 selecting bellcrank dust cover to the No. 2 selecting bellcrank.
      Fig 12: Locating Selecting Bellcrank Dust Cover No. 1
      GTY159330Courtesy of © TOYOTA, LICENSE AGREEMENT TMS1002
  11. INSTALL CONTROL SHIFT LEVER BUSHING 
    1. Install the control shift lever bushing to the No. 2 selecting bellcrank.
      Fig 13: Locating Control Shift Lever Bushing
      GTY159329Courtesy of © TOYOTA, LICENSE AGREEMENT TMS1002