LEMON Manuals: Even more car manuals for everyone: 1960-2025
Home >> Toyota >> 2013 >> Matrix Base, Standard Trans >> Repair and Diagnosis >> External Pages >> Different variant/trim >> Section 10 (Manual Transmission (E351) (Service Information)) >> Manual Transaxle Unit >> Reassembly >> Reassembly
April 5, 2026: LEMON Manuals is launched! Read the announcement.

Manual Transaxle Unit: Reassembly: Reassembly

WARNING: This page is about a different variant/trim than selected.
  1. INSTALL SYNCHRONIZER PULL RING 
    1. Install the No. 5 synchronizer ring middle, No. 5 synchronizer ring outer, and synchronizer pull ring to the No. 5 synchronizer ring inner. Using a screwdriver, secure them with the snap ring.
      Fig 1: Installing Synchronizer Pull Ring Using Screwdriver
      GTY200614Courtesy of © TOYOTA, LICENSE AGREEMENT TMS1002
  2. INSTALL NO. 3 SYNCHROMESH SHIFTING KEY SPRING 
    1. Install the No. 3 synchromesh shifting key spring to the No. 3 transmission clutch hub.
      Fig 2: Identifying No. 3 Synchromesh Shifting Key Spring & No. 3 Transmission Clutch Hub
      GTY200615Courtesy of © TOYOTA, LICENSE AGREEMENT TMS1002
      NOTE:

      Align the projection of the shifting key spring with the hole of the No. 3 clutch hub.

    2. Install the synchronizer ring set and No. 3 synchromesh shifting key spring to the No. 3 transmission clutch hub.
      NOTE:
      • Engage the shifting key spring claw to the center of the teeth of the synchronizer ring.
      • Align the projection of the shifting key spring with the hole of the No. 3 clutch hub.
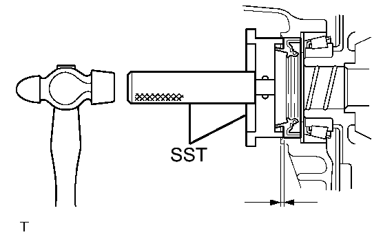
  3. INSTALL TRANSAXLE CASE OIL SEAL 
    1. Coat a new transaxle case oil seal lip with MP grease.
      Fig 3: Taping In Oil Seal
      GTY162411Courtesy of © TOYOTA, LICENSE AGREEMENT TMS1002
    2. Using SST and a hammer, install a transaxle case oil seal.
      • SST: 09608-10010 
      • SST: 09950-70010 
        • 09951-07200

      Oil seal installation depth

      -0.5 to 0.5 mm (-0.0197 to 0.0197 in.)

  4. INSTALL FRONT DIFFERENTIAL CASE FRONT TAPERED ROLLER BEARING 
    1. Using SST and a hammer, install the front differential case front tapered roller bearing (outer race) to the manual transaxle case.
      Fig 4: Installing FR Differential Case Front Tapered Roller Bearing (Outer Race) To Front Transaxle Case
      GTY200731Courtesy of © TOYOTA, LICENSE AGREEMENT TMS1002
      • SST: 09950-60020 
        • 09951-00910
      • SST: 09950-70010 
        • 09951-07100
        • 09951-07150
    2. Using SST and a press, install the front differential case front tapered roller bearing (inner race) to the front differential case.
      Fig 5: Installing FR Differential Case Front Tapered Roller Bearing To Front Differential Case
      GTY200650Courtesy of © TOYOTA, LICENSE AGREEMENT TMS1002
      • SST: 09608-10010 
      • SST: 09950-70010 
        • 09951-07100
        • 09951-07150
  5. INSTALL FRONT DIFFERENTIAL CASE REAR TAPERED ROLLER BEARING 
    1. Install the front differential case rear shim.
      Fig 6: Installing FR Differential Case Rear Tapered Roller Bearing (Outer Race)
      GTY200732Courtesy of © TOYOTA, LICENSE AGREEMENT TMS1002
    2. Using SST and a hammer, install the front differential case rear tapered roller bearing (outer race).
      • SST: 09950-60020 
        • 09951-00890
      • SST: 09950-70010 
        • 09951-07100
    3. Using SST and a press, install the front differential case rear tapered roller bearing (inner race).
      Fig 7: Installing FR Differential Case Rear Tapered Roller Bearing (Inner Race)
      GTY200752Courtesy of © TOYOTA, LICENSE AGREEMENT TMS1002
      • SST: 09631-12090 
      • SST: 09950-60010 
        • 09951-00600
      • SST: 09950-70010 
        • 09951-07100
  6. INSTALL TRANSMISSION CASE OIL SEAL 
    1. Using SST and a hammer, install a transmission case oil seal to the manual transmission case.
      Fig 8: Installing Oil Seal
      GTY182521Courtesy of © TOYOTA, LICENSE AGREEMENT TMS1002
      • SST: 09608-32010 
      • SST: 09950-70010 
        • 09951-07150

      Oil seal installation depth

      3.0 to 4.0 mm (0.1181 to 0.1575 in.)

    2. Coat the transmission case oil seal lip with MP grease.
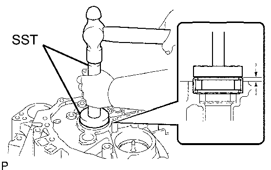
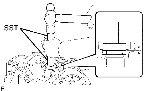
  7. INSTALL OUTPUT SHAFT REAR BEARING 
    1. Using SST and a hammer, install the output shaft rear bearing (outer race) to the manual transmission case.
      Fig 9: Using SST And Hammer To Install Output Shaft Rear Bearing (Outer Race) To Manual Transmission Case
      GTY200733Courtesy of © TOYOTA, LICENSE AGREEMENT TMS1002
      • SST: 09950-60020 
        • 09951-00680
      • SST: 09950-70010 
        • 09951-07100

      Clearance

      3.8 to 4.4 mm (0.150 to 0.173 in.)

  8. INSTALL OUTPUT SHAFT COVER 
    1. Coat the output shaft cover with MP grease, and install it to the manual transaxle case.
      Fig 10: Coating Output Shaft (MTM) Cover With MP Grease And Installing It To Manual Transaxle Case
      GTY200635Courtesy of © TOYOTA, LICENSE AGREEMENT TMS1002
      NOTE:

      Align the projection of the output shaft cover with the transmission groove.

  9. INSTALL OUTPUT SHAFT FRONT BEARING 
    1. Using SST and a hammer, install a new output shaft front bearing (outer race).
      Fig 11: Installing Output Shaft Front Bearing (Outer Race)
      GTY159146Courtesy of © TOYOTA, LICENSE AGREEMENT TMS1002
      • SST: 09950-60020 
        • 09951-00730
      • SST: 09950-70010 
        • 09951-07100
  10. ADJUST OUTPUT SHAFT BEARING PRELOAD 
    1. Install the output shaft to the manual transaxle case.
      Fig 12: Installing Output Shaft To Manual Transaxle Case
      GTY200686Courtesy of © TOYOTA, LICENSE AGREEMENT TMS1002
    2. Install the transmission case to the manual transaxle case with the 14 bolts.
      Fig 13: Locating Manual Transmission Case Bolts
      GTY200676Courtesy of © TOYOTA, LICENSE AGREEMENT TMS1002

      Torque: 29 N*m (296 kgf*cm, 21 ft.*lbf) 

    3. Install the 3 bolts to the manual transaxle case.
      Fig 14: Locating Manual Transaxle Case Bolts
      GTY182737Courtesy of © TOYOTA, LICENSE AGREEMENT TMS1002

      Torque: 29 N*m (296 kgf*cm, 21 ft.*lbf) 

    4. Install the output shaft rear bearing case shim to the output shaft.
      Fig 15: Identifying Output Shaft Rear Bearing Case Shim
      GTY200687Courtesy of © TOYOTA, LICENSE AGREEMENT TMS1002
    5. Using a "TORX" socket wrench (T45), install the rear bearing retainer to the manual transmission case with the 7 screws.
      Fig 16: Installing Bearing Retainer Rear With Screws To Manual Transmission Case
      GTY200688Courtesy of © TOYOTA, LICENSE AGREEMENT TMS1002

      Torque: 43 N*m (438 kgf*cm, 32 ft.*lbf) 

    6. Turn the output shaft in both directions to make sure that it starts to turn smoothly.
      Fig 17: Using Socket Wrench And Torque Wrench To Inspect Preload
      GTY200643Courtesy of © TOYOTA, LICENSE AGREEMENT TMS1002
    7. Using a socket wrench and torque wrench, inspect the preload.

      Preload

      Bearing Preload:
      N*m (kgf*cm, in.*lbf)
      New 0.8 to 1.6 (8.16 to 16.32, 7.1 to 14.2)
      Used 0.5 to 1.0 (5.10 to 10.20, 4.4 to 8.9)
    8. If preload is not as specified, select a proper output shaft rear bearing shim and adjust it.

      HINT: 

      The preload of all the output shaft rear bearing shims varies in torque from about 0.04 to 0.06 N*m (0.408 to 0.612 kgf*cm, 0.35 to 0.53 in.*lbf).

      Shim

      Part No. Thickness: mm (in.) Mark
      90564-59001 1.30 (0.0512) 0
      90564-59002 1.35 (0.0531) 1
      90564-59003 1.40 (0.0551) 2
      90564-59004 1.45 (0.0571) 3
      90564-59005 1.50 (0.0591) 4
      90564-59006 1.55 (0.0610) 5
      90564-59007 1.60 (0.0630) 6
      90564-59008 1.65 (0.0650) 7
      90564-59009 1.70 (0.0669) 8
      90564-59010 1.75 (0.0689) 9
      90564-59011 1.80 (0.0709) A
      90564-59012 1.85 (0.0728) B
      90564-59013 1.90 (0.0748) C
      90564-59014 1.95 (0.0768) D
      90564-59015 2.00 (0.0787) E
      90564-59016 2.05 (0.0807) F
      90564-59017 2.10 (0.0827) G
      90564-59018 2.15 (0.0846) H
      90564-59019 2.20 (0.0866) J
      90564-59020 2.25 (0.0886) K
      90564-59021 2.30 (0.0906) L
      90564-59022 2.35 (0.0925) M
      90564-59023 2.40 (0.0945) N
      90564-59024 2.45 (0.0965) P
      90564-59025 2.50 (0.0984) Q
    9. Remove the output shaft rear set nut from the output shaft.
    10. Using a "TORX" socket wrench (T45), remove the 7 screws and rear bearing retainer from the manual transmission case.
      Fig 18: Removing Screws And Bearing Retainer Rear From Manual Transmission Case
      GTY200689Courtesy of © TOYOTA, LICENSE AGREEMENT TMS1002
    11. Remove the output shaft rear bearing shim from the output shaft.
      Fig 19: Identifying Output Shaft Rear Bearing Case Shim
      GTY200687Courtesy of © TOYOTA, LICENSE AGREEMENT TMS1002
    12. Remove the 3 bolts.
      Fig 20: Locating Manual Transaxle Case Bolts
      GTY182737Courtesy of © TOYOTA, LICENSE AGREEMENT TMS1002
    13. Remove the 14 bolts and manual transmission case from the manual transaxle case.
      Fig 21: Locating Manual Transmission Case Bolts
      GTY200676Courtesy of © TOYOTA, LICENSE AGREEMENT TMS1002
    14. Remove the output shaft assembly from the front manual transaxle case.
      Fig 22: Identifying Output Shaft
      GTY200686Courtesy of © TOYOTA, LICENSE AGREEMENT TMS1002
  11. ADJUST TAPERED ROLLER BEARING PRELOAD 
    1. Install the differential case assembly to the manual transaxle case.
      Fig 23: Identifying Differential Case Assembly
      GTY173704Courtesy of © TOYOTA, LICENSE AGREEMENT TMS1002
    2. Install the 14 bolts and manual transmission case to the manual transaxle case.
      Fig 24: Locating Manual Transmission Case Bolts
      GTY200676Courtesy of © TOYOTA, LICENSE AGREEMENT TMS1002

      Torque: 29 N*m (296 kgf*cm, 21 ft.*lbf) 

    3. Install the 3 bolts to the manual transaxle case.
      Fig 25: Locating Manual Transaxle Case Bolts
      GTY182737Courtesy of © TOYOTA, LICENSE AGREEMENT TMS1002

      Torque: 29 N*m (296 kgf*cm, 21 ft.*lbf) 

    4. Using SST, turn the differential case in both directions to make sure that it starts to turn smoothly.
      • SST: 09564-32011 
    5. Using SST and a torque wrench, inspect preload.
      Fig 26: Using SST And Torque Wrench To Inspect Preload
      GTY200734Courtesy of © TOYOTA, LICENSE AGREEMENT TMS1002
      • SST: 09564-32011 

      Preload

      Bearing Preload:
      N*m (kgf*cm, in.*lbf)
      New 0.8 to 1.6 (8.16 to 16.32, 7.1 to 14.2)
      Used 0.5 to 1.0 (5.10 to 10.20, 4.4 to 8.9)

      If preload is not as specified, select a proper front differential case rear shim and adjust it.

      HINT: 

      The preload of all the front differential case rear shims varies in torque from about 0.04 to 0.06 N*m (0.408 to 0.612 kgf*cm, 0.35 to 0.53 in.*lbf).

      Shim

      Part No. Thickness: mm (in.) Mark
      90564-56055 2.00 (0.0787) 0
      90564-56056 2.05 (0.0807) 1
      90564-56057 2.10 (0.0827) 2
      90564-56058 2.15 (0.0846) 3
      90564-56059 2.20 (0.0866) 4
      90564-56060 2.25 (0.0886) 5
      90564-56061 2.30 (0.0906) 6
      90564-56062 2.35 (0.0925) 7
      90564-56063 2.40 (0.0945) 8
      90564-56064 2.45 (0.0965) 9
      90564-56065 2.50 (0.0984) A
      90564-56066 2.55 (0.1004) B
      90564-56067 2.60 (0.1024) C
      90564-56068 2.65 (0.1043) D
      90564-56069 2.70 (0.1063) E
      90564-56070 2.75 (0.1083) F
      90564-56071 2.80 (0.1102) G
      90564-56072 2.85 (0.1122) H
    6. Remove the 3 bolts.
      Fig 27: Locating Manual Transaxle Case Bolts
      GTY182737Courtesy of © TOYOTA, LICENSE AGREEMENT TMS1002
    7. Remove the 14 bolts and manual transmission case from the manual transaxle case.
      Fig 28: Locating Manual Transmission Case Bolts
      GTY200676Courtesy of © TOYOTA, LICENSE AGREEMENT TMS1002
    8. Remove the differential case assembly from the manual transaxle case.
      Fig 29: Identifying Differential Case Assembly
      GTY173704Courtesy of © TOYOTA, LICENSE AGREEMENT TMS1002
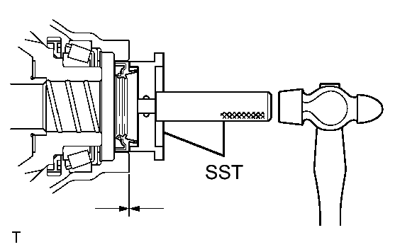
  12. INSTALL FRONT TRANSAXLE CASE COVER OIL SEAL 
    1. Coat the lip of a new front transaxle case cover oil seal with MP grease.
    2. Using SST and a hammer, install a new front transaxle case cover oil seal to the manual transaxle case.
      Fig 30: Installing Front Transaxle Case Oil Seal No. 1 To Manual Transaxle Case
      GTY200735Courtesy of © TOYOTA, LICENSE AGREEMENT TMS1002
      • SST: 09950-60010 
        • 09951-00420
      • SST: 09950-70010 
        • 09951-07150

      Clearance

      1.0 to 2.0 mm (0.0394 to 0.0787 in.)

  13. INSTALL INPUT SHAFT FRONT BEARING 
    1. Coat a new input shaft front bearing with gear oil.
    2. Using SST and a hammer, install the oil seal to the manual transaxle case.
      Fig 31: Installing Oil Seal To Manual Transaxle Case
      GTY200736Courtesy of © TOYOTA, LICENSE AGREEMENT TMS1002
      • SST: 09950-60010 
        • 09951-00570
      • SST: 09950-70010 
        • 09951-07150

      Clearance

      4.28 to 4.60 mm (0.169 to 0.181 in.)

  14. INSTALL MANUAL TRANSAXLE CASE RECEIVER 
    1. Install the manual transaxle case receiver to the manual transaxle case with the 3 bolts.
      Fig 32: Locating Manual Transaxle Case Receiver Bolts
      GTY200685Courtesy of © TOYOTA, LICENSE AGREEMENT TMS1002

      Torque: 7.0 N*m (71 kgf*cm, 62 in.*lbf) 

  15. INSTALL DIFFERENTIAL CASE ASSEMBLY 
    1. Coat the differential case tapered roller bearing with gear oil, and install the differential case assembly to the manual transaxle case.
      Fig 33: Identifying Differential Case Assembly
      GTY173704Courtesy of © TOYOTA, LICENSE AGREEMENT TMS1002
  16. INSTALL OUTPUT SHAFT ASSEMBLY 
    1. Apply gear oil to each sliding part of the output shaft assembly.
      Fig 34: Lifting Differential Case Assembly Up With Output Shaft Assembly
      GTY167950Courtesy of © TOYOTA, LICENSE AGREEMENT TMS1002
    2. Lift the differential case assembly with the output shaft assembly leaned, and install it to the manual transaxle case.
  17. INSTALL INPUT SHAFT ASSEMBLY 
    1. Apply gear oil to each sliding part of the input shaft assembly.
      Fig 35: Identifying Input Shaft Assembly
      GTY173433Courtesy of © TOYOTA, LICENSE AGREEMENT TMS1002
    2. Install the input shaft assembly to the manual transaxle case while tilting the output shaft assembly.
  18. INSTALL NO. 2 GEAR SHIFT FORK 
    1. Coat the No. 2 gear shift fork with gear oil, and install it to the input shaft assembly.
      Fig 36: Identifying No. 2 Gear Shift Fork
      GTY166712Courtesy of © TOYOTA, LICENSE AGREEMENT TMS1002
  19. INSTALL NO. 3 GEAR SHIFT FORK 
    1. Install the No. 3 gear shift fork to the No. 3 gear shift fork shaft.
      Fig 37: Using Brass Bar And Hammer To Install Shift Fork Shaft Snap Rings To Gear Shift Fork Shaft
      GTY167937Courtesy of © TOYOTA, LICENSE AGREEMENT TMS1002
    2. Using a brass bar and a hammer, install the 2 shift fork shaft snap rings to the gear shift fork shaft.
    3. Apply gear oil to each sliding part of the No. 3 gear shift fork shaft, and install it to the manual transaxle case.
      Fig 38: Identifying No. 3 Gear Shift Fork Shaft
      GTY157858Courtesy of © TOYOTA, LICENSE AGREEMENT TMS1002
  20. INSTALL NO. 1 GEAR SHIFT FORK 
    1. Apply gear oil to each sliding part of the No. 1 gear shift fork, and install it to the output shaft assembly.
      Fig 39: Identifying No. 1 Gear Shift Fork
      GTY164994Courtesy of © TOYOTA, LICENSE AGREEMENT TMS1002
  21. INSTALL NO. 2 GEAR SHIFT FORK SHAFT 
    1. Install the No. 1 gear shift head to the No. 2 gear shift fork shaft.
      Fig 40: Identifying No. 2 Gear Shift Fork Shaft And No. 1 Gear Shift Head
      GTY204514Courtesy of © TOYOTA, LICENSE AGREEMENT TMS1002
    2. Apply gear oil to each sliding part of the No. 2 gear shift fork shaft, and install it to the manual transaxle case.
    3. Install the shift fork set bolt and shift head set bolt to the No. 1 gear shift head.
      Fig 41: Identifying Shift Fork Set Bolt & Shift Head Set Bolt
      GTY200682Courtesy of © TOYOTA, LICENSE AGREEMENT TMS1002

      Torque: 24 N*m (245 kgf*cm, 18 ft.*lbf) 

  22. INSTALL REVERSE SHIFT FORK ROLLER 
    1. Using a magnetic pick-up tool, install the reverse shift fork roller to the reverse shift fork.
      Fig 42: Remove/Install Reverse Shift Fork Roller
      GTY200680Courtesy of © TOYOTA, LICENSE AGREEMENT TMS1002
  23. INSTALL NO. 1 GEAR SHIFT FORK SHAFT 
    1. Using a brass bar and a hammer, install the shift fork shaft snap ring to the No. 1 gear shift fork shaft.
      Fig 43: Using Brass Bar And Hammer To Install Shift Fork Shaft Snap Ring To Shift Fork Shaft No. 1
      GTY200636Courtesy of © TOYOTA, LICENSE AGREEMENT TMS1002
    2. Install the No. 1 gear shift fork shaft to the manual transaxle case.
      Fig 44: Identifying No. 1 Gear Shift Fork Shaft
      GTY157859Courtesy of © TOYOTA, LICENSE AGREEMENT TMS1002
    3. Install the shift fork set bolt to the No. 1 gear shift fork.
      Fig 45: Locating Shift Fork Set Bolt
      GTY200679Courtesy of © TOYOTA, LICENSE AGREEMENT TMS1002

      Torque: 24 N*m (245 kgf*cm, 18 ft.*lbf) 

  24. INSTALL REVERSE SHIFT ARM BRACKET ASSEMBLY 
    1. Install the reverse shift arm bracket assembly to the manual transaxle case with the 2 bolts.
      Fig 46: Locating Reverse Shift Arm Bracket Assembly Bolts
      GTY200678Courtesy of © TOYOTA, LICENSE AGREEMENT TMS1002

      Torque: 17 N*m (173 kgf*cm, 13 ft.*lbf) 

  25. INSTALL REVERSE IDLER GEAR SUB-ASSEMBLY 
    1. Coat the reverse idler gear and reverse idler thrust washer with MP grease, and install them to the reverse idler gear shaft.
      Fig 47: Identifying Reverse Gear And Reverse Idler Thrust Washer
      GTY200646Courtesy of © TOYOTA, LICENSE AGREEMENT TMS1002
    2. Install the reverse idler gear to the manual transaxle case.
      Fig 48: Aligning Mark Of Reverse Idler Gear Shaft With Hole Of Bolt
      GTY168868Courtesy of © TOYOTA, LICENSE AGREEMENT TMS1002

      HINT: 

      Align the mark of the reverse idler gear shaft with the hole of the bolt.

  26. INSTALL TRANSMISSION MAGNET 
    1. Clean the transmission magnet and install it to the manual transaxle case.
      Fig 49: Installing Transmission Magnet
      GTY200677Courtesy of © TOYOTA, LICENSE AGREEMENT TMS1002
  27. INSTALL NO. 1 OIL RECEIVER PIPE 
    1. Install the No. 1 oil receiver pipe to the manual transmission case with the bolt.
      Fig 50: Locating No. 1 Oil Receiver Pipe
      GTY164427Courtesy of © TOYOTA, LICENSE AGREEMENT TMS1002

      Torque: 17 N*m (173 kgf*cm, 13 ft.*lbf) 

      NOTE:

      Do not damage the pipe.

  28. INSTALL NO. 2 OIL RECEIVER PIPE 
    1. Install the No. 2 oil receiver pipe to the manual transmission case with the bolt.
      Fig 51: Locating No. 2 Oil Receiver Pipe
      GTY164709Courtesy of © TOYOTA, LICENSE AGREEMENT TMS1002

      Torque: 17 N*m (173 kgf*cm, 13 ft.*lbf) 

      NOTE:

      Do not damage the pipe.

  29. INSTALL REVERSE RESTRICT PIN ASSEMBLY 
    1. Install the transmission oil baffle and reverse restrict pin with the bolt.
      Fig 52: Identifying Reverse Restrict Pin Bolt
      GTY158694Courtesy of © TOYOTA, LICENSE AGREEMENT TMS1002

      Torque: 17 N*m (173 kgf*cm, 13 ft.*lbf) 

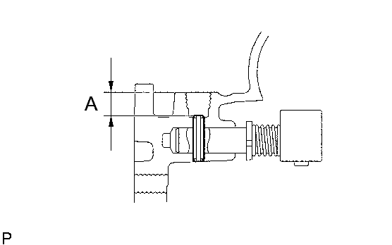
    2. Using a pin punch (5 mm), install the slotted pin to the reverse restrict pin assembly.
      Fig 53: Identifying Slotted Pin Clearance
      GTY200640Courtesy of © TOYOTA, LICENSE AGREEMENT TMS1002

      Clearance A

      12.5 to 13.5 mm (0.492 to 0.531 in.)

    3. Coat the reverse restrict pin plug with adhesive. Using a hexagon wrench (6 mm), install the manual transmission case.
      Fig 54: Locating Manual Transmission Case
      GTY202152Courtesy of © TOYOTA, LICENSE AGREEMENT TMS1002

      Torque: 13 N*m (133 kgf*cm, 10 ft.*lbf) 

      Adhesive

      Toyota Genuine Adhesive 1324, Three Bond 1324 or equivalent

  30. INSTALL MANUAL TRANSMISSION CASE 
    1. Apply a bead of FIPG to the manual transmission case as shown in the illustration.
      Fig 55: Applying Unbroken Bead Of FIPG To Manual Transmission Case
      GTY200637Courtesy of © TOYOTA, LICENSE AGREEMENT TMS1002

      FIPG

      Toyota Genuine Seal Packing 1281, Three Bond 1281 or equivalent

      NOTE:

      Install the part within 10 minutes after applying packing material (FIPG).

    2. Install the manual transmission case to the manual transaxle case with the 14 bolts.
      Fig 56: Locating Manual Transmission Case Bolts
      GTY200676Courtesy of © TOYOTA, LICENSE AGREEMENT TMS1002

      Torque: 29 N*m (296 kgf*cm, 21 ft.*lbf) 

    3. Coat the 3 bolts with adhesive.
      Fig 57: Locating Manual Transaxle Case Bolts
      GTY182737Courtesy of © TOYOTA, LICENSE AGREEMENT TMS1002

      Adhesive

      Toyota Genuine Adhesive 1324, Three Bond 1324 or equivalent

    4. Install the 3 bolts to the manual transaxle case.

      Torque: 29 N*m (296 kgf*cm, 21 ft.*lbf) 

  31. INSTALL REVERSE IDLER GEAR SHAFT BOLT 
    1. Coat the bolt with adhesive. Install a new gasket to the manual transmission case with the bolt.
      Fig 58: Identifying Reverse Idler Gear Shaft Bolt
      GTY200675Courtesy of © TOYOTA, LICENSE AGREEMENT TMS1002

      Torque: 30 N*m (306 kgf*cm, 22 ft.*lbf) 

      Adhesive

      Toyota Genuine Adhesive 1344, Three Bond 1344 or equivalent

  32. INSTALL SHIFT FORK SHAFT SNAP RING 
    1. Using a brass bar and a hammer, install the shift fork shaft snap ring to the No. 1 gear shift fork shaft.
      Fig 59: Using Brass Bar And Hammer To Install Shift Fork Shaft Snap Ring To Gear Shift Fork Shaft No. 1
      GTY200639Courtesy of © TOYOTA, LICENSE AGREEMENT TMS1002
    2. Using a brass bar and a hammer, install the shift fork shaft snap ring to the No. 2 gear shift fork shaft.
      Fig 60: Using Brass Bar And Hammer To Install Shift Fork Shaft Snap Ring To Gear Shift Fork Shaft No. 2
      GTY200638Courtesy of © TOYOTA, LICENSE AGREEMENT TMS1002
  33. INSTALL INPUT SHAFT REAR BEARING SHAFT SNAP RING 
    1. Using a snap ring expander, install the input shaft rear bearing shaft snap ring.
      Fig 61: Using Snap Ring Expander To Install Input Shaft Rear Bearing Shaft Snap Ring
      GTY200737Courtesy of © TOYOTA, LICENSE AGREEMENT TMS1002
  34. INSTALL OUTPUT SHAFT REAR BEARING SHIM 
    1. Install the output shaft rear bearing shim to the output shaft.
      Fig 62: Identifying Output Shaft Rear Bearing Shim
      GTY176754Courtesy of © TOYOTA, LICENSE AGREEMENT TMS1002
  35. INSTALL REAR BEARING RETAINER 
    1. Coat the 7 screws with adhesive.

      Adhesive

      Toyota Genuine Adhesive 1344, Three Bond 1344 or equivalent

      Fig 63: Locating New Output Rear Set Nut To Output Shaft
      GTY200690Courtesy of © TOYOTA, LICENSE AGREEMENT TMS1002
    2. Using a "TORX" socket wrench (T45), install the rear bearing retainer to the manual transmission case with the 7 screws.

      Torque: 43 N*m (438 kgf*cm, 32 ft.*lbf) 

  36. INSTALL 5TH DRIVEN GEAR 
    1. Using SST, install the 5th driven gear to the output shaft.
      Fig 64: Using SST To Install 5Th Driven Gear To Output Shaft
      GTY200799Courtesy of © TOYOTA, LICENSE AGREEMENT TMS1002
      • SST: 09309-12020 
  37. INSTALL 5TH GEAR NEEDLE ROLLER BEARING 
    1. Coat the 5th gear needle roller bearing with gear oil and install it to the input shaft.
      Fig 65: Identifying 5th Gear Needle Roller Bearing
      GTY200605Courtesy of © TOYOTA, LICENSE AGREEMENT TMS1002
  38. INSTALL 5TH GEAR 
    1. Coat the 5th gear with gear oil and install it to the input shaft.
      Fig 66: Identifying 5th Gear
      GTY178970Courtesy of © TOYOTA, LICENSE AGREEMENT TMS1002
  39. INSTALL NO. 3 TRANSMISSION CLUTCH HUB 
    1. Using SST, install the No. 3 transmission clutch hub to the input shaft.
      Fig 67: Using SST To Install Transmission Clutch Hub No. 3 To Input Shaft
      GTY200738Courtesy of © TOYOTA, LICENSE AGREEMENT TMS1002
      • SST: 09950-30012 
        • 09951-03010
        • 09953-03010
        • 09954-03010
      NOTE:

      Align the projection of the synchronizer ring with the hole of the 5th gear.

    2. Install the No. 3 transmission hub sleeve and No. 3 gear shift fork to the No. 3 transmission clutch hub.
      Fig 68: Installing Transmission Hub Sleeve No. 3 And Gear Shift Fork No. 3 To Transmission Clutch Hub No. 3
      GTY172330Courtesy of © TOYOTA, LICENSE AGREEMENT TMS1002
    3. Coat the shift fork set bolt with adhesive and install it to the No. 3 gear shift fork.
      Fig 69: Locating Shift Fork Set Bolt
      GTY200691Courtesy of © TOYOTA, LICENSE AGREEMENT TMS1002

      Torque: 24 N*m (245 kgf*cm, 18 ft.*lbf) 

      Adhesive

      Toyota Genuine Adhesive 1344, Three Bond 1344 or equivalent

    4. Select a snap ring that will allow minimum axial play. Using a brass bar and a hammer, install the shaft snap ring.
      Fig 70: Using Brass Bar And Hammer To Installing Shaft Snap Ring
      GTY187657Courtesy of © TOYOTA, LICENSE AGREEMENT TMS1002

      Clearance

      0.1 mm (0.00394 in.) or less

      Snap Ring

      Part No. Thickness: mm (in.) Mark
      90520-27061 1.75 to 1.80
      (0.0689 to 0.0709)
      a
      90520-27062 1.80 to 1.85
      (0.0709 to 0.0728)
      b
      90520-27063 1.85 to 1.90
      (0.0728 to 0.0748)
      c
      90520-27064 1.90 to 1.95
      (0.0748 to 0.0768)
      d
      90520-27065 1.95 to 2.00
      (0.0768 to 0.0787)
      e
      90520-27066 2.00 to 2.05
      (0.0787 to 0.0807)
      f
      90520-27067 2.05 to 2.10
      (0.0807 to 0.0827)
      g
      90520-27068 2.10 to 2.15
      (0.0827 to 0.0846)
      h
      90520-27069 2.15 to 2.20
      (0.0846 to 0.0866)
      j
  40. INSTALL MANUAL TRANSMISSION OUTPUT SHAFT REAR SET NUT 
    1. Engage the 1st and 2nd gears simultaneously.
      Fig 71: Engaging 1st And 2nd Gears Simultaneously
      GTY179187Courtesy of © TOYOTA, LICENSE AGREEMENT TMS1002
    2. Install a new manual transmission output shaft rear set nut.
      Fig 72: Installing Manual Transmission Output Shaft Rear Set Nut
      GTY200753Courtesy of © TOYOTA, LICENSE AGREEMENT TMS1002

      Torque: 123 N*m (1254 kgf*cm, 90 ft.*lbf) 

    3. Using a chisel and a hammer, stake the manual transmission output shaft rear set nut.
      Fig 73: Staking Manual Transmission Output Shaft Rear Set Nut
      GTY200641Courtesy of © TOYOTA, LICENSE AGREEMENT TMS1002
    4. Disengage the gears.
  41. INSTALL MANUAL TRANSMISSION CASE COVER SUB-ASSEMBLY 
    1. Apply FIPG to the manual transmission case cover sub-assembly as shown in the installation.
      Fig 74: Applying FIPG To Transaxle Case Cover Sub-Assembly
      GTY172336Courtesy of © TOYOTA, LICENSE AGREEMENT TMS1002

      FIPG

      Toyota Genuine Seal Packing 1281, Three Bond 1281 or equivalent

      NOTE:

      Install the part within 10 minutes after applying packing material (FIPG).

    2. Install the manual transmission case cover sub-assembly to the manual transaxle case with the 10 bolts.
      Fig 75: Locating Manual Transmission Case Cover Sub-Assembly Bolts
      GTY186011Courtesy of © TOYOTA, LICENSE AGREEMENT TMS1002

      Torque: 29 N*m (296 kgf*cm, 21 ft.*lbf) 

  42. INSTALL DRAIN PLUG SUB-ASSEMBLY 
    1. Install the drain plug sub-assembly to the manual transmission case with a new gasket.
      Fig 76: Locating Drain Plug Sub-Assembly
      GTY170854Courtesy of © TOYOTA, LICENSE AGREEMENT TMS1002

      Torque: 49 N*m (500 kgf*cm, 36 ft.*lbf) 

  43. INSTALL MANUAL TRANSMISSION FILLER PLUG 
    1. Install the manual transmission filler plug to the transaxle case with a new gasket.
      Fig 77: Locating Manual Transmission Filler Plug
      GTY179369Courtesy of © TOYOTA, LICENSE AGREEMENT TMS1002

      Torque: 49 N*m (500 kgf*cm, 36 ft.*lbf) 

  44. INSTALL SHIFT AND SELECT LEVER SHAFT ASSEMBLY 
    1. Coat the shift and select lever shaft assembly with gear oil, and install it to the manual transmission case.
      Fig 78: Identifying Shift And Select Lever Shaft Assembly
      GTY157874Courtesy of © TOYOTA, LICENSE AGREEMENT TMS1002
  45. INSTALL BACK-UP LIGHT SWITCH ASSEMBLY 
    1. Install the back-up light switch assembly to the manual transmission case with a new gasket.
      Fig 79: Locating Back-Up Light Switch Assembly
      GTY179079Courtesy of © TOYOTA, LICENSE AGREEMENT TMS1002

      Torque: 40 N*m (408 kgf*cm, 30 ft.*lbf) 

  46. INSTALL MANUAL TRANSMISSION BREATHER PLUG 
    1. Install the manual transmission breather plug to the manual transmission case.
      Fig 80: Locating Manual Transmission Breather Plug
      GTY162109Courtesy of © TOYOTA, LICENSE AGREEMENT TMS1002
  47. INSTALL SHIFT GATE PIN 
    1. Install the shift gate pin to the manual transmission case.
      Fig 81: Locating Shift Gate Pin
      GTY167061Courtesy of © TOYOTA, LICENSE AGREEMENT TMS1002

      Torque: 29 N*m (296 kgf*cm, 21 ft.*lbf) 

  48. INSTALL NO. 1 LOCK BALL ASSEMBLY 
    1. Install the No. 1 lock ball assembly to the manual transmission case.
      Fig 82: Locating No. 1 Lock Ball Assembly
      GTY166801Courtesy of © TOYOTA, LICENSE AGREEMENT TMS1002

      Torque: 29 N*m (296 kgf*cm, 21 ft.*lbf) 

  49. INSTALL NO. 2 CLUTCH TUBE BRACKET 
    1. Install the No. 2 clutch tube bracket with the bolt.
      Fig 83: Locating No. 2 Clutch Tube Bracket Bolt
      GTY157857Courtesy of © TOYOTA, LICENSE AGREEMENT TMS1002

      Torque: 15 N*m (153 kgf*cm, 11 ft.*lbf) 

  50. INSTALL CONTROL SHAFT COVER 
    1. Coat the 4 bolts with adhesive. Install a new gasket and the control shaft cover with the bolts.
      Fig 84: Locating Control Shaft Cover Bolts
      GTY157873Courtesy of © TOYOTA, LICENSE AGREEMENT TMS1002

      Torque: 20 N*m (204 kgf*cm, 15 ft.*lbf) 

      Adhesive

      Toyota Genuine Adhesive 1344, Three Bond 1344 or equivalent

  51. INSTALL CONTROL SHIFT LEVER 
    1. Install the control shift lever with the shift outer lever lock pin to the shift and select lever shaft.
      Fig 85: Locating Control Shift Lever
      GTY179905Courtesy of © TOYOTA, LICENSE AGREEMENT TMS1002
    2. Install the spring washer with the nut.

      Torque: 12 N*m (120 kgf*cm, 9 ft.*lbf) 

  52. INSTALL SELECTING BELLCRANK ASSEMBLY 
    1. Coat the 2 bolts with adhesive. Install the selecting bellcrank assembly to the manual transmission case with the bolts.
      Fig 86: Locating Selecting Bellcrank Assembly
      GTY185590Courtesy of © TOYOTA, LICENSE AGREEMENT TMS1002

      Torque: 20 N*m (204 kgf*cm, 15 ft.*lbf) 

      Adhesive

      Toyota Genuine Adhesive 1344, Three Bond 1344 or equivalent

  53. INSTALL CONTROL CABLE BRACKET 
    1. Install the control cable bracket to the manual transaxle case with the 3 bolts.
      Fig 87: Locating Control Cable Bracket And Bolts
      GTY162255Courtesy of © TOYOTA, LICENSE AGREEMENT TMS1002

      Torque: 17 N*m (173 kgf*cm, 12 ft.*lbf) 

  54. INSTALL SPEEDOMETER DRIVEN HOLE COVER SUB-ASSEMBLY 
    1. Install a new O-ring and the speedometer driven hole cover sub-assembly to the transmission case with the bolt.

      Torque: 5.5 N*m (56 kgf*cm, 49 in.*lbf) 

  55. INSTALL CLUTCH RELEASE FORK BOOT 
    1. Install the clutch release fork boot to the manual transaxle case.
  56. INSTALL RELEASE FORK SUPPORT 
    1. Using a deep socket wrench, install the release fork support to the manual transaxle case.
      Fig 88: Locating Release Fork Support
      GTY170891Courtesy of © TOYOTA, LICENSE AGREEMENT TMS1002

      Torque: 47 N*m (480 kgf*cm, 36 ft.*lbf) 

  57. INSTALL CLUTCH RELEASE BEARING ASSEMBLY 
    1. Coat the clutch release bearing assembly with release hub grease, and install it to the clutch release fork sub-assembly.

      Sealant

      Toyota Genuine Release Hub Grease or equivalent

    2. Apply clutch spline grease to the input shaft spline.
  58. INSTALL CLUTCH RELEASE FORK SUB-ASSEMBLY 
    1. Install the clutch release fork sub-assembly to the input shaft.
      Fig 89: Installing Clutch Release Fork Sub - Assembly To Input Shaft
      GTY200644Courtesy of © TOYOTA, LICENSE AGREEMENT TMS1002