LEMON Manuals: Even more car manuals for everyone: 1960-2025
Home >> Toyota >> 2013 >> Matrix S, FWD, Automatic Trans >> Repair and Diagnosis (Single Page) >> Engine Performance >> System >> Engine Control System (2AZ-FE) (Diagnostic Codes (P0500-P2610) & Circuit Tests) >> SFI System >> Circuit Tests >> VC Output Circuit >> Wiring Diagram
April 5, 2026: LEMON Manuals is launched! Read the announcement.

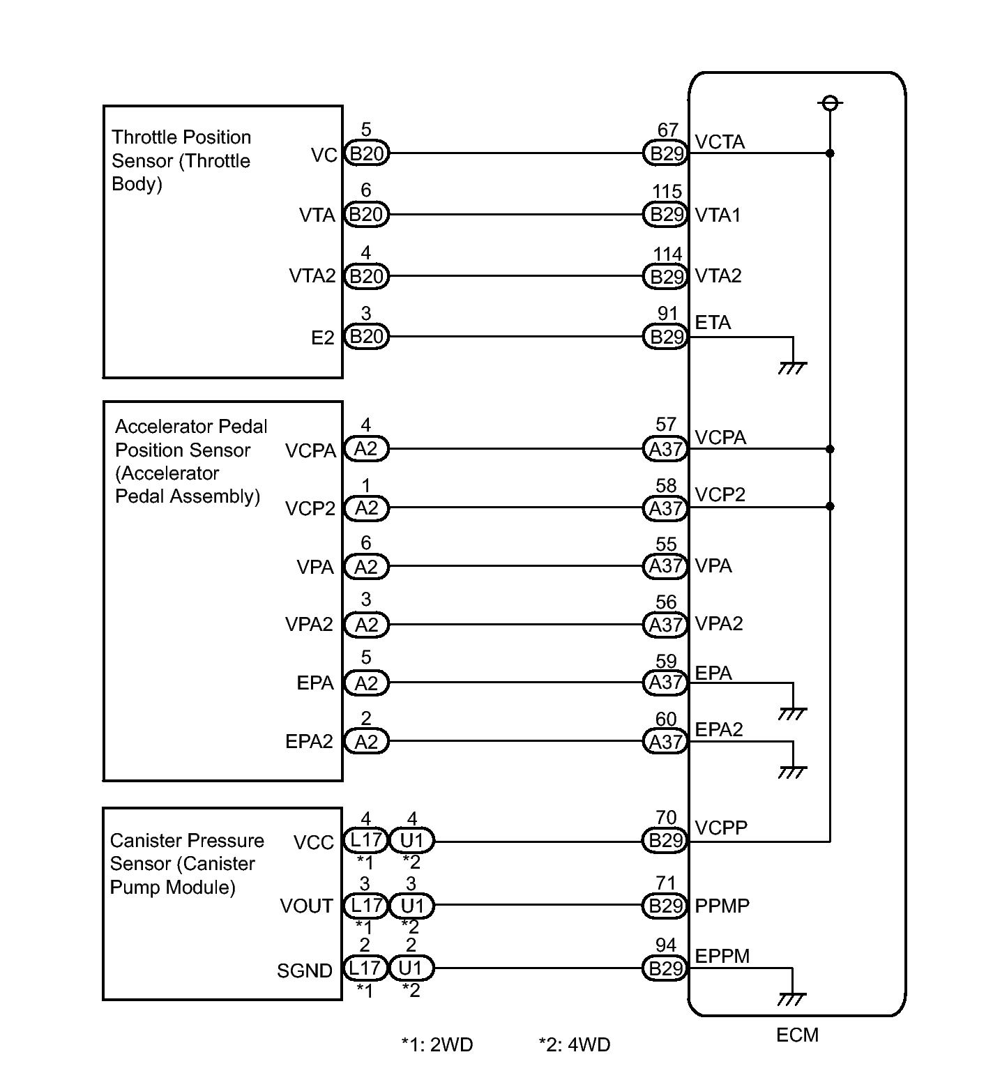
VC Output Circuit: Wiring Diagram

Fig 1: Identifying Accelerator Pedal, Throttle Position Sensor And Canister Pressure Circuit Diagram
GTY319298Courtesy of © TOYOTA, LICENSE AGREEMENT TMS1002