LEMON Manuals: Even more car manuals for everyone: 1960-2025
Home >> Toyota >> 2013 >> Matrix S, FWD, Standard Trans >> Repair and Diagnosis (Single Page) >> Engine Performance >> System >> Engine Control System (2AZ-FE) (Diagnostic Codes (P0500-P2610) & Circuit Tests) >> SFI System >> DTC P0505: Idle Control System Malfunction >> Confirmation Driving Pattern
April 5, 2026: LEMON Manuals is launched! Read the announcement.

Confirmation Driving Pattern

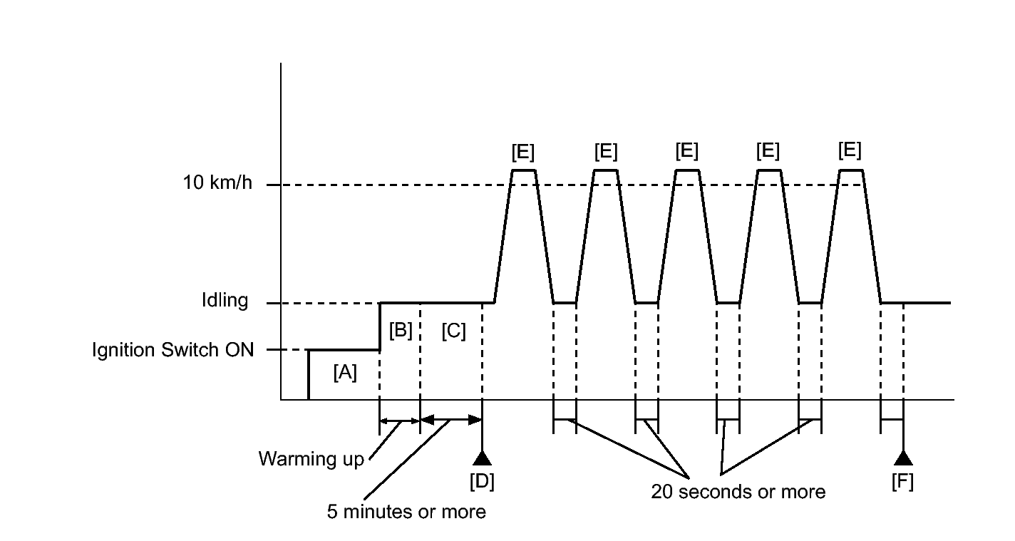
Fig 1: Identifying Confirmation Driving Pattern
GTY315201Courtesy of © TOYOTA, LICENSE AGREEMENT TMS1002
  1. Connect the Techstream to the DLC3.
  2. Turn the ignition switch to ON and turn the Techstream on.
  3. Clear the DTCs (even if no DTCs are stored, perform the clear DTC procedure).
  4. Turn the ignition switch off and wait for at least 30 seconds.
  5. Turn the ignition switch to ON and turn the Techstream on [A].
  6. Start the engine and warm it up until the engine coolant temperature is 75°C (167°F) or higher with all the accessories switched off [B].
  7. Idle the engine for 5 minutes or more [C].

    HINT: 

    In order to keep the idling stable, turn off the A/C and all other electric loads and do not perform any shift operations.

  8. Enter the following menus: Powertrain / Engine and ECT / Trouble Codes [D].
  9. Read the pending DTCs.

    HINT: 

    • If a pending DTC is output, the system is malfunctioning.
    • If a pending DTC is not output, perform the following procedure.
  10. Enter the following menus: Powertrain / Engine and ECT / Utility / All Readiness.
  11. Input the DTC: P0505.
  12. Check the DTC judgment result.
    Techstream Display Description
    NORMAL
    • DTC judgment completed
    • System normal
    ABNORMAL
    • DTC judgment completed
    • System abnormal
    INCOMPLETE
    • DTC judgment not completed
    • Perform driving pattern after confirming DTC enabling conditions
    N/A
    • Unable to perform DTC judgment
    • Number of DTCs which do not fulfill DTC preconditions has reached ECU memory limit

    HINT: 

    • If the judgment result shows NORMAL, the system is normal.
    • If the judgment result shows ABNORMAL, the system has a malfunction.
    • If the judgment result shows INCOMPLETE or N/A, perform steps [E] and [F].
  13. Accelerate the vehicle to 10 km/h (6.25 mph) or more, and then idle the engine for 20 seconds or more [E].
    WARNING:

    When performing the confirmation driving pattern, obey all speed limits and traffic laws.

  14. Repeat step [E] 5 times.
  15. Enter the following menus: Powertrain / Engine and ECT / Trouble Codes [F].
  16. Read the pending DTCs.

    HINT: 

    • If a pending DTC is output, the system is malfunctioning.
    • If a pending DTC is not output, perform the following procedure.
  17. Enter the following menus: Powertrain / Engine and ECT / Utility / All Readiness.
  18. Input the DTC: P0505.
  19. Check the DTC judgment result.
    Techstream Display Description
    NORMAL
    • DTC judgment completed
    • System normal
    ABNORMAL
    • DTC judgment completed
    • System abnormal
    INCOMPLETE
    • DTC judgment not completed
    • Perform driving pattern after confirming DTC enabling conditions
    N/A
    • Unable to perform DTC judgment
    • Number of DTCs which do not fulfill DTC preconditions has reached ECU memory limit

    HINT: 

    • If the judgment result shows NORMAL, the system is normal.
    • If the judgment result shows ABNORMAL, the system has a malfunction.
  20. If the judgment result is INCOMPLETE or N/A and no pending DTC is output, perform a universal trip and check for permanent DTCs. Refer to DTC CHECK / CLEAR .

    HINT: 

    • If a permanent DTC is output, the system is malfunctioning.
    • If no permanent DTC is output, the system is normal.