LEMON Manuals: Even more car manuals for everyone: 1960-2025
Home >> Toyota >> 2013 >> Prius C >> Repair and Diagnosis (Single Page) >> Body & Frame >> Windows >> Power Window Control System (Diagnostic Codes & Symptom Tests) >> Power Window Control System >> Symptom Tests >> Driver Side Power Window does not Operate with Power Window Master Switch >> Procedure
April 5, 2026: LEMON Manuals is launched! Read the announcement.

Driver Side Power Window does not Operate with Power Window Master Switch: Procedure

  1. READ VALUE USING TECHSTREAM (MAIN BODY) 
    1. Connect the Techstream to the DLC3.
    2. Turn the ignition switch to ON (IG).
    3. Turn the Techstream on.
    4. Enter the following menus: Body Electrical / Main Body / Data List.
    5. Read the Data List according to the display on the Techstream.
      MAIN BODY

      Tester Display Measurement Item/Range Normal Condition Diagnostic Note
      Communication D-Door Motor Connection status between power window regulator motor assembly LH (for driver door) and main body ECU (multiplex network body ECU) / OK or STOP OK: Normal communication
      STOP: Communication stopped
      -

      OK

      On the Techstream screen, OK is displayed.

    NG → See step   9 

    OK: Go to next step 

  2. READ VALUE USING TECHSTREAM (DRIVER DOOR WINDOW MOTOR) 
    1. Enter the following menus: Body Electrical / D-Door Motor / Data List.
    2. Read the Data List according to the display on the Techstream.
      D-DOOR MOTOR

      Tester Display Measurement Item/Range Normal Condition Diagnostic Note
      D Door P/W Up SW Driver door power window manual up switch signal / ON or OFF ON: Driver door power window manual up switch operated
      OFF: Driver door power window manual up switch not operated
      -
      D Door P/W Down SW Driver door power window manual down switch signal / ON or OFF ON: Driver door power window manual down switch operated
      OFF: Driver door power window manual down switch not operated
      -

      OK

      On the Techstream screen, ON or OFF is displayed accordingly.

    NG → See step   4 

    OK: Go to next step 

  3. PERFORM ACTIVE TEST USING TECHSTREAM (DRIVER DOOR WINDOW MOTOR) 
    1. Enter the following menus: Body Electrical / D-Door Motor / Active Test.
    2. Perform the Active Test according to the display on the Techstream.
      WARNING:

      Be careful to avoid injuries as this test causes vehicle parts to move. During the Active Test, the jam protection function will not operate.

      D-DOOR MOTOR

      Tester Display Test Part Control Range Diagnostic Note
      Power Window Power window OFF / UP / DOWN -

      OK

      Driver door power window operates normally.

    NG → See step   7 

    OK → See step   10 

  4. CHECK HARNESS AND CONNECTOR (POWER WINDOW REGULATOR MOTOR LH (FOR DRIVER DOOR) - AUXILIARY BATTERY AND BODY GROUND) 
    1. Disconnect the J3 power window regulator motor assembly LH (for driver door) connector.
    2. Measure the voltage and resistance according to the value(s) in the table below.

      Standard Voltage

      Tester Connection Condition Specified Condition
      J3-2 (B) - Body ground Ignition switch off 11 to 14 V

      Standard Resistance

      Tester Connection Condition Specified Condition
      J3-1 (GND) - Body ground Always Below 1 Ω

    NG → REPAIR OR REPLACE HARNESS OR CONNECTOR 

    OK: Go to next step 

  5. CHECK HARNESS AND CONNECTOR (POWER WINDOW REGULATOR MASTER SWITCH - POWER WINDOW REGULATOR MOTOR (FOR DRIVER) AND BODY GROUND) 
    1. Disconnect the J1 power window regulator master switch assembly connector.
    2. Measure the resistance according to the value(s) in the table below.

      Standard Resistance

      W/ REAR POWER WINDOW

      Tester Connection Condition Specified Condition
      J1-8 (U) - J3-10 (UP) Always Below 1 Ω
      J1-5 (D) - J3-7 (DOWN) Always Below 1 Ω
      J1-8 (U) - Body ground Always 10 kΩ or higher
      J1-5 (D) - Body ground Always 10 kΩ or higher
      J1-1 (E) - Body ground Always Below 1 Ω
      W/O REAR POWER WINDOW

      Tester Connection Condition Specified Condition
      J1-18 (U) - J3-10 (UP) Always Below 1 Ω
      J1-10 (D) - J3-7 (DOWN) Always Below 1 Ω
      J1-18 (U) - Body ground Always 10 kΩ or higher
      J1-10 (D) - Body ground Always 10 kΩ or higher
      J1-7 (E) - Body ground Always Below 1 Ω

    NG → REPAIR OR REPLACE HARNESS OR CONNECTOR 

    OK: Go to next step 

  6. INSPECT POWER WINDOW REGULATOR MASTER SWITCH ASSEMBLY 
    1. Remove the power window regulator master switch assembly. Refer to REMOVAL .
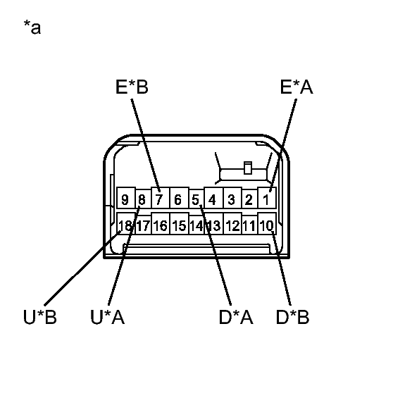
      Fig 1: Power Window Regulator Master Switch Connector
      GTY368885Courtesy of © TOYOTA, LICENSE AGREEMENT TMS1002
    2. Measure the resistance according to the value(s) in the table below.

      Standard Resistance

      (W/ REAR POWER WINDOW)

      Tester Connection Condition Specified Condition
      8 (U) - 1 (E) Manual UP Below 1 Ω
      5 (D) - 1 (E) Manual DOWN Below 1 Ω
      (W/O REAR POWER WINDOW)

      Tester Connection Condition Specified Condition
      18 (U) - 7 (E) Manual UP Below 1 Ω
      10 (D) - 7 (E) Manual DOWN Below 1 Ω
      TEXT IN ILLUSTRATION

      *A w/ Rear Power Window
      *B w/o Rear Power Window
      *a Component without harness connected
      (Power Window Regulator Master Switch Assembly)

    NG → See step   8 

    OK → See step   7 

  7. REPLACE POWER WINDOW REGULATOR MOTOR ASSEMBLY LH (FOR DRIVER DOOR). Refer to  REMOVAL 
  8. REPLACE POWER WINDOW REGULATOR MASTER SWITCH ASSEMBLY. Refer to  REMOVAL 
  9. GO TO LIN COMMUNICATION SYSTEM (Proceed to How to Proceed with Troubleshooting). Refer to  HOW TO PROCEED WITH TROUBLESHOOTING 
  10. REPLACE MAIN BODY ECU (MULTIPLEX NETWORK BODY ECU). Refer to  REMOVAL