LEMON Manuals: Even more car manuals for everyone: 1960-2025
Home >> Toyota >> 2013 >> Prius C >> Repair and Diagnosis (Single Page) >> Body & Frame >> Windows >> Power Window Control System (Diagnostic Codes & Symptom Tests) >> Power Window Control System >> Symptom Tests >> Front Passenger Side Power Window does not Operate with Front Passenger Side Power Window Switch >> Procedure
April 5, 2026: LEMON Manuals is launched! Read the announcement.

Front Passenger Side Power Window does not Operate with Front Passenger Side Power Window Switch: Procedure

  1. CHECK HARNESS AND CONNECTOR (POWER WINDOW REGULATOR SWITCH ASSEMBLY (FOR FRONT PASSENGER DOOR) - AUXILIARY BATTERY) 
    1. Disconnect the H2 power window regulator switch assembly (for front passenger door) connector.
    2. Measure the voltage according to the value(s) in the table below.

      Standard Voltage

      Tester Connection Condition Specified Condition
      H2-3 (B) - Body ground Ignition switch ON (IG) 11 to 14 V

    NG → REPAIR OR REPLACE HARNESS OR CONNECTOR 

    OK: Go to next step 

  2. INSPECT POWER WINDOW REGULATOR SWITCH ASSEMBLY (FOR FRONT PASSENGER DOOR) 
    1. Remove the power window regulator switch assembly (for front passenger door). Refer to REMOVAL .
      Fig 1: Power Window Regulator Switch Connector
      GTY315228Courtesy of © TOYOTA, LICENSE AGREEMENT TMS1002
    2. Measure the resistance when the switch is operated according to the value(s) in the table below.

      Standard Resistance

      Tester Connection Condition Specified Condition
      1 (D) - 2 (SD) UP Below 1 Ω
      3 (B) - 4 (U) Below 1 Ω
      1 (D) - 2 (SD) off Below 1 Ω
      4 (U) - 5 (SU) Below 1 Ω
      4 (U) - 5 (SU) DOWN Below 1 Ω
      1 (D) - 3 (B) Below 1 Ω
      TEXT IN ILLUSTRATION

      *a Component without harness connected
      (Power Window Regulator Switch Assembly (for Front Passenger Door))

    NG → See step   6 

    OK: Go to next step 

  3. CHECK HARNESS AND CONNECTOR (POWER WINDOW REGULATOR SWITCH (FOR FRONT PASSENGER DOOR) - POWER WINDOW REGULATOR MOTOR RH) 
    1. Disconnect the H4 power window regulator motor assembly RH (for front passenger door) connector.
    2. Measure the resistance according to the value(s) in the table below.

      Standard Resistance

      Tester Connection Condition Specified Condition
      H2-4 (U) - H4-2 (U) Always Below 1 Ω
      H2-1 (D) - H4-1 (D) Always Below 1 Ω
      H2-4 (U) - Body ground Always 10 kΩ or higher
      H2-1 (D) - Body ground Always 10 kΩ or higher

    NG → REPAIR OR REPLACE HARNESS OR CONNECTOR 

    OK: Go to next step 

  4. INSPECT POWER WINDOW REGULATOR MASTER SWITCH ASSEMBLY 
    1. Remove the power window regulator master switch assembly. Refer to REMOVAL .
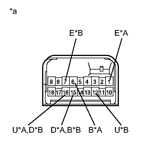
      Fig 2: Power Window Regulator Master Switch Connector
      GTY340883Courtesy of © TOYOTA, LICENSE AGREEMENT TMS1002
    2. Measure the resistance when the switch is operated according to the value(s) in the table below.

      Standard Resistance

      (W/ REAR POWER WINDOW)

      Tester Connection Condition Specified Condition
      6 (B) - 16 (U) UP Below 1 Ω
      1 (E) - 15 (D) Below 1 Ω
      1 (E) - 16 (U) off Below 1 Ω
      1 (E) - 15 (D) Below 1 Ω
      6 (B) - 15 (D) DOWN Below 1 Ω
      1 (E) - 16 (U) Below 1 Ω
      (W/O REAR POWER WINDOW)

      Tester Connection Condition Specified Condition
      15 (B) - 12 (U) UP Below 1 Ω
      7 (E) - 16 (D) Below 1 Ω
      7 (E) - 12 (U) off Below 1 Ω
      7 (E) - 16 (D) Below 1 Ω
      15 (B) - 16 (D) DOWN Below 1 Ω
      7 (E) - 12 (U) Below 1 Ω
      TEXT IN ILLUSTRATION

      *A w/ Rear Power Window
      *B w/o Rear Power Window
      *a Component without harness connected
      (Power Window Regulator Master Switch Assembly)

    NG → See step   8 

    OK: Go to next step 

  5. CHECK HARNESS AND CONNECTOR (POWER WINDOW REGULATOR MASTER SWITCH - POWER WINDOW REGULATOR SWITCH (FOR FRONT PASSENGER DOOR)) 
    1. Measure the resistance according to the value(s) in the table below.

      Standard Resistance

      W/ REAR POWER WINDOW

      Tester Connection Condition Specified Condition
      J1-16 (U) - H2-5 (SU) Always Below 1 Ω
      J1-15 (D) - H2-2 (SD) Always Below 1 Ω
      J1-16 (U) - Body ground Always 10 kΩ or higher
      J1-15 (D) - Body ground Always 10 kΩ or higher
      W/O REAR POWER WINDOW

      Tester Connection Condition Specified Condition
      J1-12 (U) - H2-5 (SU) Always Below 1 Ω
      J1-16 (D) - H2-2 (SD) Always Below 1 Ω
      J1-12 (U) - Body ground Always 10 kΩ or higher
      J1-16 (D) - Body ground Always 10 kΩ or higher

    NG → REPAIR OR REPLACE HARNESS OR CONNECTOR 

    OK → See step   7 

  6. REPLACE POWER WINDOW REGULATOR SWITCH ASSEMBLY (FOR FRONT PASSENGER DOOR). Refer to  REMOVAL 
  7. REPLACE POWER WINDOW REGULATOR MOTOR ASSEMBLY RH (FOR FRONT PASSENGER DOOR). Refer to  REMOVAL 
  8. REPLACE POWER WINDOW REGULATOR MASTER SWITCH ASSEMBLY. Refer to  REMOVAL