LEMON Manuals: Even more car manuals for everyone: 1960-2025
Home >> Toyota >> 2013 >> Prius Five >> Repair and Diagnosis >> External Pages >> Different variant/trim >> Section 19 (Cruise Control System (Service Information) (Plug-In)) >> Millimeter Wave Radar Sensor >> Adjustment >> Adjustment
April 5, 2026: LEMON Manuals is launched! Read the announcement.

Millimeter Wave Radar Sensor: Adjustment: Adjustment

WARNING: This page is about a different variant/trim than selected.
  1. ADJUST MILLIMETER WAVE RADAR SENSOR ASSEMBLY 
    Fig 1: Adjusting Millimeter Wave Radar Sensor Assembly
    GTY229380Courtesy of © TOYOTA, LICENSE AGREEMENT TMS1002
    TEXT IN ILLUSTRATION

    *1 Approx. 10 m
    *2 Approx. 14 m
    WARNING:

    Radiofrequency radiation exposure information: 

    • This equipment complies with FCC radiation exposure limits set forth for an uncontrolled environment.
    • This equipment should be kept with minimum distance of 20 cm (7.87 in.) between the radiator (antenna) and your body at all times during adjustment.
    • This transmitter must not be co-located or operating in conjunction with any other antenna or transmitter.
    NOTE:
    • Perform measurements on a level surface.
    • Make sure that no large pieces of metal are within a 10 m (32.8 ft.) x 14 m (45.9 ft.) area in front of the vehicle. If possible, the surrounding area should also be free of large metal objects.
    1. Before adjusting the radar beam axis, prepare the vehicle as follows.
      1. Check the tire pressure and adjust it if necessary.
      2. Remove all excess weight from the vehicle (luggage, heavy objects, etc.).
    2. Check and adjust the vertical direction of the radar sensor.
      Fig 2: Setting Level
      GTY233175Courtesy of © TOYOTA, LICENSE AGREEMENT TMS1002
      TEXT IN ILLUSTRATION

      *1 Level
      1. Remove dust, oil and foreign matter from the radar sensor's level rack.
      2. Set a level on the radar sensor's level rack.
      3. Check that the level's air bubble is within the red frame.
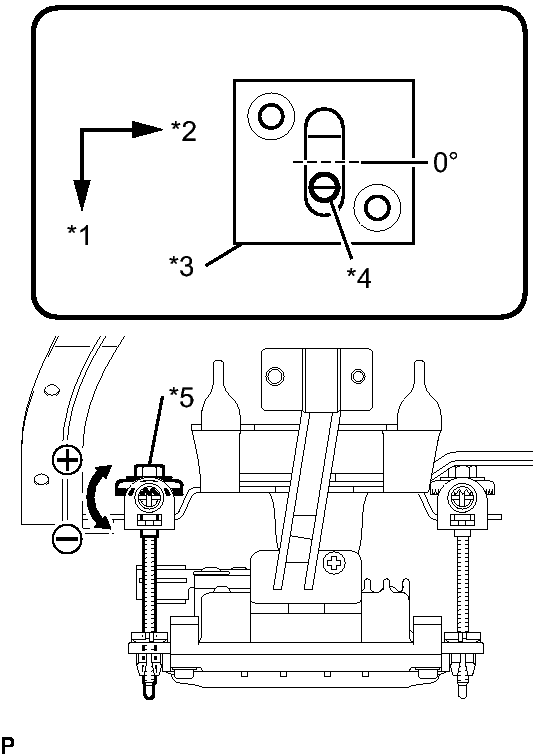
        Fig 3: Identifying Adjustment Procedure
        GTY343411Courtesy of © TOYOTA, LICENSE AGREEMENT TMS1002
        TEXT IN ILLUSTRATION

        *1 FR
        *2 LH
        *3 Level
        *4 Air Bubble
        *5 Bolt A

        OK

        Level's air bubble is within the red frame.

        If the bubble is not within the red frame, use a screwdriver to adjust the bolt A until the air bubble is within the red frame.

        HINT: 

        • The adjustable range within the level's red frame is +/-0.2°.
        • The target angle is +0.2° (upward angle of 0.2°).

          Result

          Adjustment Direction Adjustment Procedure Adjustment Angle
          Vertical adjustment Upward direction: Turn screwdriver to negative (-) side When screwdriver is turned once, adjustment changes by about 0.12°.
          Downward direction: Turn screwdriver to positive (+) side
    3. Adjust the reflector height.
      Fig 4: Adjusting Reflector Height Using SST
      GTY324671Courtesy of © TOYOTA, LICENSE AGREEMENT TMS1002
      TEXT IN ILLUSTRATION

      *1 Millimeter Wave Radar Sensor
      1. Adjust the reflector so that the center of SST reflector is the same height as the millimeter wave radar sensor.
        • SST: 09870-60000 
          • 09870-60010
        • SST: 09870-60040 

        HINT: 

        Prepare a 10 m (32.8 ft.) string, string with a sharp-pointed weight (plumb bob), and 5 m (16.4 ft.) tape measure.

    4. Place the reflector.
      Fig 5: Identifying Reflector Location
      GTY224795Courtesy of © TOYOTA, LICENSE AGREEMENT TMS1002
      1. Hang the string (with weight) from the center of the vehicle's rear emblem. Mark the vehicle's rear center point on the ground. Repeat for the front of the vehicle.
      2. Set one end of the 10 m (32.8 ft.) string on the vehicle's rear center point. Run the string over the vehicle's front center point to a position 5 m (16.4 ft.) beyond the vehicle's front center point, as shown in the illustration. Mark the 5 m (16.4 ft.) position.
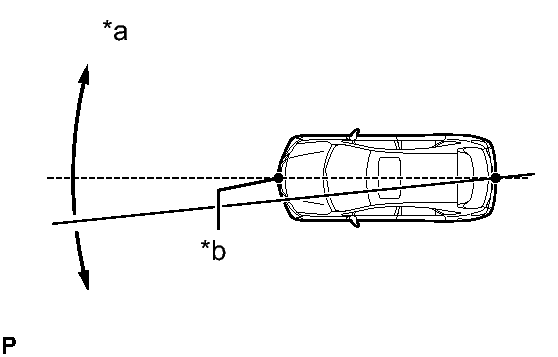
        Fig 6: Measuring Distance To Reflector Position
        GTY341938Courtesy of © TOYOTA, LICENSE AGREEMENT TMS1002
        TEXT IN ILLUSTRATION

        *a Adjust center by moving string to right and left
        *b Extend string through front center mark
      3. Using a tape measure, measure 15.7 mm (0.618 in.) to the right of the 5 m (16.4 ft.) position. Place the reflector at that position.
        NOTE:

        Perform the operation as precisely as possible.

        Fig 7: Identifying Reflector Placement Point
        GTY229508Courtesy of © TOYOTA, LICENSE AGREEMENT TMS1002
        TEXT IN ILLUSTRATION

        *1 Reflector Placement Point *2 Millimeter Wave Radar Sensor Position
    5. Check the radar beam axis.
      1. When using the Techstream:
        1. Connect the Techstream to the DLC3.
        2. Turn the power switch on (IG).
        3. Turn the Techstream on, and turn the cruise control main switch on.
        4. Select "Connect to Vehicle".
        5. Select each item on the display screen and proceed to the next screen.
        6. Under "System Selection Menu", select "Radar Cruise".
        7. Select "Utility".
        8. Select "Beam Axis Adjustment" and proceed to the next screen.

          HINT: 

          A buzzer will sound for 1 second.

        9. Follow the Techstream display, and continue with the adjustment.
          WARNING:

          Do not come within 20 cm (7.87 in.) of the radar sensor.

          NOTE:
          • Turn the cruise control main switch on before pressing "Next".
          • Make sure there is at least 20 cm (7.87 in.) between the radar sensor and any nearby individuals.
      2. Check the following items on the laser cruise divergence data screen.
        NOTE:

        While using the Techstream beam axis adjustment mode, the actual direction and angle of the radar sensor may be different from the Techstream data. In such a case, the deviation is displayed on the combination meter's multi-information display.

        1. Confirm that the distance value is approximately 5 m (16.4 ft.).

          HINT: 

          • A value between 0.0 m (0.0 ft.) and 6.3 m (20.7 ft.) should be indicated.
          • If the distance is 0.0 m (0.0 ft.), the sensor cannot detect the target. Reconfirm that there is no metal in the specified area in front of the vehicle (refer to the Notice at the beginning of this adjustment procedure).
        2. Confirm that the left/right side value is between 0.0 m (0.0 ft.) and 6.3 m (20.7 ft.).

          HINT: 

          If the distance is 0.0 m (0.0 ft.), the sensor cannot detect the target. Reconfirm that there is no metal in the specified area in front of the vehicle (refer to the Notice at the beginning of this adjustment procedure).

    6. Check and adjust the horizontal direction of the radar sensor.
      1. Check that the divergence of the radar beam axis is 0°.

        Standard

        0° (Both right and left)

        If the axis is not as specified, use a screwdriver to adjust the bolt B until the divergence of the radar beam axis is 0°.

      2. Based on the measured divergence of the beam axis, turn and adjust the bolt B for horizontal adjustment of the millimeter wave radar sensor using a screwdriver.
        Fig 8: Identifying Adjustment Procedure
        GTY324403Courtesy of © TOYOTA, LICENSE AGREEMENT TMS1002
        TEXT IN ILLUSTRATION

        *1 Bolt B

        Result

        Adjustment Direction Adjustment Procedure Adjustment Angle
        Horizontal adjustment Right direction: Turn screwdriver to positive (+) side. When screwdriver is turned once, adjustment changes by about 0.07°.
        Left direction: Turn screwdriver to negative (-) side.

        HINT: 

        • If "LEFT SIDE: 1.0°" is displayed, the divergence is 1.0° in the left direction. Turn the bolt B approximately 2.5 turns to the negative (-) side.
        • If the value does not change to 0°, it is possible that the sensor is aiming at something different. Reconfirm that there are no reflective materials in the surrounding area.
      3. Select "Next". The driving learning value is automatically reset.

        HINT: 

        A buzzer will sound for 10 seconds or more.

      4. Disconnect the Techstream from the DLC3.
    7. Recheck and readjust the vertical direction of the radar sensor.
      1. Set a level on the radar sensor's level rack.
        Fig 9: Setting Level
        GTY233175Courtesy of © TOYOTA, LICENSE AGREEMENT TMS1002
        TEXT IN ILLUSTRATION

        *1 Level
      2. Check that the level's air bubble is within the red frame.
        Fig 10: Identifying Adjustment Procedure
        GTY343411Courtesy of © TOYOTA, LICENSE AGREEMENT TMS1002
        TEXT IN ILLUSTRATION

        *1 FR
        *2 LH
        *3 Level
        *4 Air Bubble
        *5 Bolt A

        OK

        Level's air bubble is within the red frame.

        If the bubble is not within the red frame, use a screwdriver to adjust the bolt A until the level's air bubble is within the red frame.

        HINT: 

        • The adjustable range within the red frame is +/-0.2°.
        • The target angle is +0.2° (upward angle of 0.2°).

          Result

          Adjustment Direction Adjustment Procedure Adjustment Angle
          Vertical adjustment Upward direction: Turn screwdriver to negative (-) side When screwdriver is turned once, adjustment changes by about 0.12°.
          Downward direction: Turn screwdriver to positive (+) side