LEMON Manuals: Even more car manuals for everyone: 1960-2025
Home >> Toyota >> 2013 >> Prius Four >> Repair and Diagnosis (Single Page) >> Accessories & Equipment >> Cruise Control Systems >> Dynamic Radar Cruise Control System (Diagnostic Codes & Circuit Tests) (Except Plug-In) >> Dynamic Radar Cruise Control System >> Circuit Tests >> ECU Power Source Circuit >> Procedure
April 5, 2026: LEMON Manuals is launched! Read the announcement.

ECU Power Source Circuit: Procedure

  1. CHECK DRIVING SUPPORT ECU (+B VOLTAGE) 
    1. Disconnect the driving support ECU connector.
      Fig 1: Checking Driving Support ECU (+B Voltage)
      GTY293125Courtesy of © TOYOTA, LICENSE AGREEMENT TMS1002
    2. Turn the power switch on (IG).
    3. Measure the voltage according to the value(s) in the table below.

      Standard Voltage

      Tester Connection Switch Condition Specified Condition
      L60-30 (B) - Body ground Power switch on (IG) 11 to 14 V
      TEXT IN ILLUSTRATION

      *1 Front view of wire harness connector
      (to Driving Support ECU)
    4. Reconnect the driving support ECU connector.

    NG → See step   3 

    OK: Go to next step 

  2. CHECK HARNESS AND CONNECTOR (DRIVING SUPPORT ECU - BODY GROUND) 
    1. Disconnect the driving support ECU connector.
      Fig 2: View Of Wire Harness Connector To Driving Support ECU
      GTY229800Courtesy of © TOYOTA, LICENSE AGREEMENT TMS1002
    2. Measure the resistance according to the value(s) in the table below.

      Standard Resistance (Check for Open)

      Tester Connection Condition Specified Condition
      L60-25 (GND) - Body ground Always Below 1 Ω
      TEXT IN ILLUSTRATION

      *1 Front view of wire harness connector
      (to Driving Support ECU)
    3. Reconnect the driving support ECU connector.

    NG → REPAIR OR REPLACE HARNESS OR CONNECTOR (DRIVING SUPPORT ECU - BODY GROUND) 

    OK → See step   8 

  3. INSPECT INSTRUMENT PANEL JUNCTION BLOCK ASSEMBLY 
    1. Remove the instrument panel junction block assembly.
      Fig 3: Inspecting Instrument Panel Junction Block Assembly
      GTY219163Courtesy of © TOYOTA, LICENSE AGREEMENT TMS1002
    2. Measure the resistance according to the value(s) in the table below.

      Standard Resistance

      Tester Connection Condition Specified Condition
      2E-1 - 2B-16 Always 10 kΩ or higher
      2E-1 - 2B-16 Battery voltage applied between terminals 2B-25 and 2B-6 Below 1 Ω
      TEXT IN ILLUSTRATION

      *1 Instrument Panel Junction Block Assembly - -
    3. Reinstall the instrument panel junction block assembly.

    NG → REPLACE INSTRUMENT PANEL JUNCTION BLOCK ASSEMBLY 

    OK: Go to next step 

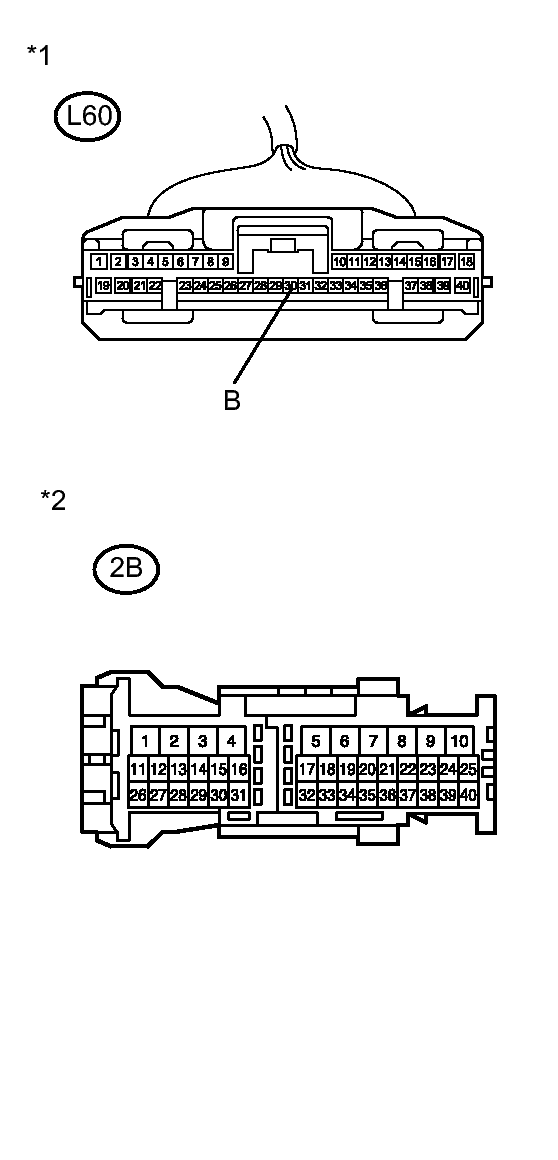
  4. CHECK HARNESS AND CONNECTOR (DRIVING SUPPORT ECU - INSTRUMENT PANEL JUNCTION BLOCK) 
    1. Disconnect the driving support ECU connector.
      Fig 4: Checking Harness And Connector (Driving Support ECU - Instrument Panel Junction Block)
      GTY293545Courtesy of © TOYOTA, LICENSE AGREEMENT TMS1002
    2. Disconnect the instrument panel junction block assembly connector.
    3. Measure the resistance according to the value(s) in the table below.

      Standard Resistance (Check for Open)

      Tester Connection Condition Specified Condition
      L60-30 (B) - 2B-16 Always Below 1 Ω
      TEXT IN ILLUSTRATION

      *1 Front view of wire harness connector
      (to Driving Support ECU)
      *2 Instrument Panel Junction Block
    4. Reconnect the instrument panel junction block assembly connector.
    5. Reconnect the driving support ECU connector.

    NG → REPAIR OR REPLACE HARNESS OR CONNECTOR (DRIVING SUPPORT ECU - INSTRUMENT PANEL JUNCTION BLOCK) 

    OK: Go to next step 

  5. CHECK HARNESS AND CONNECTOR (INSTRUMENT PANEL JUNCTION BLOCK POWER SOURCE CIRCUIT) 
    1. Disconnect the instrument panel junction block assembly connector.
      Fig 5: Checking Harness & Connector (Instrument Panel Junction Block Power Source Circuit)
      GTY213405Courtesy of © TOYOTA, LICENSE AGREEMENT TMS1002
    2. Measure the voltage according to the value(s) in the table below.

      Standard Voltage

      Tester Connection Switch Condition Specified Condition
      2E-1 - Body ground Always 11 to 14 V
      TEXT IN ILLUSTRATION

      *1 Instrument Panel Junction Block Assembly - -
    3. Reconnect the instrument panel junction block assembly connector.

    NG → REPAIR OR REPLACE HARNESS OR CONNECTOR (INSTRUMENT PANEL JUNCTION BLOCK ASSEMBLY - BATTERY) 

    OK: Go to next step 

  6. CHECK HARNESS AND CONNECTOR (INSTRUMENT PANEL JUNCTION BLOCK ASSEMBLY - BODY GROUND) 
    1. Disconnect the instrument panel junction block assembly connector.
      Fig 6: Checking Harness And Connector (Instrument Panel Junction Block Assembly - Body Ground)
      GTY220420Courtesy of © TOYOTA, LICENSE AGREEMENT TMS1002
    2. Measure the resistance according to the value(s) in the table below.

      Standard Resistance (Check for Open)

      Tester Connection Condition Specified Condition
      2B-6 - Body ground Always Below 1 Ω
      TEXT IN ILLUSTRATION

      *1 Instrument Panel Junction Block Assembly
    3. Reconnect the instrument panel junction block assembly connector.

    NG → REPAIR OR REPLACE HARNESS OR CONNECTOR (INSTRUMENT PANEL JUNCTION BLOCK ASSEMBLY - BODY GROUND) 

    OK: Go to next step 

  7. CHECK HARNESS AND CONNECTOR (POWER MANAGEMENT CONTROL ECU - INSTRUMENT PANEL J/B ASSEMBLY) 
    1. Disconnect the power management control ECU connector.
      Fig 7: View Of Wire Harness Connector To Power Management Control ECU & Instrument Panel J/B Assembly
      GTY232730Courtesy of © TOYOTA, LICENSE AGREEMENT TMS1002
      TEXT IN ILLUSTRATION

      *1 Front view of wire harness connector
      (to Power Management Control ECU)
      *2 Instrument Panel Junction Block Assembly
    2. Disconnect the instrument panel junction block assembly connector.
    3. Measure the resistance according to the value(s) in the table below.

      Standard Resistance (Check for Open)

      Tester Connection Condition Specified Condition
      2B-25 - L6-2 (IG1D) Always Below 1 Ω

      Standard Resistance (Check for Short)

      Tester Connection Condition Specified Condition
      2B-25 or L6-2 (IG1D) - Body ground Always 10 kΩ or higher
    4. Reconnect the power management control ECU connector.
    5. Reconnect the instrument panel junction block assembly connector.

    NG → REPAIR OR REPLACE HARNESS OR CONNECTOR (POWER MANAGEMENT CONTROL ECU - INSTRUMENT PANEL J/B ASSEMBLY) 

    OK → See step   9 

  8. PROCEED TO NEXT SUSPECTED AREA SHOWN IN PROBLEM SYMPTOMS TABLE. Refer to  PROBLEM SYMPTOMS TABLE 
  9. GO TO SMART KEY SYSTEM. Refer to  HOW TO PROCEED WITH TROUBLESHOOTING