LEMON Manuals: Even more car manuals for everyone: 1960-2025
Home >> Toyota >> 2013 >> Prius Four >> Repair and Diagnosis >> External Pages >> Different variant/trim >> Section 21 (Electronically Controlled Brake System (Diagnostics - Introduction) (Plug-In)) >> Electronically Controlled Brake System >> DTC Check / Clear >> DTC Check / Clear
April 5, 2026: LEMON Manuals is launched! Read the announcement.

DTC Check / Clear

WARNING: This page is about a different variant/trim than selected.
  1. DTC CHECK/CLEAR (When Using the Techstream) 
    1. Check for DTCs.
      1. Connect the Techstream to the DLC3.
      2. Turn the power switch on (IG).
      3. Turn the Techstream on.
      4. Read the DTCs following the prompts on the Techstream screen. Enter the following menus: Chassis / ABS/VSC/TRAC / Trouble Codes.
      5. Check the details of the DTCs. Refer to DIAGNOSTIC TROUBLE CODE CHART .
    2. Clear the DTCs.
      1. Connect the Techstream to the DLC3.
      2. Turn the power switch on (IG).
      3. Turn the Techstream on.
      4. Operate the Techstream to clear the codes. Enter the following menus: Chassis / ABS/VSC/TRAC / Trouble Codes.
      5. According to the display on the Techstream, select the trouble code data display with the clear button.
  2. DTC CHECK/CLEAR (When not Using the Techstream) 
    1. Check for DTCs.
      1. Using SST, connect terminals TC and CG of the DLC3.
        Fig 1: Identifying DLC3 Connector Terminals
        GTY342357Courtesy of © TOYOTA, LICENSE AGREEMENT TMS1002
        • SST: 09843-18040 
        TEXT IN ILLUSTRATION

        *a Front view of DLC3
      2. Turn the power switch on (IG).
      3. Observe the blinking pattern of the ABS warning, brake warning / yellow (minor malfunction) and slip indicator lights in order to identify the DTC.

        HINT: 

        If no code appears, inspect the TC and CG terminal circuit, and ABS warning, brake warning / yellow (minor malfunction) and slip indicator light circuits.

        Trouble Area See Procedure
        TC and CG terminal circuit Refer to TC and CG Terminal Circuit
        ABS warning light circuit (Remains on) Refer to ABS Warning Light Remains ON
        ABS warning light circuit (Does not come on) Refer to ABS Warning Light does not Come ON
        Brake warning light / yellow (minor malfunction) circuit (Remains on) Refer to Brake Control Warning Light Remains ON
        Brake warning light / yellow (minor malfunction) circuit (Does not come on) Refer to Brake Control Warning Light does not Come ON
        Slip indicator light circuit (Remains on) Refer to Slip Indicator Light Remains ON
        Slip indicator light circuit (Does not come on) Refer to Slip Indicator Light does not Come ON
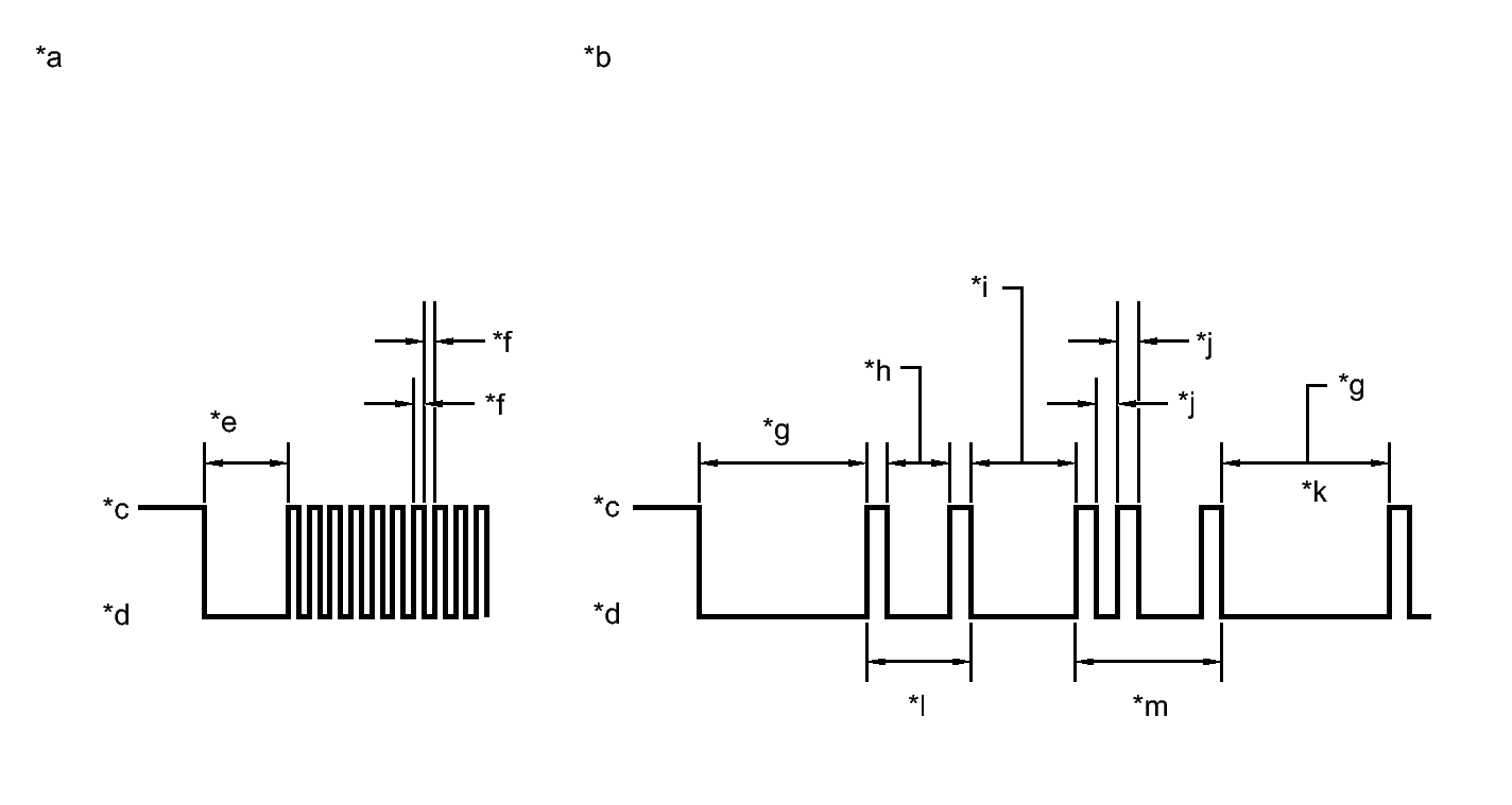
      4. As an example, the illustration below shows the blinking patterns of the normal system code and trouble codes 11 and 21 for the ABS warning, brake warning / yellow (minor malfunction) and slip indicator lights.
        Fig 2: Identifying Warning Light Blinks
        GTY335731Courtesy of © TOYOTA, LICENSE AGREEMENT TMS1002
        TEXT IN ILLUSTRATION

        *a Normal System Code Blinking Pattern *b Trouble Code Blinking Pattern (Example Codes 11 and 21)
        *c ON *d OFF
        *e 2 sec. *f 0.25 sec.
        *g 4 sec. *h 1.5 sec.
        *i 2.5 sec. *j 0.5 sec.
        *k Repeat *l Code 11
        *m Code 21 - -
      5. Check the details of the DTCs. Refer to DIAGNOSTIC TROUBLE CODE CHART .
      6. After completing the check, disconnect terminals TC and CG of the DLC3 to turn off the display.

        If 2 or more DTCs are detected at the same time, the DTCs will be displayed in ascending order.

    2. Clear the DTCs.
      1. Using SST, connect terminals TC and CG of the DLC3.
        Fig 3: Identifying DLC3 Connector Terminals
        GTY342357Courtesy of © TOYOTA, LICENSE AGREEMENT TMS1002
        • SST: 09843-18040 
        TEXT IN ILLUSTRATION

        *a Front view of DLC3
      2. Turn the power switch on (IG).
      3. Clear the DTCs stored in the ECU by depressing the brake pedal 8 times or more within 5 seconds.
        Fig 4: Depressing Brake Pedal
        GTY124492Courtesy of © TOYOTA, LICENSE AGREEMENT TMS1002
      4. Check that the warning light indicates a normal system code.
      5. Remove SST from the terminals of the DLC3.

        HINT: 

        The DTCs cannot be cleared by disconnecting the battery terminal or the ECU-IG NO. 2 fuse.

  3. END OF DTC CHECK/CLEAR 
    1. Turn the power switch on (IG).
    2. Check that the ABS warning, brake warning / yellow (minor malfunction) and slip indicator lights go off when the power switch is turned on (READY).