LEMON Manuals: Even more car manuals for everyone: 1960-2025
Home >> Toyota >> 2013 >> Prius Plug-in >> Repair and Diagnosis (Single Page) >> Accessories & Equipment >> Communication Devices >> Can Communication System (Diagnostic Codes & Symptom Tests) (Plug-In) >> Can Communication System >> DTC U0100: Lost Communication with ECM / PCM "A"; DTC U0129: Lost Communication with Brake System Control Module; DTC U0293: Lost Communication with HV ECU >> Wiring Diagram
April 5, 2026: LEMON Manuals is launched! Read the announcement.

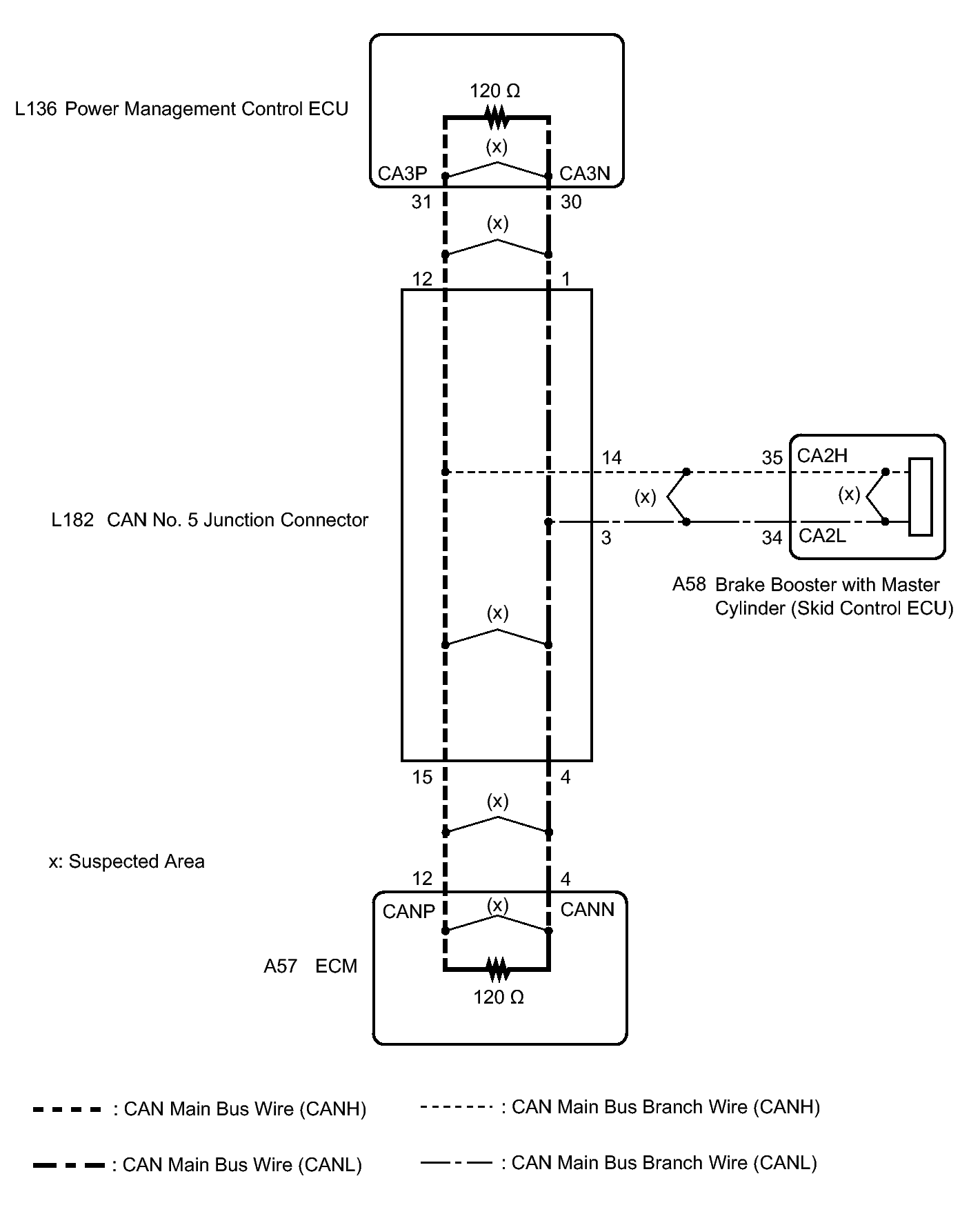
DTC U0100: Lost Communication with ECM / PCM "A"; DTC U0129: Lost Communication with Brake System Control Module; DTC U0293: Lost Communication with HV ECU: Wiring Diagram

Fig 1: Identifying Brake System CAN Communication Line Circuit Diagram
GTY338917Courtesy of © TOYOTA, LICENSE AGREEMENT TMS1002