LEMON Manuals: Even more car manuals for everyone: 1960-2025
Home >> Toyota >> 2013 >> Prius Plug-in >> Repair and Diagnosis (Single Page) >> Accessories & Equipment >> Communication Devices >> Can Communication System (Diagnostic Codes & Symptom Tests) (Plug-In) >> Can Communication System >> Symptom Tests >> Steering Angle Sensor Communication Stop Mode >> Procedure
April 5, 2026: LEMON Manuals is launched! Read the announcement.

Steering Angle Sensor Communication Stop Mode: Procedure

  1. CHECK FOR OPEN IN CAN BUS WIRES (STEERING ANGLE SENSOR BRANCH WIRE) 
    1. Disconnect the cable from the negative (-) auxiliary battery terminal.
    2. Disconnect the steering angle sensor connector.
      Fig 1: Checking L51 Connector Terminals
      GTY335652Courtesy of © TOYOTA, LICENSE AGREEMENT TMS1002
      TEXT IN ILLUSTRATION

      *a Front view of wire harness connector
      (to Steering Angle Sensor)
    3. Measure the resistance according to the value(s) in the table below.

      Standard Resistance

      Tester Connection Switch Condition Specified Condition
      L51-4 (CANH) - L51-3 (CANL) Cable disconnected from negative (-) auxiliary battery terminal 54 to 69 Ω

    NG → REPAIR OR REPLACE CAN MAIN BUS BRANCH WIRE OR CONNECTOR (STEERING ANGLE SENSOR BRANCH WIRE) 

    OK: Go to next step 

  2. CHECK HARNESS AND CONNECTOR (GROUND TERMINAL) 
    1. Measure the resistance according to the value(s) in the table below.
      Fig 2: Checking L51 Connector Terminals
      GTY325739Courtesy of © TOYOTA, LICENSE AGREEMENT TMS1002

      Standard Resistance

      Tester Connection Condition Specified Condition
      L51-2 (ESS) - Body ground Cable disconnected from negative (-) auxiliary battery terminal Below 1 Ω
      TEXT IN ILLUSTRATION

      *a Front view of wire harness connector
      (to Steering Angle Sensor)

    NG → REPAIR OR REPLACE HARNESS OR CONNECTOR (GROUND CIRCUIT) 

    OK: Go to next step 

  3. CHECK HARNESS AND CONNECTOR (POWER SOURCE TERMINAL) 
    1. Connect the cable to the negative (-) auxiliary battery terminal.
    2. Measure the voltage according to the value(s) in the table below.
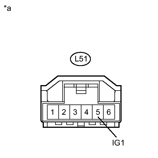
      Fig 3: Checking L51 Connector Terminals
      GTY335653Courtesy of © TOYOTA, LICENSE AGREEMENT TMS1002

      Standard Voltage

      Tester Connection Switch Condition Specified Condition
      L51-5 (IG1) - Body ground Power switch on (IG) 11 to 14 V
      TEXT IN ILLUSTRATION

      *a Front view of wire harness connector
      (to Steering Angle Sensor)

    NG → REPAIR OR REPLACE HARNESS OR CONNECTOR (POWER SOURCE CIRCUIT) 

    OK → See step   4 

  4. REPLACE SPIRAL CABLE WITH STEERING ANGLE SENSOR SUB-ASSEMBLY. Refer to  REMOVAL