LEMON Manuals: Even more car manuals for everyone: 1960-2025
Home >> Toyota >> 2013 >> Prius Plug-in >> Repair and Diagnosis (Single Page) >> Body & Frame >> Door Locks >> Smart Key System (Keyless Entry) (Diagnostic Codes & Symptom Tests) (Plug-In) >> SMART KEY SYSTEM (for Entry Function) >> Symptom Tests >> All Door Entry Lock/Unlock Functions do not Operate, but Wireless Functions Operate >> Procedure
April 5, 2026: LEMON Manuals is launched! Read the announcement.

All Door Entry Lock/Unlock Functions do not Operate, but Wireless Functions Operate: Procedure

  1. CHECK POWER DOOR LOCK OPERATION 
    1. When the door control switch on the master switch assembly is operated, check that the doors unlock and lock according to switch operation. Refer to OPERATION CHECK .

      OK

      Door locks operate normally.

    NG → See step   13 

    OK: Go to next step 

  2. READ VALUE USING TECHSTREAM (ENTRY CANCEL FUNCTION) 
    1. Connect the Techstream to the DLC3.
    2. Turn the power switch on (IG).
    3. Turn the Techstream on.
    4. Enter the following menus: Body Electrical / Smart Key / Data List.
    5. Read the Data List according to the display on the Techstream.
      SMART KEY (CERTIFICATION ECU (SMART KEY ECU ASSEMBLY))

      Tester Display Measurement Item/Range Normal Condition Diagnostic Note
      Auto Entry Cancel SW Entry function cancel / ON or OFF Mode status displayed -

      Result

      Result Proceed to
      Entry function cancel is OFF. A
      Entry function cancel is ON. B

    B → See step   8 

    A: Go to next step 

  3. CHECK WAVE ENVIRONMENT 
    1. Move the key as described below and perform the operation inspection.

      HINT: 

      • When the key is brought near the door outside handle assembly or outside electrical key oscillator, the possibility of wave interference decreases, and it can be determined if wave interference is causing the problem symptom.
      • The transmitting waves of the wireless functions and entry functions are the same, but the wave logic is different. Therefore, it is possible that only the wireless functions or only the entry functions are affected by wave interference.
    2. Bring the key near the driver door outside handle assembly, and perform a front driver door entry lock and unlock operation check.
      Fig 1: Identifying Entry Unlock Operation Detection Area
      GTY219404Courtesy of © TOYOTA, LICENSE AGREEMENT TMS1002
      TEXT IN ILLUSTRATION

      *1 Approximately 0.3 m

      HINT: 

      When pressing the lock switch, hold the electrical key transmitter about 1 m (3.28 ft.) above the ground and about 0.3 m (0.984 ft.) away from the vehicle as shown in the illustration.

      NOTE:

      If the key is brought within 0.2 m (0.656 ft.) of the door outside handle assembly, communication is not possible.

    3. Bring the key near the front passenger door outside handle assembly, and perform a front passenger door entry lock and unlock operation check (w/ Entry System Back Door Open Function).
      Fig 2: Identifying Mode Inspection (Door Electrical Key Oscillator)
      GTY222775Courtesy of © TOYOTA, LICENSE AGREEMENT TMS1002
      TEXT IN ILLUSTRATION

      *1 Approximately 0.3 m

      HINT: 

      When pressing the lock switch, hold the electrical key transmitter about 1 m (3.28 ft.) above the ground and about 0.3 m (0.984 ft.) away from the vehicle as shown in the illustration.

      NOTE:

      If the key is brought within 0.2 m (0.656 ft.) of the door outside handle assembly, communication is not possible.

    4. Bring the key near the electrical key antenna (for rear side), and perform an entry back door open function check (w/ Entry System Back Door Open Function).
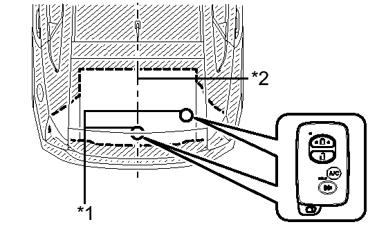
      Fig 3: Identifying Vehicle Center
      GTY217992Courtesy of © TOYOTA, LICENSE AGREEMENT TMS1002
      TEXT IN ILLUSTRATION

      *1 Approximately 0.3 m
      *2 Vehicle Center

      HINT: 

      When pressing the lock switch, hold the electrical key transmitter about 1 m (3.28 ft.) above the ground and about 0.3 m (0.984 ft.) away from the vehicle as shown in the illustration.

      NOTE:

      If the key is brought within 0.2 m (0.656 ft.) of the rear bumper, communication is not possible.

      HINT: 

      If the inspection result indicates that the problem only occurs in certain locations or times of day, the possibility of wave interference is high. Also, added vehicle components may cause wave interference. If installed, remove them and perform the operation check.

      Result

      W/ ENTRY SYSTEM BACK DOOR OPEN FUNCTION

      Result Proceed to
      Entry function does not operate for all doors. A
      Entry function operates for all doors. B
      Entry function operates for an individual door. C
      W/O ENTRY SYSTEM BACK DOOR OPEN FUNCTION

      Result Proceed to
      Entry function does not operate for driver door. A
      Entry function operates for driver door. B

    B → AFFECTED BY WAVE INTERFERENCE 

    C → See step   14 

    A: Go to next step 

  4. PERFORM KEY DIAGNOSTIC MODE INSPECTION 
    1. Diagnostic mode inspection (door electrical key oscillator (for driver side))
      Fig 4: Identifying Entry Unlock Operation Detection Area
      GTY219404Courtesy of © TOYOTA, LICENSE AGREEMENT TMS1002
      TEXT IN ILLUSTRATION

      *1 0.7 to 1.0 m
      1. Connect the Techstream to the DLC3.
      2. Turn the power switch on (IG).
      3. Turn the Techstream on.
      4. Enter the following menus: Body Electrical / Smart Key / Utility / Key Communication Check / Overhead + Driver Side.
      5. When the key is in the position shown in the illustration, check that the wireless door lock buzzer sounds.

        HINT: 

        Hold the electrical key transmitter at the same height as the door outside handle (0.7 to 1.0 m (2.30 to 3.28 ft.)). Make sure that the direction of the key is as shown in the illustration.

    2. Diagnostic mode inspection (door electrical key oscillator (for front passenger side))
      Fig 5: Identifying Mode Inspection (Door Electrical Key Oscillator)
      GTY222775Courtesy of © TOYOTA, LICENSE AGREEMENT TMS1002
      TEXT IN ILLUSTRATION

      *1 0.7 to 1.0 m
      1. Connect the Techstream to the DLC3.
      2. Turn the power switch on (IG).
      3. Turn the Techstream on.
      4. Enter the following menus: Body Electrical / Smart Key / Utility / Key Communication Check / Overhead + Passenger Side.
      5. When the key is in the position shown in the illustration, check that the wireless door lock buzzer sounds.

        HINT: 

        Hold the electrical key transmitter at the same height as the door outside handle (0.7 to 1.0 m (2.30 to 3.28 ft.)). Make sure that the direction of the key is as shown in the illustration.

    3. Diagnostic mode inspection (No. 1 indoor electrical key antenna assembly (for front floor))
      Fig 6: Identifying Inspection Point
      GTY231232Courtesy of © TOYOTA, LICENSE AGREEMENT TMS1002
      TEXT IN ILLUSTRATION

      *1 Inspection Point
      1. Connect the Techstream to the DLC3.
      2. Turn the power switch on (IG).
      3. Turn the Techstream on.
      4. Enter the following menus: Body Electrical / Smart Key / Utility / Key Communication Check / Overhead + Front Room.
      5. When the key is in the position shown in the illustration, check that the wireless door lock buzzer sounds.

        HINT: 

        Place the key on the driver or front passenger seat cushion.

    4. Diagnostic mode inspection (No. 2 indoor electrical key antenna assembly (for center floor))
      Fig 7: Identifying Inspection Point
      GTY216481Courtesy of © TOYOTA, LICENSE AGREEMENT TMS1002
      TEXT IN ILLUSTRATION

      *1 Inspection Point
      1. Connect the Techstream to the DLC3.
      2. Turn the power switch on (IG).
      3. Turn the Techstream on.
      4. Enter the following menus: Body Electrical / Smart Key / Utility / Key Communication Check / Overhead + Rear Room.
      5. When the key is in the position shown in the illustration, check that the wireless door lock buzzer sounds.

        HINT: 

        Place the key on the rear seat cushion.

    5. Diagnostic mode inspection (No. 3 indoor electrical key antenna assembly (for rear floor))
      Fig 8: Identifying Inspection Point And Vehicle Center
      GTY229188Courtesy of © TOYOTA, LICENSE AGREEMENT TMS1002
      TEXT IN ILLUSTRATION

      *1 Inspection Point
      *2 Vehicle Center
      1. Connect the Techstream to the DLC3.
      2. Turn the power switch on (IG).
      3. Turn the Techstream on.
      4. Enter the following menus: Body Electrical / Smart Key / Utility / Key Communication Check / Overhead + Back Door (inside).
      5. When the key is in the position shown in the illustration, check that the wireless door lock buzzer sounds.

        HINT: 

        Place the key on the luggage area.

    6. Diagnostic mode inspection (electrical key antenna (for rear side))
      Fig 9: Identifying Vehicle Center
      GTY217992Courtesy of © TOYOTA, LICENSE AGREEMENT TMS1002
      TEXT IN ILLUSTRATION

      *1 0.7 to 1.0 m
      *2 Vehicle Center
      1. Connect the Techstream to the DLC3.
      2. Turn the power switch on (IG).
      3. Turn the Techstream on.
      4. Enter the following menus: Body Electrical / Smart Key / Utility / Key Communication Check / Overhead + Back Door (outside).
      5. When the key is in the position shown in the illustration, check that the wireless door lock buzzer sounds.

        HINT: 

        Hold the electrical key transmitter at the same height as the rear bumper upper surface and align with the center of the rear of the vehicle (0.7 to 1.0 m (2.30 to 3.28 ft.)). Make sure that the direction of the key is as shown in the illustration.

        Result

        Result Proceed to
        Wireless door lock buzzer does not sound for all electrical key antennas. A
        Wireless door lock buzzer does not sound only for either door electrical key antenna. B
        Wireless door lock buzzer does not sound only for one indoor electrical key antenna. C
        Wireless door lock buzzer does not sound only for electrical key antenna (for rear side). D
        Wireless door lock buzzer sounds for all electrical key antennas. E

    B → See step   9 

    C → See step   10 

    D → See step   11 

    E → See step   12 

    A: Go to next step 

  5. CHECK ELECTRICAL KEY TRANSMITTER 
    1. Check if another registered key is available.

      Result

      Result Proceed to
      Another registered key is not available. A
      Another registered key is available. B

    B → See step   7 

    A: Go to next step 

  6. REGISTER ELECTRICAL KEY TRANSMITTER 
    1. Register a new key. Refer to REGISTRATION .

    NEXT: Go to next step 

  7. CHECK ELECTRICAL KEY TRANSMITTER (OPERATION) 
    1. Using the key registered in the previous step or another registered key, check that the entry function operates normally. Refer to OPERATION CHECK .

      OK

      Entry function operates normally.

    NG → See step   12 

    OK → REPLACE ELECTRICAL KEY TRANSMITTER (REPLACE MALFUNCTIONING KEY) 

  8. PERFORM CANCELLATION OF ENTRY KEY CANCEL FUNCTION (Proceed to Customize Parameters). Refer to  CUSTOMIZE PARAMETERS 
  9. GO TO OTHER PROBLEM (Proceed to Problem Symptoms Table for Each Door). Refer to  PROBLEM SYMPTOMS TABLE 
  10. GO TO OTHER PROBLEM (Proceed to Room Oscillator does not Recognize Key). Refer to  Room Oscillator does not Recognize Key  
  11. GO TO OTHER PROBLEM (Proceed to Back Door Entry Lock and Unlock Functions do not Operate). Refer to  Back Door Entry Lock and Unlock Functions do not Operate  
  12. REPLACE CERTIFICATION ECU (SMART KEY ECU ASSEMBLY). Refer to  REMOVAL 
  13. GO TO POWER DOOR LOCK CONTROL SYSTEM (Proceed to Problem Symptoms Table). Refer to  PROBLEM SYMPTOMS TABLE 
  14. GO TO OTHER PROBLEM (Proceed to Problem Symptoms Table). Refer to  PROBLEM SYMPTOMS TABLE