LEMON Manuals: Even more car manuals for everyone: 1960-2025
Home >> Toyota >> 2013 >> Prius Plug-in >> Repair and Diagnosis (Single Page) >> Body & Frame >> Door Locks >> Smart Key System (Keyless Entry) (Diagnostic Codes & Symptom Tests) (Plug-In) >> SMART KEY SYSTEM (for Entry Function) >> Symptom Tests >> Room Oscillator does not Recognize Key >> Wiring Diagram
April 5, 2026: LEMON Manuals is launched! Read the announcement.

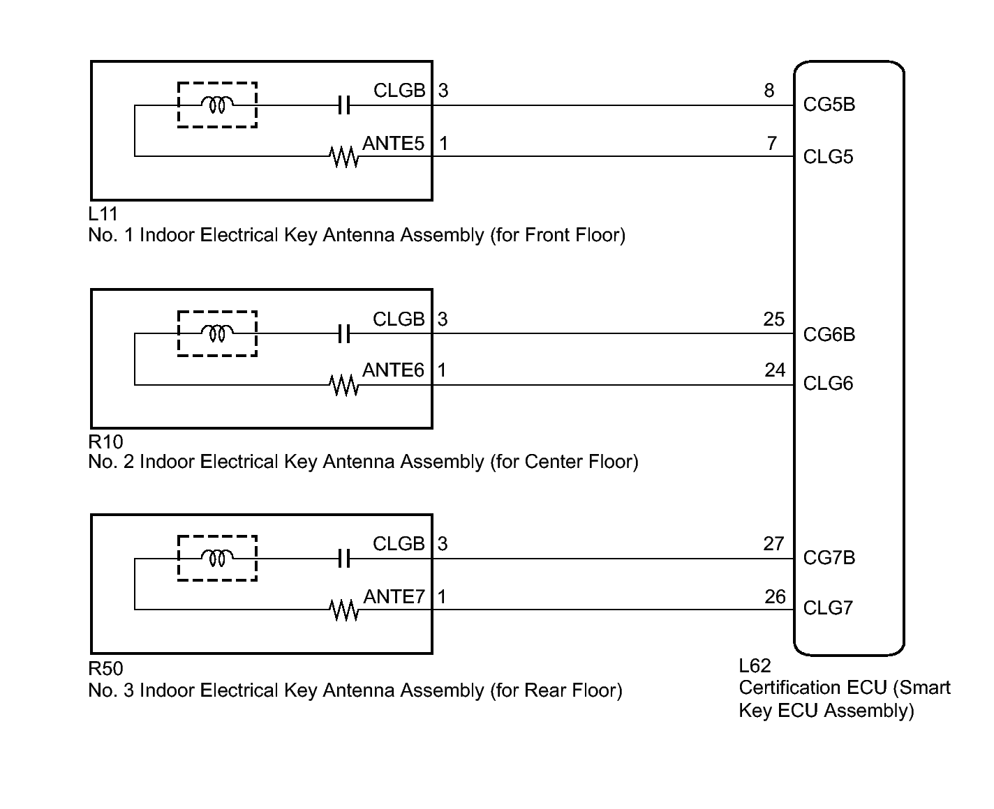
Room Oscillator does not Recognize Key: Wiring Diagram

Fig 1: Identifying Indoor Electrical Key Antenna Circuit Diagram
GTY333136Courtesy of © TOYOTA, LICENSE AGREEMENT TMS1002