LEMON Manuals: Even more car manuals for everyone: 1960-2025
Home >> Toyota >> 2013 >> Prius Plug-in >> Repair and Diagnosis (Single Page) >> Brakes >> Anti-Lock Brakes >> Electronically Controlled Brake System (Diagnostic Codes & Symptom Tests) (Plug-In) >> Electronically Controlled Brake System >> DTC C1271/71: Low Output Signal of Front Speed Sensor RH (Test Mode DTC); DTC C1272/72: Low Output Signal of Front Speed Sensor LH (Test Mode DTC); DTC C1464/31: Front Speed Sensor RH Circuit; DTC C1465/32: Front Speed Sensor LH Circuit >> Procedure
April 5, 2026: LEMON Manuals is launched! Read the announcement.

DTC C1271/71: Low Output Signal of Front Speed Sensor RH (Test Mode DTC); DTC C1272/72: Low Output Signal of Front Speed Sensor LH (Test Mode DTC); DTC C1464/31: Front Speed Sensor RH Circuit; DTC C1465/32: Front Speed Sensor LH Circuit: Procedure

  1. CHECK HARNESS AND CONNECTOR (MOMENTARY INTERRUPTION) 
    1. Using the Techstream, check for any momentary interruptions in the wire harness and connector corresponding to a DTC. Refer to CHECK FOR INTERMITTENT PROBLEMS .
      ABS/VSC/TRAC

      Tester Display Measurement Item/Range Normal Condition Diagnostic Note
      FR Speed Open Front speed sensor RH open detection / Error or Normal Error: Momentary interruption
      Normal: Normal
      -
      FL Speed Open Front speed sensor LH open detection / Error or Normal Error: Momentary interruption
      Normal: Normal
      -

      OK

      There are no momentary interruptions.

      HINT: 

      Perform the above inspection before removing the sensor and connector.

    NG → REPAIR OR REPLACE HARNESS OR CONNECTOR 

    OK: Go to next step 

  2. READ VALUE USING TECHSTREAM (FRONT SPEED SENSOR) 
    1. Select the Data List on the Techstream. Refer to DATA LIST / ACTIVE TEST .
      ABS/VSC/TRAC

      Tester Display Measurement Item/Range Normal Condition Diagnostic Note
      FR Wheel Speed Front speed sensor RH / Min.: 0 km/h (0 mph), Max.: 326.4 km/h (202 mph) Vehicle stopped: 0 km/h (0 mph) When driving at constant speed: No large fluctuations
      FL Wheel Speed Front speed sensor LH / Min.: 0 km/h (0 mph), Max.: 326.4 km/h (202 mph) Vehicle stopped: 0 km/h (0 mph) When driving at constant speed: No large fluctuations
    2. Check that the speed value output from the speed sensor displayed on the Techstream.

      HINT: 

      Factors that affect the indicated vehicle speed include tire size, tire inflation, and tire wear. The speed indicated on the speedometer has an allowable margin of error. This can be tested using a speedometer tester (calibrated chassis dynamometer). For details about testing and the margin of error, see the reference chart. Refer to ON-VEHICLE INSPECTION .

      OK

      The speed value output from the speed sensor displayed on the Techstream is the similar speed as indicated on the speedometer.

    NG → See step   5 

    OK: Go to next step 

  3. PERFORM TEST MODE INSPECTION (SIGNAL CHECK) 
    1. Turn the power switch off.
    2. Perform the sensor check in the Test Mode procedure. Refer to TEST MODE PROCEDURE .

      OK

      All Test Mode DTCs are cleared.

    NG → See step   5 

    OK: Go to next step 

  4. RECONFIRM DTC 
    1. Turn the power switch off.
    2. Clear the DTCs. Refer to DTC CHECK / CLEAR .
    3. Turn the power switch on (READY).
    4. Perform a road test.
    5. Check if the same DTC is recorded. Refer to DTC CHECK / CLEAR .

      Result

      Result Proceed to
      DTCs (C1464/31 and C1465/32) are not output A
      DTCs (C1464/31 and/or C1465/32) are output B

      HINT: 

      If troubleshooting has been carried out according to Problem Symptoms Table, refer back to the table and proceed to the next step. Refer to PROBLEM SYMPTOMS TABLE .

    B → See step   10 

    A → See step   16 

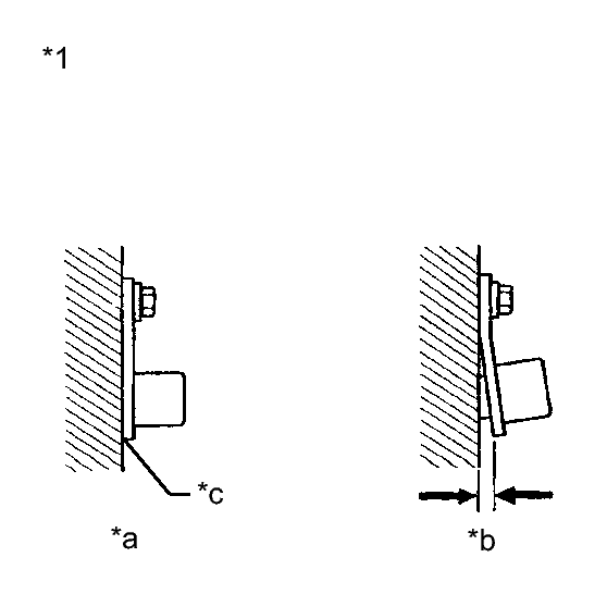
  5. CHECK FRONT SPEED SENSOR INSTALLATION 
    1. Turn the power switch off.
      Fig 1: Identifying Proper Sensor Installation
      GTY341318Courtesy of © TOYOTA, LICENSE AGREEMENT TMS1002
    2. Check the speed sensor installation.

      OK

      There is no clearance between the sensor and the front steering knuckle.

      The installation bolt is tightened properly.

      Torque 

      8.5 N*m (87 kgf*cm, 75 in.*lbf)

      TEXT IN ILLUSTRATION

      *1 Front Speed Sensor
      *a OK
      *b NG
      *c No clearance

    NG → See step   14 

    OK: Go to next step 

  6. CHECK FRONT SPEED SENSOR TIP 
    1. Remove the front speed sensor. Refer to REMOVAL .
    2. Check the speed sensor tip.

      OK

      The sensor tip is free of scratches, oil, and foreign matter.

      NOTE:

      Check the speed sensor signal after cleaning or replacement. Refer to TEST MODE PROCEDURE .

    NG → CLEAN OR REPLACE FRONT SPEED SENSOR 

    OK: Go to next step 

  7. CHECK HARNESS AND CONNECTOR (SKID CONTROL ECU - FRONT SPEED SENSOR) 
    1. Make sure that there is no looseness at the locking part and the connecting part of the connectors.
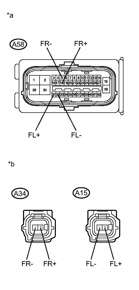
      Fig 2: Identifying A58, A34 & A15 Connector Terminals
      GTY338164Courtesy of © TOYOTA, LICENSE AGREEMENT TMS1002
    2. Disconnect the skid control ECU connector and the front speed sensor connector.
    3. Measure the resistance according to the value(s) in the table below.

      Standard Resistance

      for RH 

      for LH 

      Tester Connection Condition Specified Condition
      A58-18 (FR+) - A34-2 (FR+) Always Below 1 Ω
      A58-18 (FR+) - Body ground Always 10 kΩ or higher
      A58-5 (FR-) - A34-1 (FR-) Always Below 1 Ω
      A58-5 (FR-) - Body ground Always 10 kΩ or higher
      Tester Connection Condition Specified Condition
      A58-31 (FL+) - A15-2 (FL+) Always Below 1 Ω
      A58-31 (FL+) - Body ground Always 10 kΩ or higher
      A58-32 (FL-) - A15-1 (FL-) Always Below 1 Ω
      A58-32 (FL-) - Body ground Always 10 kΩ or higher
      TEXT IN ILLUSTRATION

      *a Front view of wire harness connector
      (to Skid Control ECU)
      *b Front view of wire harness connector
      (to Front Speed Sensor)

    NG → REPAIR OR REPLACE HARNESS OR CONNECTOR 

    OK: Go to next step 

  8. INSPECT SKID CONTROL ECU (SENSOR OUTPUT) 
    1. Reconnect the skid control ECU connector.
      Fig 3: Identifying A34 & A15 Connector Terminals
      GTY329823Courtesy of © TOYOTA, LICENSE AGREEMENT TMS1002
    2. Turn the power switch on (IG).
    3. Measure the voltage according to the value(s) in the table below.

      Standard Voltage

      for RH 

      for LH 

      Tester Connection Switch Condition Specified Condition
      A34-2 (FR+) - Body ground Power switch on (IG) 5.7 to 14 V
      Tester Connection Switch Condition Specified Condition
      A15-2 (FL+) - Body ground Power switch on (IG) 5.7 to 14 V
      TEXT IN ILLUSTRATION

      *a Front view of wire harness connector
      (to Front Speed Sensor)

    NG → See step   15 

    OK: Go to next step 

  9. RECONFIRM DTC 
    1. Turn the power switch off.
    2. Reconnect the front speed sensor connector.
    3. Clear the DTCs. Refer to DTC CHECK / CLEAR .
    4. Turn the power switch on (READY).
    5. Perform a road test.
    6. Check if the same DTC is recorded. Refer to DTC CHECK / CLEAR .

      Result

      Result Proceed to
      DTCs (C1464/31 and/or C1465/32) are output A
      DTCs (C1464/31 and C1465/32) are not output B

      HINT: 

      If troubleshooting has been carried out according to Problem Symptoms Table, refer back to the table and proceed to the next step. Refer to PROBLEM SYMPTOMS TABLE .

    B → See step   16 

    A: Go to next step 

  10. REPLACE FRONT SPEED SENSOR 
    1. Turn the power switch off.
    2. Replace the front speed sensor. Refer to REMOVAL .
      NOTE:

      Check the speed sensor signal after replacement. Refer to TEST MODE PROCEDURE .

    NEXT: Go to next step 

  11. RECONFIRM DTC 
    1. Clear the DTCs. Refer to DTC CHECK / CLEAR .
    2. Turn the power switch on (READY).
    3. Perform a road test.
    4. Check if the same DTC is recorded. Refer to DTC CHECK / CLEAR .

      Result

      Result Proceed to
      DTCs (C1464/31 and/or C1465/32) are output A
      DTCs (C1464/31 and C1465/32) are not output B

      HINT: 

      If troubleshooting has been carried out according to Problem Symptoms Table, refer back to the table and proceed to the next step. Refer to PROBLEM SYMPTOMS TABLE .

    B → END 

    A: Go to next step 

  12. REPLACE FRONT SPEED SENSOR ROTOR 
    1. Turn the power switch off.
    2. Replace the front axle hub sub-assembly (front speed sensor rotor). Refer to REMOVAL .

      HINT: 

      The front speed sensor rotor is incorporated into the front axle hub sub-assembly.

      If the front speed sensor rotor needs to be replaced, replace it together with the front axle hub sub-assembly.

      NOTE:

      Check the speed sensor signal after replacement. Refer to TEST MODE PROCEDURE .

    NEXT: Go to next step 

  13. RECONFIRM DTC 
    1. Clear the DTCs. Refer to DTC CHECK / CLEAR .
    2. Turn the power switch on (READY).
    3. Perform a road test.
    4. Check if the same DTC is recorded. Refer to DTC CHECK / CLEAR .

      Result

      Result Proceed to
      DTCs (C1464/31 and/or C1465/32) are output A
      DTCs (C1464/31 and C1465/32) are not output B

      HINT: 

      If troubleshooting has been carried out according to Problem Symptoms Table, refer back to the table and proceed to the next step. Refer to PROBLEM SYMPTOMS TABLE .

    B → END 

    A → See step   15 

  14. INSTALL FRONT SPEED SENSOR CORRECTLY. Refer to  INSTALLATION 
  15. REPLACE BRAKE BOOSTER WITH MASTER CYLINDER. Refer to  REMOVAL 
  16. CHECK FOR INTERMITTENT PROBLEMS. Refer to  HOW TO PROCEED WITH TROUBLESHOOTING