LEMON Manuals: Even more car manuals for everyone: 1960-2025
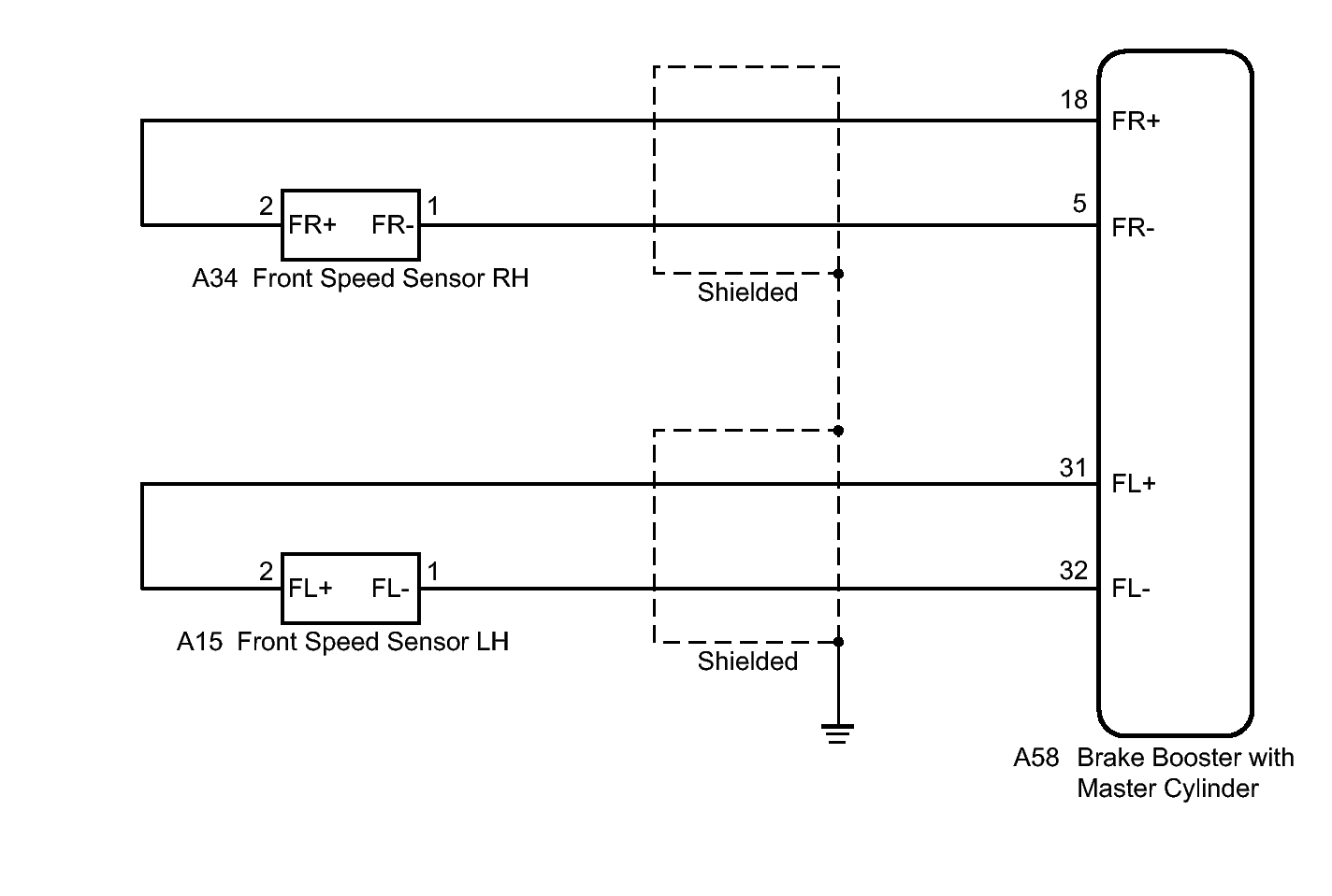
Home >> Toyota >> 2013 >> Prius Plug-in >> Repair and Diagnosis (Single Page) >> Brakes >> Anti-Lock Brakes >> Electronically Controlled Brake System (Diagnostic Codes & Symptom Tests) (Plug-In) >> Electronically Controlled Brake System >> DTC C1271/71: Low Output Signal of Front Speed Sensor RH (Test Mode DTC); DTC C1272/72: Low Output Signal of Front Speed Sensor LH (Test Mode DTC); DTC C1464/31: Front Speed Sensor RH Circuit; DTC C1465/32: Front Speed Sensor LH Circuit >> Wiring Diagram
April 5, 2026: LEMON Manuals is launched! Read the announcement.

DTC C1271/71: Low Output Signal of Front Speed Sensor RH (Test Mode DTC); DTC C1272/72: Low Output Signal of Front Speed Sensor LH (Test Mode DTC); DTC C1464/31: Front Speed Sensor RH Circuit; DTC C1465/32: Front Speed Sensor LH Circuit: Wiring Diagram

Fig 1: Identifying Brake Booster With Master Cylinder (Skid Control ECU) Wiring Diagram
GTY228884Courtesy of © TOYOTA, LICENSE AGREEMENT TMS1002