LEMON Manuals: Even more car manuals for everyone: 1960-2025
Home >> Toyota >> 2013 >> Prius Plug-in >> Repair and Diagnosis >> Engine Performance >> System >> Engine Control System (Diagnostic Codes ( P0010 - P0300)) (Plug-In) >> SFI System >> DTC P0115: Engine Coolant Temperature Circuit Malfunction; DTC P0117: Engine Coolant Temperature Circuit Low Input; DTC P0118: Engine Coolant Temperature Circuit High Input >> Procedure
April 5, 2026: LEMON Manuals is launched! Read the announcement.

DTC P0115: Engine Coolant Temperature Circuit Malfunction; DTC P0117: Engine Coolant Temperature Circuit Low Input; DTC P0118: Engine Coolant Temperature Circuit High Input: Procedure

  1. READ VALUE USING TECHSTREAM (COOLANT TEMP) 
    1. Connect the Techstream to the DLC3.
    2. Turn the power switch on (IG).
    3. Turn the Techstream on.
    4. Enter the following menus: Powertrain / Engine and ECT / Data List / Primary / Coolant Temp.
    5. Read the value displayed on the Techstream.

      Standard value

      Between 75 and 100°C (167 and 212°F) with warm engine.

      RESULT

      Result Proceed to
      -40°C (-40°F) A
      Higher than 135°C (275°F) B
      Between 75 and 100°C (167 and 212°F) C

      HINT: 

      • If there is an open circuit, the Techstream indicates -40°C (-40°F).
      • If there is a short circuit, the Techstream indicates higher than 135°C (275°F).

    B → See step   4 

    C → See step   6 

    A: Go to next step 

  2. READ VALUE USING TECHSTREAM (CHECK FOR OPEN IN WIRE HARNESS) 
    1. Disconnect the engine coolant temperature sensor connector.
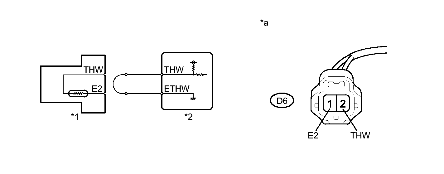
      Fig 1: Checking D6 Connector Terminals
      GTY324726Courtesy of © TOYOTA, LICENSE AGREEMENT TMS1002
    2. Connect terminals 1 (E2) and 2 (THW) of the engine coolant temperature sensor connector on the wire harness side.
    3. Connect the Techstream to the DLC3.
    4. Turn the power switch on (IG).
    5. Turn the Techstream on.
    6. Enter the following menus: Powertrain / Engine and ECT / Data List / Primary / Coolant Temp.
    7. Read the value displayed on the Techstream.

      Standard value

      Higher than 135°C (275°F)

      TEXT IN ILLUSTRATION

      *1 Engine Coolant Temperature Sensor *2 ECM
      *a Front view of wire harness connector
      (to Engine Coolant Temperature Sensor)
      - -

    NG → See step   3 

    OK → See step   7 

  3. CHECK HARNESS AND CONNECTOR (ENGINE COOLANT TEMPERATURE SENSOR - ECM) 
    1. Disconnect the engine coolant temperature sensor connector.
    2. Disconnect the ECM connector.
    3. Measure the resistance according to the value(s) in the table below.

      Standard Resistance

      Tester Connection Condition Specified Condition
      D6-2 (THW) - D28-64 (THW) Always Below 1 Ω
      D6-1 (E2) - D28-65 (ETHW) Always Below 1 Ω

    NG → REPAIR OR REPLACE HARNESS OR CONNECTOR 

    OK → See step   8 

  4. READ VALUE USING TECHSTREAM (CHECK FOR SHORT IN WIRE HARNESS) 
    1. Disconnect the engine coolant temperature sensor connector.
      Fig 2: Identifying Disconnected Connector
      GTY316076Courtesy of © TOYOTA, LICENSE AGREEMENT TMS1002
    2. Connect the Techstream to the DLC3.
    3. Turn the power switch on (IG).
    4. Turn the Techstream on.
    5. Enter the following menus: Powertrain / Engine and ECT / Data List / Primary / Coolant Temp.
    6. Read the value displayed on the Techstream.

      Standard value

      -40°C (-40°F)

      TEXT IN ILLUSTRATION

      *1 Engine Coolant Temperature Sensor
      *2 ECM

    NG → See step   5 

    OK → See step   9 

  5. CHECK HARNESS AND CONNECTOR (ENGINE COOLANT TEMPERATURE SENSOR - ECM) 
    1. Disconnect the engine coolant temperature sensor connector.
    2. Disconnect the ECM connector.
    3. Measure the resistance according to the value(s) in the table below.

      Standard Resistance

      Tester Connection Condition Specified Condition
      D6-2 (THW) or D28-64 (THW) - Body ground Always 10 kΩ or higher

    NG → REPAIR OR REPLACE HARNESS OR CONNECTOR 

    OK → See step   10 

  6. CHECK FOR INTERMITTENT PROBLEMS. Refer to  CHECK FOR INTERMITTENT PROBLEMS 
  7. REPLACE ENGINE COOLANT TEMPERATURE SENSOR. Refer to  REMOVAL 
  8. REPLACE ECM. Refer to  REMOVAL 
  9. REPLACE ENGINE COOLANT TEMPERATURE SENSOR. Refer to  REMOVAL 
  10. REPLACE ECM. Refer to  REMOVAL