LEMON Manuals: Even more car manuals for everyone: 1960-2025
Home >> Toyota >> 2013 >> Prius Plug-in >> Repair and Diagnosis >> External Pages >> Different variant/trim >> Section 100 (Lighting System (Diagnostics & Circuit Tests) (Except Plug-In)) >> Lighting System >> Circuit Tests >> Door Unlock Detection Switch Circuit >> Wiring Diagram
April 5, 2026: LEMON Manuals is launched! Read the announcement.

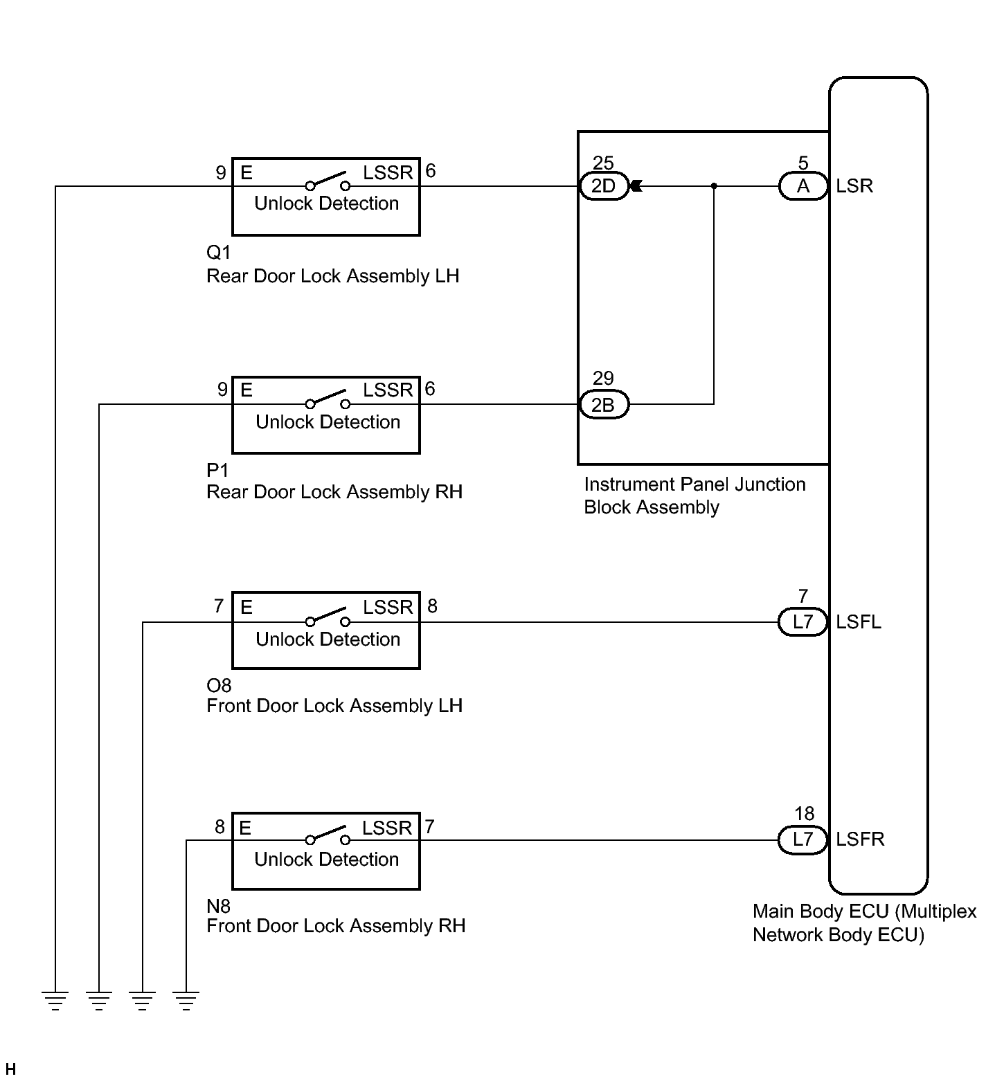
Door Unlock Detection Switch Circuit: Wiring Diagram

WARNING: This page is about a different variant/trim than selected.
Fig 1: Identifying Door Unlock Detection Switch Circuit Wiring Diagram
GTY227339Courtesy of © TOYOTA, LICENSE AGREEMENT TMS1002