LEMON Manuals: Even more car manuals for everyone: 1960-2025
Home >> Toyota >> 2013 >> Prius Plug-in >> Repair and Diagnosis >> External Pages >> Different variant/trim >> Section 129 (Lighting System (Diagnostic Codes & Circuit Tests) (Except Plug-In)) >> Lighting System >> Circuit Tests >> High Beam Headlight Circuit >> Procedure
April 5, 2026: LEMON Manuals is launched! Read the announcement.

High Beam Headlight Circuit: Procedure

WARNING: This page is about a different variant/trim than selected.
  1. CHECK OPERATION (LOW BEAM HEADLIGHTS) 
    1. Check the operation of the low beam headlights.

      OK

      Low beam headlights operate normally.

    NG → See step   13 

    OK: Go to next step 

  2. PERFORM ACTIVE TEST USING TECHSTREAM 
    1. Connect the Techstream to the DLC3.
    2. Turn the power switch on (IG).
    3. Turn the Techstream on.
    4. Enter the following menus: Body Electrical / Main Body / Active Test.
    5. Check that the high beam headlights illuminate.
      MAIN BODY

      Tester Display Test Part Control Range Diagnostic Note
      Head Light Hi High beam headlights ON/OFF -

      OK

      High beam headlights illuminate.

    NG → See step   3 

    OK → See step   11 

  3. CHECK MODEL 
    1. Chose the model to be inspected.

      Result

      Result Proceed to
      for Canada A
      except Canada B

    B → See step   7 

    A: Go to next step 

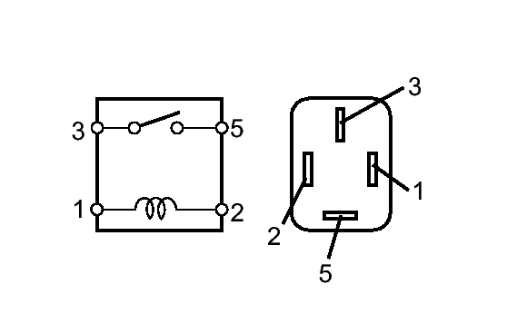
  4. INSPECT RUNNING LIGHT RELAY 
    1. Connect a positive (+) lead from the battery to terminal 6 (+B).
      Fig 1: Identifying Running Light Relay Connector Terminals
      GTY211141Courtesy of © TOYOTA, LICENSE AGREEMENT TMS1002
    2. Connect a negative (-) lead from the battery to terminals 4 (H) and 3 (E).
    3. Measure the voltage according to the value(s) in the table below.

      Standard Voltage

      Tester Connection Condition Specified Condition
      1 (HLOR) - Battery negative Always 11 to 14 V
      5 (HLOL) - Battery negative Always 11 to 14 V
      TEXT IN ILLUSTRATION

      *1 Component without harness connected
      (Running Light Relay)

    NG → REPLACE RUNNING LIGHT RELAY 

    OK: Go to next step 

  5. CHECK HARNESS AND CONNECTOR (RUNNING LIGHT RELAY - INSTRUMENT PANEL JUNCTION BLOCK AND BODY GROUND) 
    1. Disconnect the 2C instrument panel junction block assembly connector.
    2. Measure the resistance according to the value(s) in the table below.

      Standard Resistance

      Tester Connection Condition Specified Condition
      Relay terminal 4 (H) - 2C-22 Always Below 1 Ω
      2C-22 - Body ground Always 10 kΩ or higher
      Relay terminal 3 (E) - Body ground Always Below 1 Ω

    NG → REPAIR OR REPLACE HARNESS OR CONNECTOR 

    OK: Go to next step 

  6. INSPECT INSTRUMENT PANEL JUNCTION BLOCK ASSEMBLY 
    1. Remove the instrument panel junction block assembly.
      Fig 2: Identifying Instrument Panel Junction Block Assembly Connector Terminals
      GTY214525Courtesy of © TOYOTA, LICENSE AGREEMENT TMS1002
    2. Measure the resistance according to the value(s) in the table below.

      Standard Resistance

      Tester Connection Condition Specified Condition
      2C-22 - A-22 (DIM) Always Below 1 Ω
      2C-22 - Body ground Always 10 kΩ or higher
      TEXT IN ILLUSTRATION

      *1 Component without harness connected
      (Instrument Panel Junction Block Assembly)

    NG → REPLACE INSTRUMENT PANEL JUNCTION BLOCK ASSEMBLY 

    OK → See step   12 

  7. INSPECT HEADLIGHT DIMMER RELAY (DIM) 
    1. Remove the headlight dimmer relay from the engine room relay block.
      Fig 3: Inspecting Head LP Relay
      GTY108191Courtesy of © TOYOTA, LICENSE AGREEMENT TMS1002
    2. Measure the resistance according to the value(s) in the table below.

      Standard Resistance

      Tester Connection Condition Specified Condition
      3 - 5 Voltage is not applied between terminals 1 and 2 10 kΩ or higher
      3 - 5 Voltage is applied between terminals 1 and 2 Below 1 Ω

    NG → REPLACE HEADLIGHT DIMMER RELAY 

    OK: Go to next step 

  8. CHECK HARNESS AND CONNECTOR (BATTERY - HEADLIGHT DIMMER RELAY) 
    1. Measure the voltage according to the value(s) in the table below.

      Standard Voltage

      Tester Connection Condition Specified Condition
      Relay terminal 2 - Body ground Always 11 to 14 V
      Relay terminal 3 - Body ground Always 11 to 14 V

    NG → REPAIR OR REPLACE HARNESS OR CONNECTOR 

    OK: Go to next step 

  9. CHECK HARNESS AND CONNECTOR (HEADLIGHT DIMMER RELAY - INSTRUMENT PANEL JUNCTION BLOCK) 
    1. Disconnect the 2C instrument panel junction block assembly connector.
    2. Measure the resistance according to the value(s) in the table below.

      Standard Resistance

      Tester Connection Condition Specified Condition
      Relay terminal 1 - 2C-22 Always Below 1 Ω
      2C-22 - Body ground Always 10 kΩ or higher

    NG → REPAIR OR REPLACE HARNESS OR CONNECTOR 

    OK: Go to next step 

  10. INSPECT INSTRUMENT PANEL JUNCTION BLOCK ASSEMBLY 
    1. Remove the instrument panel junction block assembly.
      Fig 4: Identifying Instrument Panel Junction Block Assembly Connector Terminals
      GTY214525Courtesy of © TOYOTA, LICENSE AGREEMENT TMS1002
    2. Measure the resistance according to the value(s) in the table below.

      Standard Resistance

      Tester Connection Condition Specified Condition
      2C-22 - A-22 (DIM) Always Below 1 Ω
      2C-22 - Body ground Always 10 kΩ or higher
      TEXT IN ILLUSTRATION

      *1 Component without harness connected
      (Instrument Panel Junction Block Assembly)

    NG → REPLACE INSTRUMENT PANEL JUNCTION BLOCK ASSEMBLY 

    OK → See step   12 

  11. PROCEED TO NEXT SUSPECTED AREA SHOWN IN PROBLEM SYMPTOMS TABLE. Refer to  PROBLEM SYMPTOMS TABLE 
  12. REPLACE MAIN BODY ECU (MULTIPLEX NETWORK BODY ECU). Refer to  REMOVAL 
  13. GO TO PROBLEM SYMPTOMS TABLE. Refer to  PROBLEM SYMPTOMS TABLE