LEMON Manuals: Even more car manuals for everyone: 1960-2025
Home >> Toyota >> 2013 >> Prius Plug-in >> Repair and Diagnosis >> External Pages >> Different variant/trim >> Section 129 (Lighting System (Diagnostic Codes & Circuit Tests) (Except Plug-In)) >> Lighting System >> DTC B2416: Height Control Sensor Malfunction >> Procedure
April 5, 2026: LEMON Manuals is launched! Read the announcement.

DTC B2416: Height Control Sensor Malfunction: Procedure

WARNING: This page is about a different variant/trim than selected.
  1. CHECK FOR DTC 
    1. Clear the DTCs. Refer to DTC CHECK / CLEAR .
    2. Check for DTCs. Refer to DTC CHECK / CLEAR .

      OK

      DTC B2416 is not output.

    NG → See step   2 

    OK → See step   7 

  2. READ VALUE USING TECHSTREAM 
    1. Connect the Techstream to the DLC3.
    2. Turn the power switch on (IG).
    3. Turn the Techstream on.
    4. Enter the following menus: Body Electrical / HL Auto Leveling / Data List.
    5. Read the display on the Techstream.
      HL AUTO LEVELING

      Tester Display Measurement Item/Range Normal Condition Diagnostic Note
      Height Sens Pw Supply Val Rear height control sensor power supply value / 0 to 5.00 V Approx. 5.0 V -

      OK

      Normal condition listed above is displayed.

    NG → See step   3 

    OK → See step   5 

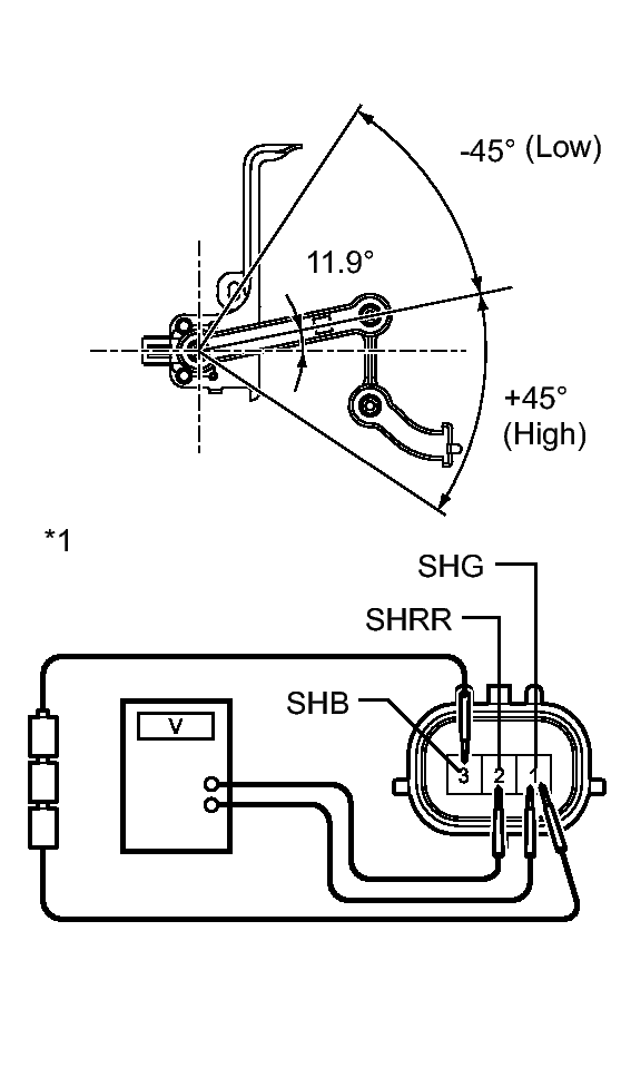
  3. INSPECT REAR HEIGHT CONTROL SENSOR SUB-ASSEMBLY RH 
    1. Connect 3 dry cell batteries (1.5 V) in series.
      Fig 1: Inspecting Rear Height Control Sensor Sub-Assembly RH
      GTY233292Courtesy of © TOYOTA, LICENSE AGREEMENT TMS1002
    2. Remove the rear height control sensor sub-assembly RH. Refer to REMOVAL .
    3. Connect the positive (+) lead from the batteries to terminal 3 (SHB) and the negative (-) lead from the batteries to terminal 1 (SHG).
    4. Measure the voltage between terminals 2 (SHRR) and 1 (SHG) while slowly moving the link up and down.

      Standard Voltage

      Tester Connection Condition Specified Condition
      2 (SHRR) - 1 (SHG) +45° (High) 4.05 V
      11.9° (Normal) 2.25 V
      -45° (Low) 0.45 V
      TEXT IN ILLUSTRATION

      *1 Component without harness connected
      (Rear Height Control Sensor Sub-assembly RH)

    NG → See step   6 

    OK: Go to next step 

  4. CHECK HARNESS AND CONNECTOR (HEADLIGHT LEVELING ECU ASSEMBLY - HEIGHT CONTROL SENSOR) 
    1. Disconnect the A48 headlight leveling ECU assembly connector.
    2. Disconnect the S3 rear height control sensor sub-assembly RH connector.
    3. Measure the resistance according to the value(s) in the table below.

      Standard Resistance

      Tester Connection Condition Specified Condition
      A48-12 (SBR) - S3-3 (SHB) Always Below 1 Ω
      A48-19 (SHRL) - S3-2 (SHRR) Always Below 1 Ω
      A48-21 (SGR) - S3-1 (SHG) Always Below 1 Ω
      A48-12 (SBR) - Body ground Always 10 kΩ or higher
      A48-19 (SHRL) - Body ground Always 10 kΩ or higher
      A48-21 (SGR) - Body ground Always 10 kΩ or higher

    NG → REPAIR OR REPLACE HARNESS OR CONNECTOR 

    OK → See step   5 

  5. REPLACE HEADLIGHT LEVELING ECU ASSEMBLY. Refer to  REMOVAL 
  6. REPLACE REAR HEIGHT CONTROL SENSOR SUB-ASSEMBLY RH. Refer to  REMOVAL 
  7. USE SIMULATION METHOD TO CHECK. Refer to  HOW TO PROCEED WITH TROUBLESHOOTING