LEMON Manuals: Even more car manuals for everyone: 1960-2025
Home >> Toyota >> 2013 >> Prius Plug-in >> Repair and Diagnosis >> External Pages >> Different variant/trim >> Section 129 (Lighting System (Diagnostic Codes & Circuit Tests) (Except Plug-In)) >> Lighting System >> DTC B2430: LED Headlight LH Circuit Malfunction; DTC B2431: LED Headlight RH Circuit Malfunction >> Wiring Diagram
April 5, 2026: LEMON Manuals is launched! Read the announcement.

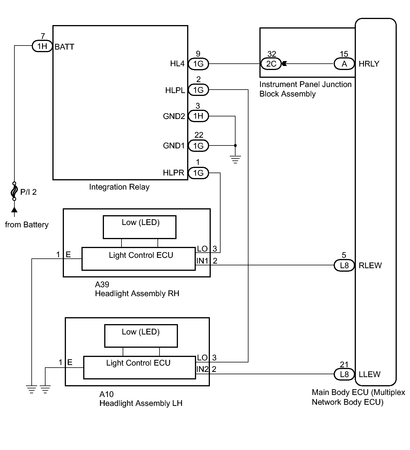
DTC B2430: LED Headlight LH Circuit Malfunction; DTC B2431: LED Headlight RH Circuit Malfunction: Wiring Diagram

WARNING: This page is about a different variant/trim than selected.
Fig 1: Identifying LED Headlight Circuit Wiring Diagram
GTY235703Courtesy of © TOYOTA, LICENSE AGREEMENT TMS1002