LEMON Manuals: Even more car manuals for everyone: 1960-2025
Home >> Toyota >> 2013 >> Prius Two >> Repair and Diagnosis (Single Page) >> Accessories & Equipment >> Cruise Control Systems >> Cruise Control System (Diagnostic Codes & Circuit Tests) (Except Plug-In) >> Cruise Control System >> Circuit Tests >> Cruise Control Switch Circuit >> Procedure
April 5, 2026: LEMON Manuals is launched! Read the announcement.

Cruise Control Switch Circuit: Procedure

  1. READ VALUE USING TECHSTREAM 
    1. Connect the Techstream to the DLC3.
      Fig 1: Identifying Cruise Control Main Switch Operation
      GTY245868Courtesy of © TOYOTA, LICENSE AGREEMENT TMS1002
    2. Turn the power switch on (IG).
    3. Turn the Techstream on.
    4. Enter the following menus: Powertrain / Cruise Control / Data List.
    5. Check the Data List for proper functioning of the cruise control main switch.
      CRUISE CONTROL (POWER MANAGEMENT CONTROL ECU)

      Techstream Display Measurement Item/Range Normal Condition Diagnostic Note
      Main SW M-CPU Cruise control switch (Main CPU) / ON or OFF ON: Cruise main switch on
      OFF: Cruise main switch off
      -
      Cancel Switch CANCEL switch signal / ON or OFF ON: CANCEL switch on
      OFF: CANCEL switch off
      -
      SET/COAST Switch - SET switch signal / ON or OFF ON: - SET switch on
      OFF: - SET switch off
      -
      RES/ACC Switch + RES switch signal / ON or OFF ON: + RES switch on
      OFF: + RES switch off
      -
      TEXT IN ILLUSTRATION

      *1 ON/OFF
      *2 - SET
      *3 + RES
      *4 CANCEL

      OK

      When the cruise control main switch is operated, the display changes as shown above.

      RESULT

      Result Proceed to
      OK A
      NG (All items are defective) B
      NG (1 to 3 items are defective) C

    B → See step   2 

    C → See step   8 

    A → See step   7 

  2. INSPECT CRUISE CONTROL MAIN SWITCH 
    1. Remove the cruise control main switch. Refer to REMOVAL .
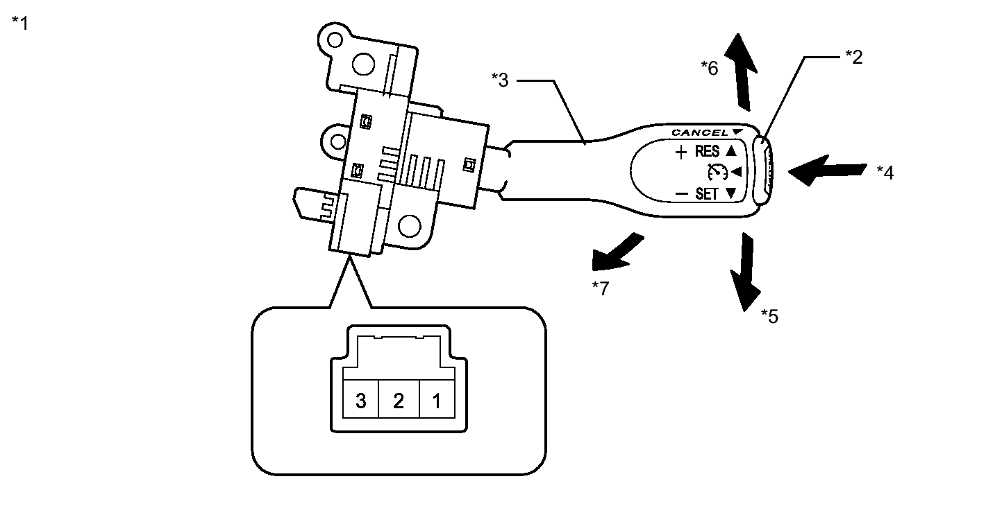
      Fig 2: Identifying Cruise Control Main Switch
      GTY227681Courtesy of © TOYOTA, LICENSE AGREEMENT TMS1002
    2. Measure the resistance according to the value(s) in the table below.

      Standard Resistance

      Tester Connection Switch Condition Specified Condition
      1 - 3 Main switch off 1 MΩ or higher
      Main switch on Below 2.5 Ω
      + RES 235 to 245 Ω
      - SET 617 to 643 Ω
      CANCEL 1509 to 1571 Ω
      TEXT IN ILLUSTRATION

      *1 Component without harness connected
      (Cruise Control Main Switch)
      *2 Main Switch
      *3 Lever *4 ON-OFF
      *5 - SET *6 + RES
      *7 CANCEL - -
    3. Install the cruise control main switch. Refer to INSTALLATION .

    NG → See step   8 

    OK: Go to next step 

  3. CHECK HARNESS AND CONNECTOR (CRUISE CONTROL MAIN SWITCH - SPIRAL CABLE SUB-ASSEMBLY) 
    1. Disconnect the connector from the spiral with sensor cable sub-assembly.
      Fig 3: Checking Harness & Connector (Cruise Control Main Switch - Spiral Cable Sub-Assembly)
      GTY230895Courtesy of © TOYOTA, LICENSE AGREEMENT TMS1002
    2. Disconnect the connector from the cruise control main switch.
    3. Measure the resistance according to the value(s) in the table below.

      Standard Resistance (Check for Open)

      Tester Connection Condition Specified Condition
      Cruise control main switch side connector terminal 3 - z10-3 Always Below 1 Ω
      Cruise control main switch side connector terminal 1 - z10-4 Always Below 1 Ω
      TEXT IN ILLUSTRATION

      *1 Front view of wire harness connector
      (to Spiral with Sensor Cable Sub-assembly)
      *2 Front view of wire harness connector
      (to Cruise Control Main Switch)
    4. Reconnect the connector to the cruise control main switch.
    5. Reconnect the connector to the spiral with sensor cable sub-assembly.

    NG → REPAIR OR REPLACE HARNESS OR CONNECTOR (CRUISE CONTROL MAIN SWITCH - SPIRAL CABLE SUB-ASSEMBLY) 

    OK: Go to next step 

  4. CHECK SPIRAL WITH SENSOR CABLE SUB-ASSEMBLY 
    NOTE:

    The spiral with sensor cable sub-assembly is an important part of the SRS airbag system. Incorrect removal or installation of the spiral with sensor cable sub-assembly may cause airbag deployment. Be sure to read information shown in the brackets.

    1. Remove the spiral with sensor cable sub-assembly. Refer to REMOVAL .
      Fig 4: Checking Spiral With Sensor Cable Sub-Assembly
      GTY218328Courtesy of © TOYOTA, LICENSE AGREEMENT TMS1002
    2. Measure the resistance according to the value(s) in the table below.

      Standard Resistance

      Tester Connection Condition Specified Condition
      z10-3 - L52-1 (CCS) The spiral with sensor cable sub-assembly is centered Below 1 Ω
      The spiral with sensor cable sub-assembly position is 2.5 rotations to the left
      The spiral with sensor cable sub-assembly position is 2.5 rotations to the right
      z10-4 - L52-2 (ECC) The spiral with sensor cable sub-assembly is centered Below 1 Ω
      The spiral with sensor cable sub-assembly position is 2.5 rotations to the left
      The spiral with sensor cable sub-assembly position is 2.5 rotations to the right
      TEXT IN ILLUSTRATION

      *1 Component without harness connected
      (Spiral with Sensor Cable Sub-assembly)

      HINT: 

      The spiral with sensor cable sub-assembly makes a maximum of approximately 5 rotations.

    3. Remove the spiral with sensor cable sub-assembly. Refer to REMOVAL .

    NG → See step   9 

    OK: Go to next step 

  5. CHECK HARNESS AND CONNECTOR (SPIRAL CABLE SUB-ASSEMBLY - POWER MANAGEMENT CONTROL ECU) 
    1. Disconnect the power management control ECU connector.
    2. Disconnect the spiral with sensor cable sub-assembly connector.
    3. Measure the resistance according to the value(s) in the table below.

      Standard Resistance (Check for Open)

      Tester Connection Condition Specified Condition
      L52-1 (CCS) - L6-22 (CCS) Always Below 1 Ω

      Standard Resistance (Check for Short)

      Tester Connection Condition Specified Condition
      L52-1 (CCS) or L6-22 (CCS) - Body ground Always 10 kΩ or higher
    4. Reconnect the spiral with sensor cable sub-assembly connector.
    5. Reconnect the power management control ECU connector.

    NG → REPAIR OR REPLACE HARNESS OR CONNECTOR (SPIRAL CABLE SUB-ASSEMBLY - POWER MANAGEMENT CONTROL ECU) 

    OK: Go to next step 

  6. CHECK HARNESS AND CONNECTOR (SPIRAL WITH SENSOR CABLE SUB-ASSEMBLY - BODY GROUND) 
    1. Disconnect the spiral with sensor cable sub-assembly connector.
      Fig 5: Identifying Wire Harness Connector To Spiral With Sensor Cable Sub-Assembly
      GTY222665Courtesy of © TOYOTA, LICENSE AGREEMENT TMS1002
    2. Measure the resistance according to the value(s) in the table below.

      Standard Resistance (Check for Open)

      Tester Connection Condition Specified Condition
      L52-2 (ECC) - Body ground Always Below 1 Ω
      TEXT IN ILLUSTRATION

      *1 Front view of wire harness connector
      (to Spiral with Sensor Cable Sub-assembly)
    3. Reconnect the spiral with sensor cable sub-assembly connector.

    NG → REPAIR OR REPLACE HARNESS OR CONNECTOR (SPIRAL WITH SENSOR CABLE SUB-ASSEMBLY - BODY GROUND) 

    OK → See step   10 

  7. PROCEED TO NEXT SUSPECTED AREA SHOWN IN PROBLEM SYMPTOMS TABLE. Refer to  PROBLEM SYMPTOMS TABLE 
  8. REPLACE CRUISE CONTROL MAIN SWITCH. Refer to  REMOVAL 
  9. REPLACE SPIRAL WITH SENSOR CABLE SUB-ASSEMBLY. Refer to  REMOVAL 
  10. REPLACE POWER MANAGEMENT CONTROL ECU. Refer to  REMOVAL