LEMON Manuals: Even more car manuals for everyone: 1960-2025
Home >> Toyota >> 2013 >> Prius Two >> Repair and Diagnosis (Single Page) >> Accessories & Equipment >> Cruise Control Systems >> Dynamic Radar Cruise Control System (Diagnostic Codes & Circuit Tests) (Except Plug-In) >> Dynamic Radar Cruise Control System >> Circuit Tests >> Cruise Control Switch Circuit >> Procedure
April 5, 2026: LEMON Manuals is launched! Read the announcement.

Cruise Control Switch Circuit: Procedure

  1. INSPECT CRUISE CONTROL MAIN SWITCH 
    1. Remove the cruise control main switch. Refer to REMOVAL .
      Fig 1: Identifying Multifunction Lever
      GTY230344Courtesy of © TOYOTA, LICENSE AGREEMENT TMS1002
      TEXT IN ILLUSTRATION

      *1 Component without harness connected
      (Cruise Control Main Switch)
      *2 ON-OFF
      *3 CANCEL *4 -SET
      *5 +RES *6 MODE
    2. Measure the resistance according to the value(s) in the table below.

      Standard Resistance

      Tester Connection Switch Condition Specified Condition
      1 - 2
      1 - 3
      Main switch off 1 MΩ or higher
      1 - 3 Main switch on Below 2.5 Ω
      1 - 2 MODE Below 2.5 Ω
      1 - 3 + RES 235 to 245 Ω
      1 - 3 - SET 617 to 643 Ω
      1 - 3 CANCEL 1509 to 1571 Ω
    3. Reinstall the cruise control main switch. Refer to INSTALLATION .

    NG → See step   7 

    OK: Go to next step 

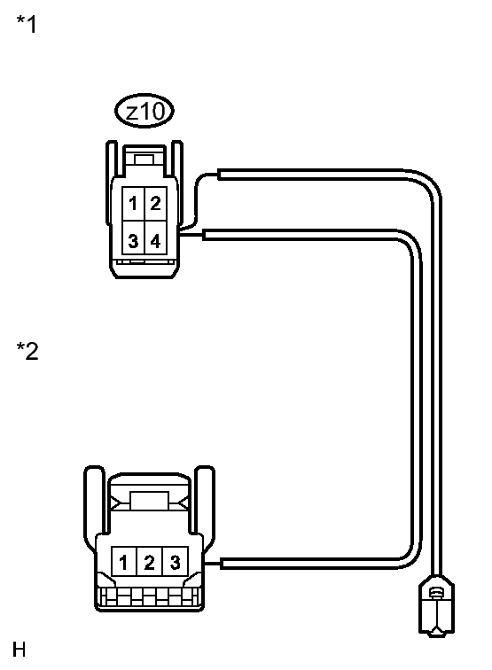
  2. CHECK HARNESS AND CONNECTOR (SPIRAL CABLE - CRUISE CONTROL MAIN SWITCH) 
    1. Disconnect the connector from the spiral with sensor cable sub-assembly.
      Fig 2: Checking Harness & Connector (Spiral Cable - Cruise Control Main Switch)
      GTY230894Courtesy of © TOYOTA, LICENSE AGREEMENT TMS1002
    2. Disconnect the connector from the cruise control main switch.
    3. Measure the resistance according to the value(s) in the table below.

      Standard Resistance (Check for Open)

      Tester Connection Condition Specified Condition
      Cruise control main switch side connector terminal 1 - z10-4 Always Below 1 Ω
      Cruise control main switch side connector terminal 2 - z10-1 Always Below 1 Ω
      Cruise control main switch side connector terminal 3 - z10-3 Always Below 1 Ω
      TEXT IN ILLUSTRATION

      *1 Front view of wire harness connector
      (to Spiral with Sensor Cable Sub-assembly)
      *2 Front view of wire harness connector
      (to Cruise Control Main Switch)
    4. Reconnect the connector to the spiral with sensor cable sub-assembly.
    5. Reconnect the connector to the cruise control main switch.

    NG → REPAIR OR REPLACE HARNESS OR CONNECTOR (SPIRAL CABLE SUB-ASSEMBLY - CRUISE CONTROL MAIN SWITCH) 

    OK: Go to next step 

  3. INSPECT SPIRAL WITH SENSOR CABLE SUB-ASSEMBLY 
    NOTE:

    The spiral with sensor cable sub-assembly is an important part of the SRS airbag system. Incorrect removal or installation of the spiral with sensor cable sub-assembly may cause airbag deployment. Be sure to read information shown in the brackets.

    1. Remove the spiral with sensor cable sub-assembly. Refer to REMOVAL .
      Fig 3: Inspecting Spiral With Sensor Cable Sub-Assembly
      GTY233462Courtesy of © TOYOTA, LICENSE AGREEMENT TMS1002
    2. Measure the resistance according to the value(s) in the table below.

      Standard Resistance (Check for Open)

      Tester Connection Condition Specified Condition
      z10-1 - L52-7 (R/N) The spiral with sensor cable sub-assembly is centered Below 1 Ω
      The spiral with sensor cable sub-assembly position is 2.5 rotations to the left
      The spiral with sensor cable sub-assembly position is 2.5 rotations to the right
      z10-3 - L52-1 (CCS) The spiral with sensor cable sub-assembly is centered Below 1 Ω
      The spiral with sensor cable sub-assembly position is 2.5 rotations to the left
      The spiral with sensor cable sub-assembly position is 2.5 rotations to the right
      z10-4 - L52-2 (ECC) The spiral with sensor cable sub-assembly is centered Below 1 Ω
      The spiral with sensor cable sub-assembly position is 2.5 rotations to the left
      The spiral with sensor cable sub-assembly position is 2.5 rotations to the right
      TEXT IN ILLUSTRATION

      *1 Component without harness connected
      (Spiral with Sensor Cable Sub-assembly)

      HINT: 

      The spiral with sensor cable sub-assembly makes a maximum of approximately 5 rotations.

    3. Install the spiral with sensor cable sub-assembly. Refer to INSTALLATION .

    NG → See step   8 

    OK: Go to next step 

  4. CHECK HARNESS AND CONNECTOR (SPIRAL WITH SENSOR CABLE SUB-ASSEMBLY - DRIVING SUPPORT ECU) 
    1. Disconnect the driving support ECU connector.
    2. Disconnect the spiral with sensor cable sub-assembly connector.
    3. Measure the resistance according to the value(s) in the table below.

      Standard Resistance (Check for Open)

      Tester Connection Condition Specified Condition
      L60-23 (CCS) - L52-1 (CCS) Always Below 1 Ω
      L60-10 (CCHG) - L52-7 (R/N) Always Below 1 Ω

      Standard Resistance (Check for Short)

      Tester Connection Condition Specified Condition
      L60-23 (CCS) or L52-1 (CCS) - Body ground Always 10 kΩ or higher
      L60-10 (CCHG) or L52-7 (R/N) - Body ground Always 10 kΩ or higher
    4. Reconnect the driving support driving support ECU connector.
    5. Reconnect the spiral with sensor cable sub-assembly connector.

    NG → REPAIR OR REPLACE HARNESS OR CONNECTOR (SPIRAL WITH SENSOR CABLE SUB-ASSEMBLY - DRIVING SUPPORT ECU) 

    OK: Go to next step 

  5. CHECK HARNESS AND CONNECTOR (SPIRAL WITH SENSOR CABLE SUB-ASSEMBLY - BODY GROUND) 
    1. Disconnect the spiral with sensor cable sub-assembly connector.
      Fig 4: View Of Wire Harness Connector To Spiral With Sensor Cable Sub-Assembly
      GTY222576Courtesy of © TOYOTA, LICENSE AGREEMENT TMS1002
    2. Measure the resistance according to the value(s) in the table below.

      Standard Resistance (Check for Open)

      Tester Connection Condition Specified Condition
      L52-2 (ECC) - Body ground Always Below 1 Ω
      TEXT IN ILLUSTRATION

      *1 Front view of wire harness connector
      (to Spiral with Sensor Cable Sub-assembly)
    3. Reconnect the spiral with sensor cable sub-assembly connector.

    NG → REPAIR OR REPLACE HARNESS OR CONNECTOR (SPIRAL WITH SENSOR CABLE SUB-ASSEMBLY - BODY GROUND) 

    OK → See step   6 

  6. PROCEED TO NEXT SUSPECTED AREA SHOWN IN PROBLEM SYMPTOMS TABLE. Refer to  PROBLEM SYMPTOMS TABLE 
  7. REPLACE CRUISE CONTROL MAIN SWITCH. Refer to  REMOVAL 
  8. REPLACE SPIRAL WITH CABLE SUB-ASSEMBLY. Refer to  REMOVAL